2025 Vol. 51, No. 1

Display Method:
Volume 1 Issue E-journal
Volume 51 Issue12025
iconDownload (40462) 948 iconPreview
Aircraft position verification with one satellite based on Doppler shift change
LIU Haitao, FENG Jingbo, LI Dongxia, WANG Lei
2025, 51(1): 1-8. doi: 10.13700/j.bh.1001-5965.2022.1024
Abstract:

Satellite-based automatic dependent surveillance-broadcast (ADS-B) is an important technology for wide-area aircraft surveillance. To solve the problem of false target interference existing in the satellite-based ADS-B system, a position verification method with one satellite based on Doppler shift change was proposed. First, the system model of satellite-based ADS-B was presented. Then, the formula for the Doppler shift change of aerospace link was theoretically provided. Furthermore, the Kolmogorov-Smirnoff (k-s) test was used to verify the authenticity of the ADS-B position message. Finally, the correctness and effectiveness of the proposed scheme were verified by computer simulation. The simulation results show that the probability of detection of the proposed method is more than 97.75%, and the false dismissal probability is less than 4.50%. In addition, only one low-orbit satellite is required for monitoring, and it is not sensitive to positioning errors of aircraft and satellites.

Railway foreign objects tracking detection based on spatial location and feature generalization enhancement
CHEN Yong, WANG Zhen, ZHOU Fangchun
2025, 51(1): 9-18. doi: 10.13700/j.bh.1001-5965.2022.0974
Abstract:

There are factors of complex environments, target occlusion, and others. These factors lead to the lack of detection and low detection accuracy of existing depth learning foreign object tracking algorithms.A railway foreign object tracking technique based on spatial location and feature generalization enhancement is proposed to address the issues with the current deep learning video tracking system. The multi-scale cascaded GhostNet network is used to improve the feature extraction ability of the model. The infrared features are enhanced by spatial location and feature generalization module. The module combined with infrared foreign object spatial location and generalization morphology.The detection accuracy of the network is enhanced. The detection anchor size, target kind, and confidence of infrared railway foreign materials are obtained by using the pyramid prediction network. The DeepSORT tracking algorithm which improved category and confidence combined with Kalman filtering and the Hungarian algorithm is used to track railway foreign objects in an infrared weak light environment. The experimental results show that the tracking precision of the proposed algorithm for infrared targets reaches 83.3%, and the average detection rate of the proposed method is 11.3 frames per second. Compared with the comparison method, the proposed algorithm has good performance for tracking railway foreign objects in infrared weak light scenes.

Two-branch real-time semantic segmentation algorithm based on spatial information guidance
HOU Zhiqiang, DAI Nan, CHENG Minjie, LI Fucheng, MA Sugang, FAN Jiulun
2025, 51(1): 19-29. doi: 10.13700/j.bh.1001-5965.2022.0980
Abstract:

In view of feature spatial information loss caused by the reduction of a large number of parameters in the real-time semantic segmentation model and inaccurate segmentation category prediction caused by the lack of context information of features, a two-branch real-time semantic segmentation algorithm based on spatial information guidance was proposed. In order to better retain the spatial information, the algorithm used a two-branch structure to obtain the spatial and semantic information of features, respectively. A spatial guided module (SGM) was designed to capture the local information and the surrounding context information of the features and give higher weight to the important information through channel weighting, which effectively made up for the image information loss of high-resolution features in the process of downsampling. A pooling feature enhancement module (PFEM) was designed to further enhance the ability of context information characterization of features. Pooling cores of different sizes were used to capture multi-scale feature information, and the long-distance dependence relationship between the features was modeled by strip-shaped pooling cores.The category of the segmentation region was better determined. The proposed algorithm was verified on Cityscapes and CamVid datasets, and the mean intersection over union reached 77.4% and 74.0%, respectively. The detection speed reached 49.1 frames per second and 124.5 frames per second, respectively, which effectively improved the accuracy and achieved good semantic segmentation performance while ensuring real-time segmentation.

Combined prediction method of flight delay based on attention-based adaptive graph convolution-gated recurrent unit
LIU Xiaolin, GUO Mengjiao, LI Zhuo
2025, 51(1): 30-42. doi: 10.13700/j.bh.1001-5965.2022.0990
Abstract:

Aiming at the problem of the difficult extraction of spatio-temporal dynamic correlation of flight delay data in a flight delay prediction model, a type of flight delay prediction model based on an attention-based adaptive graph convolution-gated recurrent unit (AAGC-GRU) is proposed. Firstly, the airport network topology graph is constructed with the airport as the node. When combined with the spatial attention mechanism and adaptive graph convolution, it improves the model’s autonomous mining of the spatial dynamic correlation of the airport network and compensates for the over-reliance of graph convolution on prior knowledge. Secondly, GRU was used to obtain the temporal dependence of historical flight delay data, and the time attention mechanism was introduced to automatically allocate the influence weight of data at different time steps, so as to fully capture the impact degree of data at different moments. Then, the fully connected layer is used to obtain the flight delay prediction results. Finally, the experiments are conducted on the on-time departure rate dataset of the American large airport network. In terms of mean absolute error, root mean square error, and mean absolute percentage error, the AAGC-GRU model outperforms the gradient boosting regression tree, gated recurrent unit model, spatio-temporal graph convolutional neural network, and other baseline models.

Configurable fault injection detection method for RISC-V based on instruction extension
LIU Qiang, LI Yike
2025, 51(1): 43-52. doi: 10.13700/j.bh.1001-5965.2022.0995
Abstract:

For data flow errors caused by fault attacks during processor operation, this paper designed a configurable fault injection detection method based on RISC-V processor microarchitecture. Based on the RISC-V instruction set architecture, this method took advantage of its expandability to add custom arithmetic logic instructions with mode configuration and control and state registers and realized the arithmetic logic operation and fault detection simultaneously by the combination of hardware and software. At the software level, configuration information was written to the customized control and state register by register access instructions to configure the fault detection modes of the customized instructions, including information and temporal redundancy modes and their parameters. At the hardware level, a RISC-V processor microarchitecture supporting configurable fault injection detection was implemented. Finally, the simulator command was used to simulate the fault injection, and the functional correctness and fault injection detection capability of the extended RISC-V processor were verified. The experimental results show that compared to the single information redundancy method, when the information redundancy mode and temporal redundancy mode are applied with the same frequency, the proposed configurable method improves the average fault detection rate by 13.34% with an average resource overhead of 4.4%. Compared to the single temporal redundancy method, it reduces the average time overhead by 8.24% with a 13.33% decrease in fault detection rate. The proposed configurable method can achieve a compromise between fault detection rate and time overhead and be applied in application scenarios with different security and performance requirements.

Simulation and analysis of SPH algorithm for interaction of aircraft tire-wet pavement
CAI Jing, HUANG Yudai, LI Qi, LI Yue, DAI Xuan
2025, 51(1): 53-62. doi: 10.13700/j.bh.1001-5965.2022.0954
Abstract:

In view of aircraft hydroplaning on wet and slippery pavement, a finite element model of aircraft tire-wet pavement was established by using the smoothed particle hydrodynamics (SPH) algorithm and compared with the coupled Eulerian-Lagrangian (CEL) model, which highlighted the superiority of SPH algorithm. Then, the influence of different tire speeds and water film thickness on the interaction between tire and wet pavement was analyzed. The results show that the difference between the critical hydroplaning speeds obtained by the SPH algorithm model and the CEL model is less than 5%. The fluid characteristics such as bow wave and lateral plume are more obvious. The average computing efficiency of the SPH model is 36.5% higher than that of the CEL model. Then, the SPH model is used to analyze and get the following conclusions: the pavement supporting force decreases gently at first and then rapidly with the increase in speed. When the thickness of accumulated water is 3–13 mm, the speed range of the rapidly decreasing section is 170–260 km/h, which is basically within the landing and taxiing speed range of A320 aircraft, and the prevention of the risk of hydroplaning accidents should be strengthened. The displacement resistance increases at first and then decreases with the increase in speed, and the maximum value is obtained when the tire reaches the critical hydroplaning speed. Then, a method of determining the critical hydroplaning speed by using the maximum value of displacement resistance is put forward. The maximum splashing height of the lateral plume increases at first and then decreases with the increase in speed and reaches a maximum value when approaching the critical hydroplaning speed. The maximum splashing height of the bow wave is lower than that of the lateral plume and decreases with increasing speed. When the critical hydroplaning speed is reached, the bow wave almost disappears. The maximum splashing height values of both splashing characteristics are lower than the minimum ground height of 0.680 m for the A320 aircraft engine and will not affect the engine.

Self-adjusting graph convolution UNet method for 3D human pose estimation
MA Jinlin, CUI Qilei, MA Ziping, WU Jiangtao, CAO Haojie
2025, 51(1): 63-74. doi: 10.13700/j.bh.1001-5965.2022.0969
Abstract:

A few issues with the graph convolutional network-based 3D human pose estimation technique include the shared weight of all nodes, the incapacity to extract the multi-scale properties of the nodes, and the failure to take advantage of the topological relationships between neighboring nodes. In this paper, self-adjusting graph convolution UNet method for 3D human pose estimation (M-Joint-UNet) is proposed. M-Joint-UNet is composed of three parts: Joint-UNet, self-adjusting graph convolution, and fusion loss. Joint-UNet changes the size of the feature map through node pooling and unpooling to extract features of different scales of nodes. Self-adjusting graph convolution uses L1 and L2 fusion to mitigate gradient explosions and automatically modifies the relationship between neighboring nodes or the human skeletal structure using a learnable matrix. Comparative experiments show that the proposed method obtains optimal results in terms of the number of parameters and the estimation performance. With the 2D ground truth of Human3.6M as the input, the number of parameters is only 0.54×106, and the MPJPE and P-MPJPE values are 37.81 mm and 30.21 mm, respectively.

An attribute reduction algorithm of weighting neighborhood rough sets with Critic method
WU Shangzhi, REN Yixuan, GE Shuyue, WANG Litai, WANG Zhining
2025, 51(1): 75-84. doi: 10.13700/j.bh.1001-5965.2022.0975
Abstract:

Compared with classical rough sets, neighborhood rough sets can process non-discrete and high-dimensional data, and get simplified data without reducing the ability of data processing. An attribute reduction approach of weighting neighborhood rough sets using the Critic method is proposed, aiming at the problem that every attribute in neighborhood rough sets has the same weight and every attribute has varied influence on decision making. Firstly, the Critic method is used to weigh the conditional attributes, the weighted distance function is introduced to calculate the neighborhood relationship, and then the weighted neighborhood relationship is obtained. Secondly, the weighted neighborhood rough sets are constructed, the attribute dependency and importance are used to evaluate the importance of the subset, the isometric search is used to find the best threshold, attribute reduction is carried out, and the optimal attribute subset is found.Finally, the experimental verification is carried out with 10 data sets in the UCI database, and the performance of the attribute reduction algorithm is compared with that of traditional neighborhood rough sets.The outcomes of the experiment demonstrate that the algorithm is able to guarantee the classification accuracy of the reduced data in addition to obtaining the minimum attribute reduction set.It has effectiveness and practical application value.

Parallel MRI reconstruction by using complex convolution and attention mechanism
DUAN Jizhong, XIAO Chen
2025, 51(1): 85-93. doi: 10.13700/j.bh.1001-5965.2022.1005
Abstract:

for the reconstruction of parallel magnetic resonance imaging, a deep complex attention network (DCANet) model is proposed. A data consistency layer is used to maintain acquired k-space data unchanged, and a cascade network is formed. Additionally, since magnetic resonance images of multiple coils differ, the proposed model also uses a channel-wise attention mechanism to focus on channels with more effective features. All of these techniques are used to replace the conventional method of convolving real and imaginary parts separately in complex convolution. Experiments are conducted on two different magnetic resonance imaging datasets with three different undersampling patterns. According to the experimental findings, the DCANet model performs better during reconstruction and achieves lower high-frequency error norm (HFEN) and greater peak signal-to-noise ratio (PSNR) and structural similarity (SSIM). The DCANet model achieves average PSNR improvements of 4.52 dB, 2.30 dB and 1.21 dB over MRI cascaded channel-wise attention network (MICCAN), Deepcomplex and DONet models, respectively.

Analysis of compression stability and load capacity of thick composite plate structures
WANG Chunshou, ZHANG Xiaoyu, ZHAN Zhixin, XIAO Hao
2025, 51(1): 94-101. doi: 10.13700/j.bh.1001-5965.2022.0991
Abstract:

The compression stability of composite thick plates was studied. Firstly, the compression test was carried out on the thick plate structure of the composite fuselage. It was found that the bottom skin of the stringer was buckling first, and the stringer did not play the role of wave isolation. Secondly, the finite element linear and nonlinear analysis methods were carried out on the structure. The he buckling characteristics was verified. Finally, the stability analysis method was revised according to the test and analysis results. The buckling load and bearing capacity calculated by the modified analysis method were more accurate. A new method for buckling analysis and load-bearing capacity calculation of composite thick plate structures was established.

Analysis of high load injury of thoracolumbar spine in pilots during ejection process
PEI Huining, CHEN Yunfeng, BAI Zhonghang, SUN Jiali, WU Meng, SHAO Xingchen
2025, 51(1): 102-112. doi: 10.13700/j.bh.1001-5965.2022.0957
Abstract:

In an attempt to accurately analyze high load, the finite element model established by clinical CT data was unable to capture the fine geometric features and heterogeneous properties of vertebrae, leading to an inaccurate analysis of the high rate of thoracolumbar spine injuries on fighter pilots during ejection. A finite element model of the thoracolumbar spine (T12-L2) was constructed based on nonlinear finite element, which represents the cortical thickness, cortical density, and cancellous bone density of specific-objects, to analyze the biomechanics of high load on the thoracolumbar spines of pilots during ejection. The object-specific finite element model was constructed based on the CT data of the thoracolumbar spine, and the cortical bone thickness and density values obtained from cortical bone mapping (CBM) were incorporated into the CT-based finite element modeling process of the thoracolumbar spine, and the elastic modulus of each element was calculated according to the Hounsfield units (HU) value to realize the heterogeneous assignment of material. By using the same loads and boundary conditions as those found in published in vitro studies, the model's correctness was confirmed. A Additionally, a simulation and computation were made of the biomechanical reaction of the thoracolumbar spine brought on by the ejection load in the upright, flexion, and extension physiological motion situations. The results showed that the vertebral load transfer characteristics were significantly different among the three different physiological motion conditions subjected to ejection loading, with the upright physiological motion conditions resulting in the least amount of direct acute injury to the vertebrae from the high load.

Method for function determination of GEO spin stabilized objects by ground-based photometric data
WANG Yang, HU Min, DU Xiaoping, XU Can
2025, 51(1): 113-119. doi: 10.13700/j.bh.1001-5965.2022.0985
Abstract:

The spin period of geosynchronous earth orbit (GEO) spin stabilized objects has a strong correlation with its ground-based photometric data period and functional attributes. With the spin period of the object as a bridge, the function determination of a GEO spin stabilized object can be realized by ground-based photometric data. The spin period and function correlation of the GEO spin stabilized objects that are still in orbit as of May 1, 2022 were analyzed. Based on different characteristics of their photometric data, the photometric data inversion method of the object’s spin period was proposed. By combining the correlation between spin period and its function, the function determination of the object by photometric data was further proposed, which could effectively improve the application benefit of ground-based photometric data and provide new ideas for space applications such as space object capability evaluation.

Blockchain copyright storage protocol based on short verifiable ring signature
WANG Jiechang, LIU Yuling, ZHANG Ping, LIU Muhua, WANG Xiaowei
2025, 51(1): 120-132. doi: 10.13700/j.bh.1001-5965.2022.1000
Abstract:

In the existing blockchain copyright storage systems, various ring signatures occupied too much storage space, and the efficiency of the data consensus algorithm needed to be improved. The public keys of the ring members were accumulated using a dynamic accumulator in order to solve these issues. Various algorithms were then designed, including initialization, system selection, key generation, signature generation, and signature verification, to create an ID-based short verifiable ring signature scheme with multiple private key generators (PKG). The credit threshold was set for the primary node selection, the maximum number of nodes allowed to participate in the consensus was reduced, and the existing consortium blockchain consensus algorithm was improved. Using the new ring signature scheme constructed and the improved consensus algorithm, a new blockchain copyright storage protocol was proposed. Finally, the unforgeability and anonymity of the signature scheme were formally proved. The consensus algorithm and fault tolerance of the system were assessed experimentally, and the computational effectiveness and storage capacity of the signature scheme were examined and simulated. The results show that the proposed protocol saves the signature time and storage space, and improves the consensus efficiency and fault tolerance.

Design and verification of airworthiness compliance of equivalent endurance test cycle of turbofan engine
TANG Xinhao, DOU Yingrui
2025, 51(1): 133-140. doi: 10.13700/j.bh.1001-5965.2022.0953
Abstract:

In order to optimize the endurance test cycle of the turbofan engine and reduce the number of triple red-line configuration modifications during the test, the equivalent design and compliance verification method of the endurance test cycle were studied. The damage characteristics of the original endurance test cycle and endurance test cycle at different stages were analyzed, and a design and verification method for the airworthiness compliance of the equivalent endurance test cycle based on the principle of equivalent damage was proposed to reduce the number of triple red-line configuration modifications. A simulated characteristic test piece was designed by taking the high-pressure turbine blade of a certain engine as an example. The proposed design and verification method for the airworthiness compliance of the equivalent endurance test cycle of a turbofan engine can be used as a reference for the optimization of the test cycle of the endurance airworthiness certification test of the whole engine, and the proposed design scheme of the simulated characteristic test piece can support the equivalent damage test of the simulated characteristic test piece.

Analysis and control of influencing factors of cross coupling of flexible gyro
CAI Yao, SI Yuhui, WANG Yuzhuo, DU Xin, YIN Lu
2025, 51(1): 141-151. doi: 10.13700/j.bh.1001-5965.2022.0968
Abstract:

Due to mechanical structure error and electrical interference, the produced flexible gyro has cross coupling. The influencing factors of cross coupling were analyzed, which were positioned as the perpendicularity of the iron core column of the differential inductance sensor and the circumferential deviation angle of the torquer coil. The error models of the sensor and torquer were established, and the influencing degree of each influencing factor on cross coupling was quantitatively analyzed. Precision assembly tools of the iron core column and coil were designed, and an adjustable design of torquer was carried out to control the cross coupling of the flexible gyro. The engineering practice shows that all the control methods achieve good results, and the cross coupling stability control is less than 1%, which has a positive significance for improving the measurement accuracy of the diagonal velocity of the flexible gyro and the navigation accuracy of the inertial navigation system.

Test research on icing characteristics of sensors and their influence laws
DING Liang, HU Zhanwei, GUO Xiangdong, SHI Yanan, YI Xian
2025, 51(1): 152-160. doi: 10.13700/j.bh.1001-5965.2022.1026
Abstract:

Icing detection is the premise and basis for the operation of aircraft icing protection systems, and it is the primary problem faced by icing protection. At present, the research on the probe icing process lacks the measured data, and the relevant laws need to be verified. Therefore, in order to simulate the real icing environment encountered by the aircraft more accurately, the large-scale icing wind tunnel was used to carry out experimental research on the icing characteristics of the sensor. A test method combining probe array distribution and ice shape repeatability verification was used, and online images, measured ice shape, and ice quality were utilized to reveal the detailed characteristics and changing rules of water droplets impacting the probe surface visually and quantitatively. The results show that the water collection coefficient on the cylinder surface of the probe first increases and then decreases along the axial direction, and there is an extreme point. The height of this point will gradually increase with the development of the wall boundary layer, and the variety ranges from 2 mm to 30 mm. In addition, each probe position has different sensitivity to changes in incoming flow parameters, and the points with higher icing quality and lower sensitivity to changes in attack angle will have better detection effects. The measured data and analysis in this paper can provide a basis for the accurate design of the sensor probe.

Manipulator force/position hybrid control based on staged adaptation
YIN Wenzhe, LIAN Dapeng, LI Kaiyue, ZHAO Guowei
2025, 51(1): 161-166. doi: 10.13700/j.bh.1001-5965.2022.0955
Abstract:

The requirements for the compliant control quality of the space manipulator are continuously improved in space manipulation tasks. Using a single control method is likely to cause large end contact force overshoot or dynamic deviation. This study proposes and implements a force/position hybrid control approach based on staged adaptation, which combines the advantages of adaptive impedance and adaptive admittance control systems. The method realizes separate control of force and position according to space and calculates the joint control torque based on the superposition of expected terminal acceleration in subspace. Because the expected force and the contact force are both 0 in the position space control, the same result as the adaptive control method can be obtained by directly using PD control. Adaptive admittance control is used in the force space control to realize the rapid transition from the initial position to the target position, and adaptive impedance control is used to realize the high-precision and stable control of the end when approaching the target position. The simulation results show that compared with the single use of adaptive impedance or adaptive admittance control, the contact force overshoot and dynamic deviation are smaller when the staged adaptive force/position hybrid control method is adopted, and the whole process control quality is better.

Phase-shifted PWM voltage drive strategy of high-speed solenoid valve
CHEN Xiaoming, ZHU Yuchuan, LI Linfei, WANG Yuwen
2025, 51(1): 167-174. doi: 10.13700/j.bh.1001-5965.2022.1018
Abstract:

High-speed solenoid valve is the core control element of digital flow technology, and its dynamic response and effective duty cycle range seriously affect the flow control accuracy of the system. To further expand the effective duty cycle range, a phase-shifted pulse width modulation (PWM) voltage drive strategy including reference PWM, pre-excitation PWM, excitation PWM, high-frequency PWM, pre-unloading PWM, and unloading PWM was proposed in this paper. Firstly, the working principle of the phase-shifted PWM voltage drive strategy was given, and the theoretical model of dynamic characteristics of high-speed solenoid valves was established. The simulation analysis and experimental verification of pre-excitation PWM and pre-unloading PWM duty cycle were carried out. The results show that compared with the composite PWM voltage drive strategy, the opening and closing pressure response time of the valve core are reduced by 87% and 37.9%, respectively. When the operating frequency is 100 Hz, the controllable duty cycle of the normal opening and closing of the valve core is extended from 28.5%–77% to 8.5%–81%.

UAV obstacle avoidance path-following method under time-varying wind disturbance at low altitudes
TAO Jiang, CAO Yunfeng
2025, 51(1): 175-182. doi: 10.13700/j.bh.1001-5965.2022.0956
Abstract:

An unmanned aerial vehicle path-following method under unknown time-varying wind disturbance was designed to solve the problem of unmanned aerial vehicle obstacle avoidance path-following at low altitudes. Firstly, a kinematic model of the unmanned aerial vehicle in the two-dimensional plane was given to complete the mathematical modeling of the obstacle avoidance path-following; secondly, a vector field method was used to design the tracking control law for the desired path of the Bessel curve under the unknown time-varying wind disturbance condition, and a ground speed estimator was designed for measuring the ground speed of the unmanned aerial vehicle under the unknown time-varying wind disturbance, and the Liapunov stability of the path-following was analyzed. Finally, a simulation was carried out to verify the Bessel curve’s expected path-following under unknown time-varying wind disturbance. The simulation experiments demonstrate that the designed unmanned aerial vehicle path-following method can achieve stable path-following under the unknown time-varying wind disturbance.

Online guidance for hypersonic vehicles in glide-reentry segment
WEI Hao, CAI Guangbin, FAN Yonghua, XU Hui, WANG Jing, ZHOU Zhuocheng
2025, 51(1): 183-192. doi: 10.13700/j.bh.1001-5965.2022.0965
Abstract:

In view of the guidance problem of the hypersonic vehicles in the glide-reentry segment, an online guidance strategy based on improved particle swarm optimization and whale algorithm was proposed. By considering its constraint model and shift conditions, a process constraint and terminal constraint model were established. To shorten the trajectory generation time and reduce the calculation amount of the algorithm, a height-range flight profile that could automatically meet the constraints of terminal height, path angle, and range was designed. Based on the premise that the drag coefficient is a constant value, a numerical solution of velocity that satisfied the range constraint was derived. Based on the above model, a three-parameter optimization model was designed to realize the control of the terminal conditions. To optimize the process constraints, an improved whale algorithm combining the whale algorithm and particle swarm optimization algorithm was proposed to overcome the shortcoming of precocious convergence of the particle swarm optimization algorithm, improve the solution efficiency, and minimize the heat flow rate during the flight. Then, through the method of segmenting the trajectory, an online guidance method based on the mid-point was proposed to update the longitudinal profile online to meet the terminal constraints. The simulation results show that the proposed method can efficiently solve the optimal flight trajectory.

Impeller fault diagnosis method and application based on digital twin flow field contour of centrifugal pump
LI Yajie, LIU Qiang, LI Wei
2025, 51(1): 193-201. doi: 10.13700/j.bh.1001-5965.2022.0997
Abstract:

With the development of industrial technology, the health diagnosis and maintenance of centrifugal pumps are increasingly urgent. Combining digital twin and machine vision technology, this paper proposed an intelligent impeller fault diagnosis method for centrifugal pumps based on a digital twin flow field cloud diagram. First of all, the digital twin model of the centrifugal pump was used to simulate the evolution of the random fracture for the impeller blades, and the pressure and velocity cloud diagrams of the impeller flow field with different fault characteristics were generated. Secondly, based on the learning and training of the Yolov5 algorithm, two kinds of machine vision models, namely pressure and velocity cloud diagrams, were obtained, and the preliminary diagnosis of impeller fault was realized by combining statistical analysis. Furthermore, the complementary advantages of the two types of detection models were considered, and the two types of detection models were combined based on the idea of stack integration to improve the accuracy of impeller fault diagnosis. The experimental verification shows that the intelligent fault diagnosis method for centrifugal pumps proposed in this paper has a diagnosis accuracy of more than 0.99 for the random fracture of impeller blades. The developed intelligent impeller fault diagnosis system for centrifugal pumps makes the method developed in this paper be applied to practical scenarios.

Ship detection method based on attentional guidance and multi-sample decision
LYU Yilong, GOU Yao, LI Min, HE Yujie, XING Yuhang
2025, 51(1): 202-213. doi: 10.13700/j.bh.1001-5965.2022.1004
Abstract:

The ones-stage object detection method has the characteristics of fast training speed and short inference time. However, its feature pyramid network (FPN) cannot suppress the background and noise information of the synthetic aperture radar (SAR) ship image, and the detection head has a prediction bias. This paper proposes a detection model based on attention guidance and multi-sample decisions for SAR ship detection. Firstly, in order to improve feature representation, this study suggests adding an attentional guidance network to the top of the feature pyramid in order to decrease noise and background interference. Secondly, Multi-sample decision networks are proposed to participate in predicting ship locations. By increasing the amount of output samples in regression branches, the network reduces the impact of prediction bias on detection outcomes. Finally, a novel maximum likelihood loss function is designed. The loss function constructs the maximum likelihood function from the output samples of multiple decision networks, which is used to standardize the training of decision networks and further improve the accuracy of target positioning. Compared with RetinaNet and current advanced object detection methods, the proposed method shows higher detection accuracy on the SSDD dataset, with AP up to 54%. Compared with the baseline method, the SARetinaNet method improved the AP evaluation index by 3.4%~5.7%, the number of training parameters Params only increased by 2.03M, and the FPS only increased by 0.5iter/s.

Research on target detection performance of PA-MIMO radar based on channel reciprocity
QI Cheng, XIE Junwei, FEI Taiyong, ZHANG Haowei, YANG Xiao
2025, 51(1): 214-221. doi: 10.13700/j.bh.1001-5965.2022.1014
Abstract:

On the issue of how to effectively utilize radar resources to improve the accuracy and reliability of target detection, proposed a hybrid distributed phased array-multiple input and multiple output (PA-MIMO) radar system model and established a target detection model based on the Neyman-Pearson (NP) criterion. The likelihood ratio (LRT) detector was derived under the condition of channel reciprocity caused by sub-array transceiver sharing and multi-pulse coherent accumulation, and the target detection probability under a given false alarm probability was obtained. On this basis, by comparing the performances of phased array radar, single input and multiple output (SIMO) radar, multiple input and single output (MISO) radar, and PA-MIMO radar with optimal array element configuration, it was verified that the hybrid distributed PA-MIMO radar system utilized the correlation of signals within sub-arrays and the independence of signals between sub-arrays to simultaneously obtain coherent processing gain and waveform diversity gain, and its maximum detection probability reached 0.987 4, which was higher than the other four radar systems, effectively improving the target detection performance of the radar system. Finally, the effect of channel reciprocity and pulse accumulation on the radar detection performance was verified by simulation analysis.

Protection level optimization method of ARAIM algorithm for urban road safety
DENG Siyu, SUN Rui, ZHANG Lidong, HU Haoliang
2025, 51(1): 222-234. doi: 10.13700/j.bh.1001-5965.2022.1020
Abstract:

Safety-critical intelligent transportation systems (ITS) applications are surging in recent years. These kinds of applications not only have the accuracy but also the integrity of global navigation satellite system (GNSS) positioning services. In the field of aviation with an open environment, advanced receiver autonomous integrity monitoring (ARAIM) has been widely concerned as a low-cost, highly autonomous integrity monitoring method. However, there are still gaps in the application of urban environments. Moreover, the probability of integrity risk and continuity risk of traditional ARAIM algorithm which is applied for aviation applications in the open environment has been equally allocated, resulting in the relatively conservative protection level. In order to solve the above problems, this paper proposes a protection-level optimization method based on Teaching-learning-based optimization (TLBO), which can realize the reasonable allocation of integrity risk and continuity risk under the integrity requirements of urban road safety, so as to improve the availability of multi-constellation ARAIM. The on-board measured data shows that under the global position system(GPS) + Galileo satellite navigation system (GAL) dual constellation scenario, the average optimization rates of horizontal protection level (HPL) and vertical protection level (VPL) are 50.58% and 44.14%, and the availability of ARAIM for the 10-meter alert limit (AL) is increased by 51.29%. In the GPS+GAL+BDS multi-constellation scenario, the average optimization rates of HPL and VPL are 59.59% and 56.33%, and the availability of ARAIM for the 10-meter AL is improved by 99.29%.

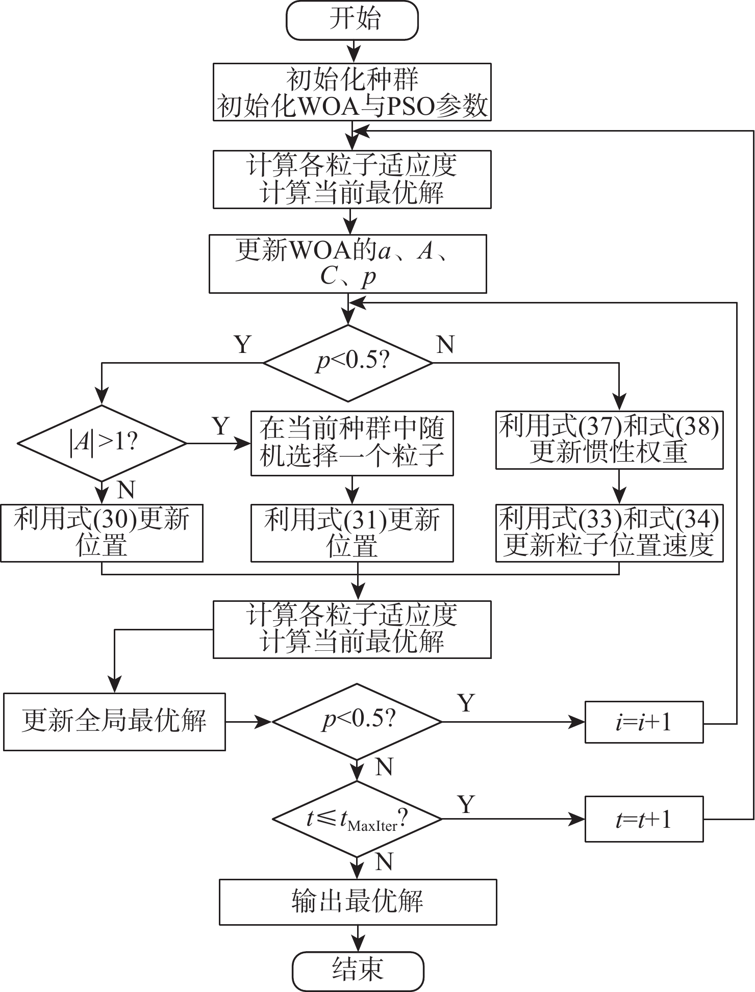
Improved chimpanzee search algorithm based on multi-strategy fusion and its application
ZHANG Fuxing, GAO Teng, WU Hongda
2025, 51(1): 235-247. doi: 10.13700/j.bh.1001-5965.2022.0891
Abstract:

In order to solve the problems of initial population boundary clustering distribution, slow convergence speed, low accuracy and easy falling into local optimum in chimpanzee search algorithm, an improved chimpanzee optimization algorithm with multi-strategy fusion (SPWChoA) was proposed. Firstly, the modified Sine chaotic map is used to initialize the population to solve the aggregation and distribution problem of population boundaries. Secondly, the concept of linear weight factor and adaptive acceleration factor for particle swarm optimization is presented. This is coupled with the enhanced nonlinear convergence factor balancing algorithm’s global search capability to quicken the algorithm’s convergence and raise its convergence accuracy. Finally, sparrow elite mutation and Bernoulli chaotic mapping strategies improved by adaptive water wave factors are introduced to improve the ability of individuals to jump out of local optima. By comparing the optimization results of 23 benchmark functions and Wilcoxon rank sum statistical test, it can be seen that the SPWChoA optimization algorithm has stronger robustness and applicability. Lastly, to further demonstrate the SPWChoA optimization algorithm’s superiority in handling actual optimization issues, the technique is applied to an engineering case.

Gust alleviation control system of flexible aircraft considering rudder efficiency
LIU Yisi, YANG Youxu, LIU Yi, CHENG Zhiyong, YU Lingfu
2025, 51(1): 248-256. doi: 10.13700/j.bh.1001-5965.2022.0952
Abstract:

The rudder surface effectiveness loss directly affects the gust alleviation effect of flexible aircraft, considering the rudder surface effectiveness loss is the key to the design of an active gust alleviation control system. In order to tackle the issue of gust interference in flexible aircraft, a high aspect ratio flexible aircraft model is utilized to create a structural dynamics model of the flexible aircraft that takes into account elastic modes and rigid body motion. Additionally, the rudder effectiveness loss of the rudder surface actuator is taken into consideration. An adaptive observer is designed to estimate the efficiency factor of the rudder surface actuator online in real-time, reconstruct and solve the adaptive active fault-tolerant $ {H_\infty } $ controller, and achieve aircraft gust load alleviation. Under discrete and continuous gust excitation, simulation of the aircraft’s open/closed loop time domain response demonstrates that both $ {H_\infty } $ control and proportional-integral-derivative (PID) control can achieve better alleviation effects under the rudder surface ineffective energy loss, and that $ {H_\infty } $ control’s response time is faster than PID control’s. Under the rudder efficiency loss, the adaptive observer can complete the efficiency factor evaluation in less than 4 seconds, and the $ {H_\infty } $ controller, which is designed based on this efficiency factor, can achieve gust alleviation that is comparable to the ideal scenario.

RAW image reconstruction based on multi-scale attention mechanism
ZHANG Ke, LIU Yu, HU Kai
2025, 51(1): 257-264. doi: 10.13700/j.bh.1001-5965.2022.0959
Abstract:

Traditional image signal processing (ISP) algorithms are cumbersome. Therefore, based on the PyNET model that can replace ISP algorithms, an end-to-end RAW image reconstruction method was proposed, called Py-CBAM. This method introduced an efficient attention mechanism and used it to redesign the multi-level and multi-scale structure of the PyNET network to achieve adaptive weighting of features at different scales, so as to improve the image reconstruction performance to a large extent. The experimental results show that the peak signal-to-noise ratio (PSNR) and structural similarity index measure (SSIM) obtained by the proposed method on the publicly available ZRR dataset improve by 0.37 dB and 0.0018 compared with those by the PyNET method. After retraining the Py-CBAM on the ZRR dataset and the newly constructed NRR dataset, the PSNR and SSIM reach 25.73 dB and 0.965 4, respectively. Visually, the proposed method solves the problems of high noise and chromatic aberration and distortion in RAW image reconstruction. It can also enhance the reconstruction ability of the model under different lighting environment conditions in multiple scenes. The reconstruction results are more realistic and have better visual quality, especially in the overexposed and dark areas of the image.

Position analysis of seven-link Barranov truss based on conformal geometric algebra
HUANG Xiguang, WU Yifan, LIU Dongyu
2025, 51(1): 265-271. doi: 10.13700/j.bh.1001-5965.2022.0961
Abstract:

The position analysis of mechanism is the basis of kinematics and dynamics research of mechanism.A conformal geometric algebraic (CGA) method for position analysis of seven-link Barranov truss is proposed to solve the problems of the traditional mechanism position analysis theory, such as the complicated operation of rotating coordinate transformation matrix and the difficulty of solving multivariate nonlinear equations of higher order. The expression of position coordinates of each moving point is established by means of translation, rotation operator and geometric formula expression in CGA. According to the properties of inner product geometry in CGA, the 16-degree position input-output equation of the mechanism and all its solutions are obtained directly. After all the solutions of the higher order equation are substituted back, the position coordinates of all moving points can be obtained. Finally, the effectiveness of the new method is verified by numerical examples.The results show that the geometric intuitionicity of the proposed algorithm is significantly superior to the traditional complex vector method and D-H matrix method. The proposed algorithm can not only avoid matrix operations and elimination operations, but also solve without adding or missing roots.

Simulation analysis and experimental study of viscoelastic damping ring of flywheel housing
JIN Fuyun, WANG Yongfeng, WANG Hong, LIU Shanshan, MA Yanhong
2025, 51(1): 272-280. doi: 10.13700/j.bh.1001-5965.2022.0963
Abstract:

As the requirements for performance indicators of spacecraft platforms increase, the influence of micro-vibrations generated by flywheels on spacecraft platforms is becoming increasingly prominent and needs to be suppressed. Based on the modal characteristics of the upper housing of the flywheel, a design method of circular viscoelastic damping ring structure was proposed, and numerical simulations and experiments were carried out to verify the damping effects of the viscoelastic damping ring in terms of the position, thickness, and width and verify the validity of circular viscoelastic damping ring. The results show that the circular viscoelastic damping ring structure has a good damping effect on broadband vibration, and the position of the viscoelastic damping ring plays a decisive role in the change of the inherent frequency of the flywheel system and the damping effect. The damping effect is better when a circular viscoelastic damping ring is applied at 60% of the outer diameter of the flywheel. When the width is designed to be within 6% of the outer diameter of the flywheel, and the thickness is designed to be within 4 times the thickness of the housing, the damping effect increases with the increase in width and thickness.

Optimization design method of aircraft boundary characteristics based on upwind scheme adjoint equation
DENG Jun, GAO Zhenghong, HUANG Jiangtao, ZHAO Ke, XIA Lu
2025, 51(1): 281-292. doi: 10.13700/j.bh.1001-5965.2022.0964
Abstract:

A challenging and crucial aspect of aircraft design is defining the boundary characteristics of the aircraft, which dictate their safety and flying performance. In order to increase the precision, effectiveness, and resilience of complex flow problems, we suggested in this study that adjoint optimization methods be extended to the design of aircraft boundary features. We did this by developing an upwind scheme adjoint equation and various flux limiter treatments. Firstly, the basic principle of discrete adjoint gradient solution was introduced. This served as the foundation for deriving the adjoint equation's inviscid term and its variational form of boundary conditions. According to the processing method of the flux limiter, adjoint equations with first-order accuracy, second-order accuracy, and mixed accuracy were formed. Subsequently, the boundary treatments for the adjoint equation were studied. By using the ONERA M6 wing for gradient accuracy and robustness validation examples, the performance of solving adjoint equations using upwind and central schemes was compared, and the effects of limiter and boundary treatments on the convergence and gradient accuracy of the adjoint equations were analyzed. The effectiveness of the solver in designing aircraft cruise performance and boundary characteristics was verified through examples of CRM wing body at cruise and boundary characteristics optimization design. The computation and design outcomes demonstrated the robustness and high gradient accuracy of the upwind approach developed in the article, suggesting its potential for resolving design issues pertaining to aircraft boundary characteristics.

CAP planning method based on elliptic fitting of optimal detection routes
LI Leyan, YANG Rennong, WANG Ying, LI Huanyu, WU Ao, YUE Longfei
2025, 51(1): 293-302. doi: 10.13700/j.bh.1001-5965.2022.0978
Abstract:

In view of the combat air patrol (CAP) planning problem in air formation under the background of weak intelligence support in the far sea, a new patrol airspace planning method based on the elliptic fitting of the optimal detection route was proposed. First, the cooperative probability detection area was used as the fitness function of the genetic algorithm to solve the optimal cooperative detection route of the aircraft. Then, according to the statistical characteristics of the initial route points, a two-point removal elliptic fitting method based on geometric distance was used to solve the actual available elliptical route and the corresponding patrol airspace for pilots. The simulation results show that the formation can maintain 82.16% cooperative detection of the total mission area in CAP according to the planned rectangular patrol airspace and elliptical route, and the average real-time detection range only decreases by 1.93% compared with the optimal radar detection route. The time window in the detection blind area is small. The planning results greatly reduce the cognitive load of pilots and have practical value.

Multi-UAV trajectory planning for complex terrain based on GPSSA algorithm
YAN Shaoqiang, YANG Ping, LIU Weidong, LI Xinqi, LEI Jian, ZHAO Chaoyue
2025, 51(1): 303-313. doi: 10.13700/j.bh.1001-5965.2022.0984
Abstract:

A multi-UAV cooperative path planning approach based on the self-destruction mechanism and game predatory sparrow search algorithm (GPSSA) is suggested to address the issues of high time requirement and problematic convergence. Firstly, a single UAV path planning model and a multi-UAV cooperative path planning model are established respectively by using the hierarchical planning idea, which is transformed into optimization problems. Then, the game predatory mechanism and self-destruction mechanism is proposed to improve the sparrow algorithm, prevent it from rapidly losing the diversity of the population, enhance the ability of the original algorithm to escape the attraction of local optimum, and make the search mode of the algorithm more flexible. Finally, the improved sparrow algorithm is used to solve the model. The outcomes of the simulation demonstrate how fast and accurately the GPSSA method can plan a path that satisfies the requirements, while also having superior algorithm robustness, convergence speed, and optimization accuracy.

LPI radar signal recognition based on high-order time-frequency spectrum features
LI Shitong, JIN Xiaoping, SUN Jie, WANG Xiaofeng
2025, 51(1): 314-320. doi: 10.13700/j.bh.1001-5965.2022.0993
Abstract:

In view of the low recognition rate of traditional low probability of intercept (LPI) radar signal recognition algorithms under low signal-to-noise ratios, a radar signal recognition algorithm based on high-order time-frequency features was proposed. The proposed algorithm firstly obtained the time-frequency distribution of radar signals by time-frequency transform, and then the power calculation of the time-frequency spectrum was done to obtain the high-order time-frequency image of the signal. The gray gradient co-generation matrix and pseudo-Zernike features of the time-frequency image were extracted and formed into a joint feature vector, and finally, the classification recognition of the radar signal was realized by the support vector machine (SVM). The experimental results show that the overall recognition accuracy of the proposed algorithm can reach more than 95% for eight typical radar signals when the signal-to-noise ratio is −6 dB.

Two-stage underwater image enhancement method based on convolutional neural networks
LU Siqi, GUAN Fengxu, LAI Haitao, DU Xue
2025, 51(1): 321-332. doi: 10.13700/j.bh.1001-5965.2022.1003
Abstract:

Images taken underwater frequently suffer from substantial degradation due to the varied capabilities of water particles to absorb light, which has a significant impact on how underwater robots perceive their surroundings. The intricacy of underwater environments and uncertainties in physical factors usually result in poor generalization for traditional image processing techniques and degradation model-based picture restoration systems. A two-stage underwater image enhancement technique based on convolutional neural networks (CNNs) is suggested to improve the quality of underwater images. This method improves degraded underwater images into visually superior near-air images through damage and restoration phases. Testing results on Challenge60, U45, EUVP, and RUIE datasets show that the proposed method achieves better enhancement compared to existing underwater image restoration and enhancement algorithms, with improvements of 5.18% and 6.64% respectively for UIQM and UCIQE scores.

High dynamic cooperative topology online optimization and distributed guidance method
PANG Bowen, ZHU Jianwen, BAO Weimin, LI Xiaoping
2025, 51(1): 333-339. doi: 10.13700/j.bh.1001-5965.2022.1025
Abstract:

In order to solve the distributed cooperative guidance problem in the flight process of a high-velocity aircraft swarm, this paper proposed an adaptive topology optimization and guidance algorithm based on a minimum spanning tree. The algorithm constructed the topology graph of the communication link of the aircraft swarm, quantified the distance as the weight according to the communication cost, and generated the optimal communication topology graph in real time through the idea of the Kruskal algorithm in the minimum spanning tree. This paper adopted the distributed two-layer cooperative guidance framework and multi-center distributed topology optimization decision-making method and compensated for the consistent variables in the consensus cooperative control law, so as to realize the topology adaptive optimization and control in the cooperative flight of aircraft swarm. Simulation results verify the effectiveness and excellent performance of the proposed algorithm.

A matching method based on improved SuperPoint and linear Transformer for optical and infrared images
WU Wei, XIAN Yong, SU Juan, ZHANG Daqiao, LI Shaopeng, LI Bing
2025, 51(1): 340-348. doi: 10.13700/j.bh.1001-5965.2022.1022
Abstract:

A deep learning matching algorithm based on improved SuperPoint and linear transformer was proposed to solve the problem of difficult matching and high mismatching rates between visible and infrared heterologous images. Firstly, based on the SuperPoint network structure, the algorithm introduced the idea of a feature pyramid to build a feature description branch and trained it based on the hinge loss function, so as to better learn the multi-scale deep features of visible and infrared images and increase the similarity of the image with correspondence points to the descriptor. In the feature matching module, SuperGlue was improved by adopting a linear transformer for aggregating features to obtain better matching results. Experiments conducted on multiple datasets demonstrate that the proposed method improves the matching precision and provides better matching performance in comparison with existing matching methods.