2019 Vol. 45, No. 3

Display Method:
Volume 45 Issue32019
iconDownload (30519) 906 iconPreview
Air combat maneuver decision-making based on improved symbiotic organisms search algorithm
GAO Yangyang, YU Minjian, HAN Qisong, DONG Xiaojie
2019, 45(3): 429-436. doi: 10.13700/j.bh.1001-5965.2018.0395
Abstract:

Aimed at the problem of modern air combat maneuver decision-making, an air combat maneuver decision-making method based on improved symbiotic organisms search (SOS) algorithm is proposed. Firstly, the shortcomings of the traditional basic maneuver inventory are analyzed, improved and expanded, and 11 kinds of common basic maneuver are designed. Secondly, considering the angle, distance, speed, altitude and the performance advantages of fighter planes, the decision-making advantage function of fighter planes is constructed. Finally, aimed at the shortcomings of the traditional SOS algorithm in convergence speed, convergence accuracy and local optimality, the roulette wheel selection method, dynamic variation rate and gradient idea are introduced into the traditional algorithm, and the effectiveness and performance of the algorithm are simulated and analyzed. The simulation results show that the improved SOS algorithm has more advantages in convergence speed, convergence accuracy and jump out of local optimum, and can meet the air combat maneuver decision-making requirements.

Robust design method for mechanical characteristics of power turbine rotor structural system
HONG Jie, SHEN Yupeng, WANG Yongfeng, MA Yanhong
2019, 45(3): 437-445. doi: 10.13700/j.bh.1001-5965.2018.0406
Abstract:

The power turbine rotor of aero turbojet engine and turboprop engine is a typical high-speed flexible rotor structural system with multi-support, connecting interface and uneven mass/stiffness distribution. The dispersity of mechanical characteristics of joint structure and bearing stiffness can cause the dynamic cha-racteristics of the rotor structural system to deteriorate. According to the typical power turbine rotor structural system, it is pointed out that the interface contact damage, such as non-recoverable slip, fatigue and friction, is the intrinsic reason for the dispersity of the mechanical properties of the connecting structure, and the quantitative evaluation parameters including contact state coefficient, contact stress, non-recoverable deformation energy and contact friction work are put forward. Based on the analysis of the critical speed distribution of multi-support flexible rotor-bearing system and its influence on the stiffness sensitivity of each support, a robust design method of dynamic characteristics based on the selection of the low-sensitivity region of support stiffness is proposed, which improves the robustness of the rotor structure system.

Shear property analysis of laser welding stiffened panel with cover
HUI Li, CHEN Xiaowei, ZHOU Song, YANG Wenjun, WANG Lei
2019, 45(3): 446-453. doi: 10.13700/j.bh.1001-5965.2018.0414
Abstract:

Shear stability test was carried out on the dual beam laser welding stiffened panel with cover. The buckling load, buckling form, post-buckling carrying capacity and failure modes of the stiffened panel with cover under shear loading were analyzed. A finite element method was utilized to model the stiffened panel and shear fixture. Simulation calculation of shear instability modes and post-buckling carrying capacity of stiffened panel. Meanwhile, the effects of cover on the carrying capacity, stress distribution and deformation of cutout stiffened panels were investigated. The results show that, in the sheared state of the stiffened panel with cover, when the buckling ratio reaches 1.95, the stiffened panel enters into post-buckling and the final failure load is approximately 2.98 times the buckling load. The load-displacement curves obtained from simulation and test are in good agreement, and the errors for the buckling loads and failure loads obtained from the numerical calculations compared with the test average value are 8.7% and 1.02%, respectively. The rigidity and load-carrying capacity of open stiffened panel reduce, and the bolt fastening cover has a great influence on the stress and out-of-plane deformation.

Design and analysis of a novel parallel mechanism with closed-loop limbs
FANG Hairong, WANG Li, ZHANG Haiqiang, YANG Hui
2019, 45(3): 454-463. doi: 10.13700/j.bh.1001-5965.2018.0411
Abstract:

In order to meet the requirements of high stiffness and accuracy of the position and posture adjusting mechanism in the assembly process of spacecraft shell, a novel 5-U(RRP)S/(8U)PU parallel mechanism with closed-loop limbs, which are improved from conventional limb structure, is proposed and analyzed. The degree of freedom of the mechanism is calculated by screw theory. The positional positive and negative solutions are figured out through establishing the seal vector constraints equation. The complete Jacobian matrix is calculated by screw theory. The fixed posture workspace is drawn by the restrained link length. The changes of mechanism stiffness with the position and posture are analyzed by solving the static stiffness matrix. The software is used to simulate and compare with the general mechanism. Through the above analysis, the feasibility and practical application value are verified, which lays the foundation for the automatic assembly process of spacecraft shell.

Image denoising model based on directional total variation
PANG Zhifeng, ZHANG Huili, SHI Baoli
2019, 45(3): 464-471. doi: 10.13700/j.bh.1001-5965.2018.0329
Abstract:

For the problem of texture image denoising, by analyzing the advantages and disadvantages of the total variation (TV) denoising model and the directional total variation (DTV) denoising model, we propose a robust denoising model based on directional total variation. In the proposed model, in order to efficiently characterize the different structural features in the image, the exponential p in the edge adaptive directional total variation regularization term can be availably chosen in (0, 2) based on the structure in the image. Since the proposed model is a non-smooth convex optimization with separable operator, it can be solved by using the alternating direction method of multipliers (ADMM). Then the convergence of the numerical method can be efficiently kept. Compared with other classic models, numerical implementations show that the proposed model can achieve higher peak signal-to-noise ratio and structural similarity, and can effectively retain image details while removing noise.

Influence of excitation and transition rates on ultraviolet radiation of thermal nonequilibrium nitrogen
WU Jie, YU Xilong, DUAN Ran, ZHU Xijuan, LI Xia, MA Jing
2019, 45(3): 472-477. doi: 10.13700/j.bh.1001-5965.2018.0392
Abstract:

Based on the collision-radiation (CR) model of nitrogen, the distribution of the electronic energy levels of N2 and N2+ molecules in the hypersonic flow shock wave with velocity 6.2 km/s and initial pressure 133 Pa is calculated. The effects of different excitation and transition rate models on the electronic energy level distribution and the radiation spectrum simulation are analyzed. A line-by-line method is carried out to simulate the radiation spectrum of the thermal nonequilibrium region and the equilibrium region in the 300-440 nm, which are compared with the experimental measurement spectra of the shock tube. It is found that the current excitation and transition rates all have deviations, and the CR model that integrated the Einstein coefficient of Park model and the collision excitation rate of the Johnston model can gain the radiation spectrum which is the closest to the experimental results.

Fatigue fracture lifetime prediction for gold bonding wires of high-power LED under cyclically electrical loading
FAN Jiajie, LI Lei, QIAN Cheng, HU Aihua, FAN Xuejun, ZHANG Guoqi
2019, 45(3): 478-485. doi: 10.13700/j.bh.1001-5965.2018.0401
Abstract:

With the popularity and widespread application of high-power light-emitting diode (LED) in lighting industry, its reliability has gradually become one of research focuses.The failure of gold bonding wires in the traditional LED package has been a critical bottleneck that restricts its reliability. In this paper, the failure mechanism of LED under cyclically electrical loading is firstly identified through both gold bonding wire mechanical simulation and power cycling test experiment, which is the fatigue fracture of gold bonding wire. Then, two lifetime prediction methods, the acceleration factor extraction method based on current acceleration model and the strain-based Coffin-Manson analytical method, are established and verified with experimental results. The results show that the lifetime prediction accuracy of the proposed methods is high and they can achieve a fast and accurate reliability assessment for high-power LEDs with wire-bonding packaging technology.

GNSS-IR soil moisture inversion method based on GA-SVM
SUN Bo, LIANG Yong, HAN Mutian, YANG Lei, JING Lili, YU Yongqing
2019, 45(3): 486-492. doi: 10.13700/j.bh.1001-5965.2018.0417
Abstract:

In order to improve the precision of soil moisture measurement in a wide range, in this paper, the global navigation satellite system interferometry and reflectometry (GNSS-IR) for soil moisture was studied and a soil moisture inversion model based on support vector machine (SVM) was proposed. In this model, the automatic optimizing function of genetic algorithm (GA) was applied to optimize the parameters of SVM. The results show that the mean absolute percentage error (MAPE), the maximum relative error (MRE) and the coefficient of determination for equation of linear regression are 0.69%, 1.22% and 0.9569 respectively between the soil moisture inverted by the proposed GA-SVM model and the ground measured values. In addition, the performance of GA-SVM model was also compared with the statistical regression, particle swarm optimization SVM model (PSO-SVM) and back propagation (BP) neural network. The comparison results show that the GA-SVM method is more suitable for the GNSS-IR soil moisture inversion than other machine learning algorithms in small training set scenario, and it has higher inversion precision and better generalization performance.

Influence of forward acceleration on hemodynamic characteristics of carotid arteries:A numerical simulation
LIU Yan, SUN Anqiang
2019, 45(3): 493-498. doi: 10.13700/j.bh.1001-5965.2018.0471
Abstract:

Humans are usually subjected to acceleration with fast changing directions and magnitude in ordinary or some special situations. Previous studies have found that acceleration had physiological and path-ological influence on cardiovascular system. However, more in-depth investigations need to be done at present. In this study, the computer simulation method was used to study the hemodynamic parameter variation features laws of carotid artery under forward acceleration condition. The results reveal that acceleration has significant influence on the hemodynamic parameters including pressure, pressure gradient, wall shear stress, etc. in carotid artery, which have close relationship with physiological and pathological behavior of artery. This study provides theoretical basis for the research of carotid artery physiology and pathology under acceleration conditions, and also gives reference for human protection under acceleration conditions in aeronautic and astronautic fields.

Analysis and prediction of neck injury of pilots during carrier aircraft arrest deck-landing
BAO Jiayi, WANG Xingwei, ZHOU Qianxiang, SHEN Yuhong, LI Chenming, LIU Huawei
2019, 45(3): 499-507. doi: 10.13700/j.bh.1001-5965.2018.0404
Abstract:

Aimed at the high incidence of neck pain caused by large blocking load in the process of arrest deck-landing the aircraft carrier, the biomechanical response of pilots under the condition of continuous overload is studied by the finite element method. Based on CT scanning images, Mimics was used to perform the 3D reconstruction of the head and C1-T1 vertebrae, and Geomagic Studio was used to form a curved surface. The finite element model was established by Hypermesh and ABAQUS, and the stress and strain of each vertebra and soft tissue were calculated in ABAQUS. Combined with damage assessment criteria NIC and Nij, the neck injury of pilots was analyzed and predicted. The results show that the dynamic response of the finite element model is in agreement with the static and dynamic experimental results, and the accuracy of the model and the feasibility of the modeling method are verified. The tension of the articular capsule ligament is longer than the other ligaments, and it is easy to cause injury or relaxation. Long-term training will cause diseases such as ligament damage, intervertebral disc herniation and instability of cervical vertebra. The mean stress of C4-C5 intervertebral disc is greater than that of C5-C6 intervertebral disc. Therefore, it is easier to cause injury and should be strengthened. The probability of critical and above injuries in head and neck is only 6.07%, that is, the possibility of injury to vertebrae and spinal cord is very small. The research results can provide theoretical support for the design and improvement of neck protection devices, countermeasures and flight training methods for pilots.

Method for calculating firing data of guided rocket launcher based on surrogate model
ZHAO Qiang, TANG Qizhong, HAN Junli, YANG Ming, CHEN Zhihua
2019, 45(3): 508-519. doi: 10.13700/j.bh.1001-5965.2018.0339
Abstract:

Aimed at the problem of rapid calculation of firing data of guided rocket launcher, a new method for calculating firing data based on large sample data and surrogate model is proposed. The surrogate models are used to establish the functional relations between the firing angle, uncontrolled lateral range and six influencing factors, including latitude of artillery location, elevation of artillery location, target azimuth, range between artillery location and target location, elevation of target location and propellant temperature, and the target azimuth is corrected according to the range and predicted value of the uncontrolled lateral range. The simulation results show that the high-order polynomial response surface, the Kriging with Gaussian correlation function, the radial basis function with high-order monomial, the least squares support vector machine with Gaussian kernel function, the extreme learning machine with sine activation function and an ensemble of the above individual surrogate models have higher prediction accuracy, and the execution time of each individual surrogate model for a prediction of firing angle or uncontrolled lateral range is less than 1 ms, which verifies the effectiveness and feasibility of the proposed method. Moreover, the uncontrolled lateral range due to the earth's rotation is effectively reduced after the target azimuth correction.

Integrated design method of six-phase fault-tolerant permanent magnet in-wheel motor based on multi-physics fields
GUO Si, GUO Hong, XU Jinquan
2019, 45(3): 520-528. doi: 10.13700/j.bh.1001-5965.2018.0360
Abstract:

Based on the analysis of the relationships between the physical fields that the in-wheel motor is involved in, an integrated design method for fault-tolerant permanent magnet in-wheel motor is proposed, aiming at solving the problems of complex working conditions and serious heat of the in-wheel motor for electric armored vehicles. A 50 kW, 6 000 r/min six-phase fault-tolerant permanent magnet in-wheel motor is designed by the integrated method. On the basis of the preliminary design of the motor structure, the optimal design of the flux barrier is achieved by the electromagnetic-stress coupling design, taking both the electromagnetic performance and the mechanical strength into account. Meanwhile, the temperature distribution of the motor is calculated and the demagnetization of the magnets is completed by electromagnetic-thermal coupling design. Furthermore, the maximum mechanical stresses of the rotor and the sleeve are analyzed, and the thickness of sleeve and the interference fit between the rotor and the sleeve are verified by the thermal-stress coupling design. The simulation results show that the motor designed by integrated design method based on multi-physics fields can meet the requirements of electromagnetic performance, temperature limitation and mechanical strength. Therefore, the reliability of the motor is enhanced.

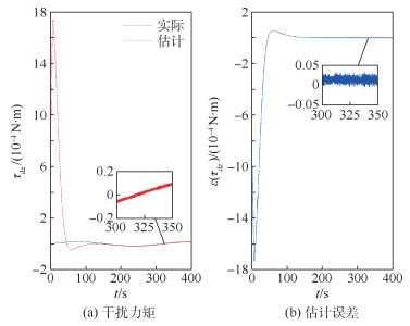
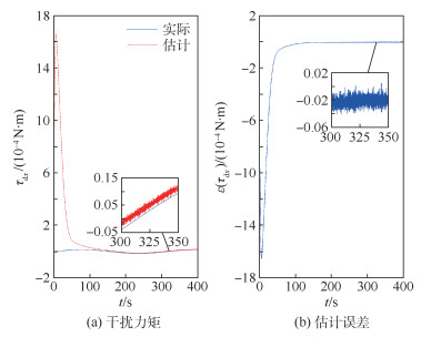
Small fault detection method for actuator of satellite attitude control system
LI Lei, GAO Yongming, WU Zhihuan, ZHANG Xuebo
2019, 45(3): 529-537. doi: 10.13700/j.bh.1001-5965.2018.0372
Abstract:

Aimed at the problem of small fault detection for actuator of satellite attitude control system, a small fault detection method based on neural network disturbance observer is proposed. By using the redundant relationship in the satellite attitude control system, a gyro disturbance observer and disturbance torque observer are constructed to estimate the measurement error and disturbance torque in the system, and the fault detection observer is compensated for disturbances to improve actuator's small fault detection capability. The simulation results show that, compared with the analytical model based method, this method can compensate the error of the analytical model more accurately, reduce the detection threshold significantly, and realize the small fault detection for actuator under disturbance concealment.

Robust adaptive control for morphing aircraft based on switching system
LIANG Xiaohui, WANG Qing, DONG Chaoyang
2019, 45(3): 538-545. doi: 10.13700/j.bh.1001-5965.2018.0377
Abstract:

For the morphing process control of morphing aircraft, by combining the switching system theory and the multivariable adaptive control theory, a robust adaptive controller design method based on the switched system is proposed in this paper. Frist, the longitudinal short-period linear switching model for morphing aircraft is established, which can describe the whole morphing process. Second, an improved robust adaptive control law to reject the external disturbance and uncertainties is designed, which can guarantee the switching system's good tracking of the reference model. Then, based on the mode-dependent dwell time, a switching control law is put forward, which ensures the stability of the morphing aircraft in morphing process. According to the Lyapunov function methods, the ultimate uniform bound of the proposed approach is proved. The simulation results show that the proposed approach can guarantee the accurate tracking of the reference model during the morphing process with good disturbance rejection ability under the conditions of external disturbance and various uncertainties.

Identification of flight dynamics models of a small-scale unmanned helicopter in hover condition
WU Meiliwen, CHEN Ming, WANG Fang
2019, 45(3): 546-559. doi: 10.13700/j.bh.1001-5965.2018.0384
Abstract:

In order to better study the hover dynamics characteristics of small-scale unmanned helicopter, the in-depth dynamics model analysis of linear system identification and nonlinear modeling was conducted in this paper on an 8.1 kg electric helicopter with 3-axis gyro augmentation. In the linear system identification procedure, frequency-domain identification method was adopted. Double systems were obtained by using command signals from both before and after the gyro part. In the nonlinear modeling procedure, body dynamics, rotor dynamics, and tail rotor dynamics were modeled separately. The tail rotor dynamics utilized 3-stage identification method to extract the base model, the gyro model, and the overall model. A nonlinear-linear combined modification method was decided for improving the models' performance. The results show that the 13-state high-order model has higher simulation accuracy compared with the 11-state model. The flight data of the helicopter's base model for dual system linear model has high quality in high-frequency domain, and the maximum frequency is 30 rad/s. Apart from the flapping equation parameters and tail rotor parameters, the combined modification method got 7 parameters of the nonlinear mathematical model (NMM) corrected, which fits the experimental hover data effectively.

Teardrop hovering configuration control strategy based on piecewise constant thrust
BAI Shengzhou, WANG Huijiang, HAN Chao, ZHANG Sihang
2019, 45(3): 560-566. doi: 10.13700/j.bh.1001-5965.2018.0408
Abstract:

In order to meet the requirements of relative motion control for spacecraft formation flying missions, design and control of spacecraft's forced fly-around formation under the control of piecewise constant thrust are investigated. For teardrop hovering configuration under pulse control, a multi-level constant thrust control strategy is proposed. The shooting equation is transformed into the solution of the extreme value problem, and the least square method is used to solve it. In this paper, constant thrust feasibility is also analyzed. Based on continuous constant small-thrust control equations, the small neighborhood theorem is deduced, and the feasibility of two-segment constant thrust control is analyzed in near-distance relative motion. In addition, a small-thrust increment equation is proposed to improve the solution accuracy, and it is proved that multiple iterations can precisely approximate the ideal solution. Finally, numerical simulations show that a constant small-thrust control strategy is feasible for the teardrop hovering relative motion. The theory of spacecraft forced fly-around design and control is enriched, and the results provide a reference for engineering applications.

Aircraft taxiway traffic flow characteristic simulation at large airport
XUE Qingwen, LU Jian, JIANG Yu
2019, 45(3): 567-574. doi: 10.13700/j.bh.1001-5965.2018.0399
Abstract:

Taxiway is the main resource for airport operation, connecting the runway and apron. The specific traffic flow characteristic emerges with the increase of aircraft at the taxiway. The taxiway traffic flow cell transmission model is established by combining cell transmission model (CTM) and operation regulation of taxiway. Based on the system dynamic simulation platform NetLogo, the model is validated by taking the aircraft taxiway operation at a large airport in China as an example. Then the relationships and phase transition among traffic flow parameters are deduced. The study shows that the taxiway traffic flow transfers among three phases: free, synchronized and block flow. Synchronized flow is very sensitive to the density, where the flux decreases from 0.15 to 0.10 flight/min, velocity decreases from 20 to 7.64 m/s with the increase of density. As the ratio of departure rate and arrival rate decreases from 0.2 to 0.15, the critical value of flux drops from 0.15, 0.10 to 0.13, 0.05 flight/min. The critical value of velocity remains the same in free phase, and drops from 7.64, 1.07 to 0.88, 0.25 m/s for synchronized and block flow. The critical value of density drops from 0.50 to 0.46 flight/km in free phase, but increases from 0.88, 6.21 to 3.77, 13.17 flight/km for synchronized and block flow. The study in this paper reveals the evolution mechanism of taxiway traffic flow congestion, which provides the theory basis for the scientific taxiway management and control strategy.

Slow and small target CFAR detection of polarimetric along-track interferometric SAR using coherence optimization
ZHANG Peng, ZHANG Jiafeng, LIU Tao
2019, 45(3): 575-587. doi: 10.13700/j.bh.1001-5965.2018.0322
Abstract:

To improve the slow and small target detection performance of current interferometric SAR (INSAR), a new method is explored to implement constant false alarm rate (CFAR) detection for full polarimetric along-track INSAR (AT-POLINSAR). First, by designing a single-baseline AT-POLINSAR, we point out its feasibility under current technology conditions and analyze its signal form as well as polarimetric interferometric echo. Second, a new dimension reduction method for AT-POLINSAR 6D polarimetric interferometric vector is proposed using the background clutter average coherence as optimization criterion, from which the scalar echo in suboptimal polarization that has the same distribution type with single polarization can be obtained, and then the traditional single polarimetric INSAR slow target detector can be extended to be full polarimetric. Finally, Monte Carlo experiments and AT-POLINSAR scene detection experiments are carried out to compare the slow target detection performance of suboptimal polarimetric detectors and single polarimetric ones. The results indicate that suboptimal polarization can make full use of full polarimetric information to improve the INSAR detection probability of slow and small target.

Thermal design and optimization of narrow linewidth semiconductor lasers
LIU Sizhe, QUAN Wei, ZHAI Yueyang
2019, 45(3): 588-596. doi: 10.13700/j.bh.1001-5965.2018.0336
Abstract:

The influence of the heat flow generated in the laser tube on the inherent characteristics of the structure is one of the key research issues in the design of narrow linewidth semiconductor lasers. Based on the mechanical properties and temperature load requirements, this paper aims at maximizing the heat dissipation of the overall structure. The internal thermal load is analyzed and applied. Based on this, the structural size and structural forms of the semiconductor laser are optimized. The method reduces the maximum temperature of the laser from 24.6℃ to 22.827℃, and analyzes the transient temperature curve in the first 100 s. The heat dissipation uniformity is improved by optimizing the structure.

Target tracking control algorithm based on approximate dynamic programming
LI Huifeng, YI Wenfeng, CHENG Xiaoming
2019, 45(3): 597-605. doi: 10.13700/j.bh.1001-5965.2018.0353
Abstract:

The control algorithm for the target tracking problem cannot be well adapted to the problem of large-scale maneuver flight or even game with us. This paper proposes a control algorithm for target tracking using approximate dynamic programming. The game algorithm is used to train our UAV to form an experience. The positions of both sides are taken as known quantity and the roll direction as the control quantity. The relative positions of two objects are used to derive their features and then an approximate function is formed. The rollout algorithm is used to obtain the optimal decision, and the flexible and effective tracking of tracking targets and even gaming targets can be achieved. The simulation results verify the effectiveness of approximate dynamic programming for control algorithms.

Reconfigurable design method of flight control law under icing conditions
WANG Liangyu, XU Haojun, LI Yinghui, LI Zhe
2019, 45(3): 606-613. doi: 10.13700/j.bh.1001-5965.2018.0358
Abstract:

For the flight safety of icing aircraft, the nonlinear icing effect model was built based on the linear icing effect model, and then the nonlinear longitudinal dynamics model of icing aircraft was established. Through the combination of feedback linearization and fuzzy control theory, the reconfigurable design of longitudinal control law under icing condition was completed, which ensures the dynamic response characteristic and promotes the anti-interference ability of the controller, allowing the aircraft to fly under icing condition. The simulation of the aircraft longitudinal dynamic response under various icing severity and interference conditions was carried out, and then by comparison with the conventional PID control, the effectiveness and anti-interference ability of the designed control law are verified. The results show that the dynamic response of each state parameter under the designed control law can converge quickly and greatly and track the pitch angle instructions faster and more accurately. In addition, the anti-interference capability and dynamic performance of the designed control law are better than those of the conventional PID control.

Novel second-order sliding mode control based 3D guidance law with impact angle constraints
SHI Shaokun, ZHAO Jiufen, CHONG Yang, YANG Qisong, YOU Hao
2019, 45(3): 614-623. doi: 10.13700/j.bh.1001-5965.2018.0387
Abstract:

To deal with the problem of missile for attacking ground maneuvering target in 3D space, a 3D finite-time guidance law with impact angle constraints is proposed. In order to improve convergence speed and suppress chattering problem, the nonsingular fast terminal second-order sliding mode control based 3D guidance law with coupling terms is designed based on the nonsingular fast terminal sliding surface and the second-order sliding mode control theory. System model linearization is not needed and singular problem is avoided in the design process. A nonhomogeneous disturbance observer is designed to estimate and compensate the total disturbance, which is caused by target maneuvering information and coupling terms of line of sight. And the stability and finite-time convergent characteristics of the proposed guidance law are proved mathematically. The effectiveness and superiority of the proposed guidance law are verified by numerical simulation.

High-resolution unsteady turbulence simulation of an X-51A-like aircraft
YU Huafeng, LIU Hongkang, CHEN Shusheng, YAN Chao
2019, 45(3): 624-632. doi: 10.13700/j.bh.1001-5965.2018.0409
Abstract:

High-resolution turbulence simulations were performed for an X-51A-like aircraft model to investigate its complex unsteady separation flow caused by high angle of attack conditions. The calculation is based on delayed detached-eddy simulation (DDES) methodology under high order. Flow Mach number is 2.5, and the angle of attack is 10°. In this paper, separation flow phenomenon, separation flow induced aerodynamic characteristic variation law and pressure fluctuation features are analyzed. Especially, the distribution of wall pressure fluctuation and the spectrum characteristics of the monitors are mainly studied. The result shows that lateral edges of the model lead to a large number of separated vortices when the aircraft flies under large angle of attack, which cause strong interference with the vertical tail rudder. The interfered tail rudder exhibits obvious nonlinear and unsteady aerodynamic properties. In addition, the presence of separation vortices also leads to a significant increase in pressure fluctuation on the aircraft wall, especially on the leading edge of tail rudders. The power spectrum density of pressure shows that low frequency and high amplitude fluctuation of 200-300 Hz may cause structural damage.

Tensile performance of countersunk bolted composite/metal joints with sleeve
CHEN Kun, SHU Maosheng, HU Renwei, GUO Xin, CHENG Yujia, CHENG Xiaoquan
2019, 45(3): 633-640. doi: 10.13700/j.bh.1001-5965.2018.0412
Abstract:

The tensile test of the countersunk bolted composite material/metal joint with sleeve was carried out, load-displacement curve and out-of-plane deformation of the joint were measured, and the tensile behavior of the joint was analyzed. A finite element model of the joint was established by using ABAQUS software. The offset bearing load, ultimate load and failure mode calculated by finite element model were in good agreement with the experimental results, which proved the validity of the finite element model.Using this model, the mechanism of joint failure was analyzed, and the effects of bolt and sleeve interference, tightening torque and thickness of titanium plate on tensile performance of joints were further studied. The results show that moderately increasing the interference between the bolt and the sleeve can effectively improve the stiffness and strength of the joint; increasing the tightening torque within a certain range can increase the bearing capacity of the joint; increasing the thickness of the titanium plate can improve the rigidity of the joint obviously, but the impact on the ultimate breaking load is small.