2017 Vol. 43, No. 3

Display Method:
Volume 43 Issue32017
iconDownload (41288) 1139 iconPreview
Ultrasonic imaging method for distribution uniformity of reinforcement in SiCp/Al composites
SUN Guangkai, ZHOU Zhenggan
2017, 43(3): 417-423. doi: 10.13700/j.bh.1001-5965.2016.0206
Abstract:

In order to improve the accuracy for ultrasonic characterization of the uniformity of SiCp/Al composites, the imaging methods based on ultrasonic attenuation and velocity for the distribution uniformity of SiCp particles were studied. SiCp/Al specimens with different volume fractions of SiCp were prepared. Ultrasonic attenuation imaging for the specimens was carried out by water immersion ultrasonic system, and the relation of ultrasonic attenuation with SiCp volume fraction was analyzed. The quantitative relation of ultrasonic velocity with SiCp volume fraction was analyzed experimentally, and ultrasonic velocity imaging of the specimens was carried out. Metallographic method was used to observe the micro characteristics of the specimens, and the material uniformity of the specimens with different SiCp volume fractions was analyzed. The applicability and accuracy of the imaging methods based on ultrasonic attenuation and velocity were comparatively analyzed. The results present that the ultrasonic attenuation imaging method is suitable for the basic analysis of the distribution of SiCp particles, and the ultrasonic velocity imaging method is more accurate and suitable for the quantitative analysis of SiCp particle distribution.

Booster algorithm and functionality validation of an integrated electro-hydraulic brake system
GAO Feng, YONG Jiawang, DING Nenggen, XU Guoyan
2017, 43(3): 424-431. doi: 10.13700/j.bh.1001-5965.2016.0167
Abstract:

Because the conventional vacuum booster brake systems cannot be applied to electric vehicles directly, an integrated electro-hydraulic brake (IEHB) system, which consists of a hollow brushless DC motor, a ball screw assembly, a 3-chamber master cylinder, a pedal cylinder and a pedal stroke simulator, was developed. The IEHB meets all the future requirements of electric vehicles and active safety technologies, such as electric brake booster, brake-by-wire, coordination with regenerative braking, etc. A sliding mode controller was proposed to improve brake booster performance of the system and Lyapunov function approach is used to ensure the controller robustness. The experimental results show that the proposed controller can control the motor to generate hydraulic pressure in the 3-chamber master cylinder quickly, and force the screw to follow with the push rod well to provide comfortable pedal feeling; the system can also realize brake-by-wire and manpower backup brake functions, and meet the requirements of the regulation; the pedal stroke simulator can generate smooth and continuous pedal feeling.

Isogeometric analysis of Mindlin plate with local gap and overlapping feature
ZHAO Gang, DU Xiaoxiao, WANG Wei
2017, 43(3): 432-440. doi: 10.13700/j.bh.1001-5965.2016.0221
Abstract:

In the frame of isogeometric analysis (IGA), non-uniform rational B-spline (NURBS) serves as both the description of geometries in computer aided design (CAD) and the shape function in finite element analysis (FEA). The common problems of gap and overlapping in NURBS models increase the difficulty of analysis. Based on Mindlin plate theory, the NURBS plate models with gap and overlapping were analyzed by IGA method. The Nitsche method was employed to solve non-conforming problem along models' interfaces. The simulation results of benchmark problem obtained by IGA method were compared with analytical solutions to verify the validity of the presented method. It is demonstrated that Nitsche based IGA method can be used to analyze non-conforming Mindlin plate models with local gap and overlapping feature. Higher NURBS polynomial degrees will produce more accurate IGA results and faster convergence.

Hobbing method of face gear based on spherical hob
WANG Yanzhong, TANG Wen, YIN Yongyao, LAN Zhou, HOU Liangwei, JIA Shuang
2017, 43(3): 441-448. doi: 10.13700/j.bh.1001-5965.2016.0826
Abstract:

Face gear transmission has outstanding advantages, and has broad application prospects in the field of aviation. In order to improve the machining efficiency of face gear, the spherical gear hob and hobbing of face gear based on spherical gear hob were studied. The forming process of gear shaping was derived according to the forming principle. The process of the evolution from the cylindrical gear to the basic worm of spherical gear hob was studied, the forming method of spherical hob was analyzed, and the surface equation and spiral angle of the basic worm of spherical gear hob were deduced. A coordinate system was built for face gear machining process based on spherical hob, and the formula of face gear obtained by hobbing was deduced. The machining simulation of two cases was carried out using VERICUT. The hobbing was performed and the detection results show that the spherical gear cutter can be used in the machining of face gear.

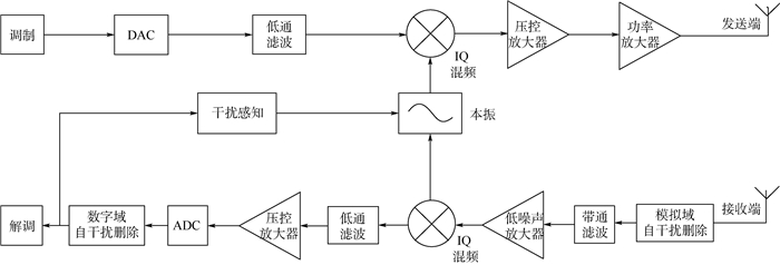
On the IQ imbalance at STAR based cognitive anti-jamming system
LI Haitao, QIAN Yiming
2017, 43(3): 449-456. doi: 10.13700/j.bh.1001-5965.2016.0201
Abstract:

To enhance the anti-jamming capability of cyberspace data-link (CDL) in the complex electromagnetic environment, we explore the problem of the image interference caused by IQ channel imbalance in simultaneous transmit and receive based cognitive anti-jamming (SCAJ) system. The interference sensing of single-and multi-channel SCAJ system impaired by IQ channel imbalance is investigated, and energy detection based detection and false alarm probabilities in closed-form for SCAJ system are derived. Simulation results show that the detection probability of the SCAJ receiver is decreased by IQ channel imbalance, and the proposed interference cancellation scheme can reduce the adverse effect of IQ imbalance.

High-accuracy static aeroelastic analysis of fighter's transonic aileron efficiency and test flight verification
HE Fei, YANG Chao, DAN Dan, LIU Hai, WANG Ming
2017, 43(3): 457-463. doi: 10.13700/j.bh.1001-5965.2016.0202
Abstract:

The transonic aileron efficiency is a hotspot and difficulty in the field of static aeroelastic analysis. The computational fluid dynamics (CFD)/computational structural dynamics (CSD) interaction method can supply high-accuracy resolutions, but it still has problems of mesh deformation robustness and lack of verification. Aimed at the above issues, a new method of mesh deformation based on dummy grids and dummy deformation was developed, and for the problems of non-physical oscillation and non-uniformly convergence in the process of interaction, the lax iteration method and comprehensive residual criterions were used. Based on the methods, the transonic (Ma=0.95) aileron efficiency of a fighter was analyzed, and the shock position/strength and the pressure distribution due to the static aeroelastic deformation were presented. The ration of elastic and rigid aileron efficiency was compared to the results of flight identification, which proves that the methods can meet the requirement of high-accuracy analysis for transonic static aeroelastic problems of control surfaces. The methods are of great significance for static aeroelastic engineering design capability enhancement.

Dynamic modeling and constant power control of wind turbines with trailing-edge flaps
ZHANG Zhen, LU Jingwei, LIANG Yukun
2017, 43(3): 464-471. doi: 10.13700/j.bh.1001-5965.2016.0199
Abstract:

The wind turbine systems with trailing-edge flaps have broad prospects in application of large-scale wind turbine system. In the smart wind turbines with variable trailing-edge flaps, the aerodynamic characteristics of the blades can be regulated by using the trailing-edge flaps, and then the purpose of the constant power output of the wind turbines can be achieved. In this paper, the aerodynamic model of wind turbine blades with variable trailing-edge flaps is presented firstly by blade element moment method. Then a nonlinear dynamic model of smart wind power system is established. The nonlinear model is linearized by dynamic inversion method. Based on the linearized model, the feedback controller is designed through Hcontrol. Finally, simulations are carried out for cases with 12-16 m/s step wind and actual wind based on four component model. Simulation results show that the control strategies are capable of controlling output power of wind power system effectively.

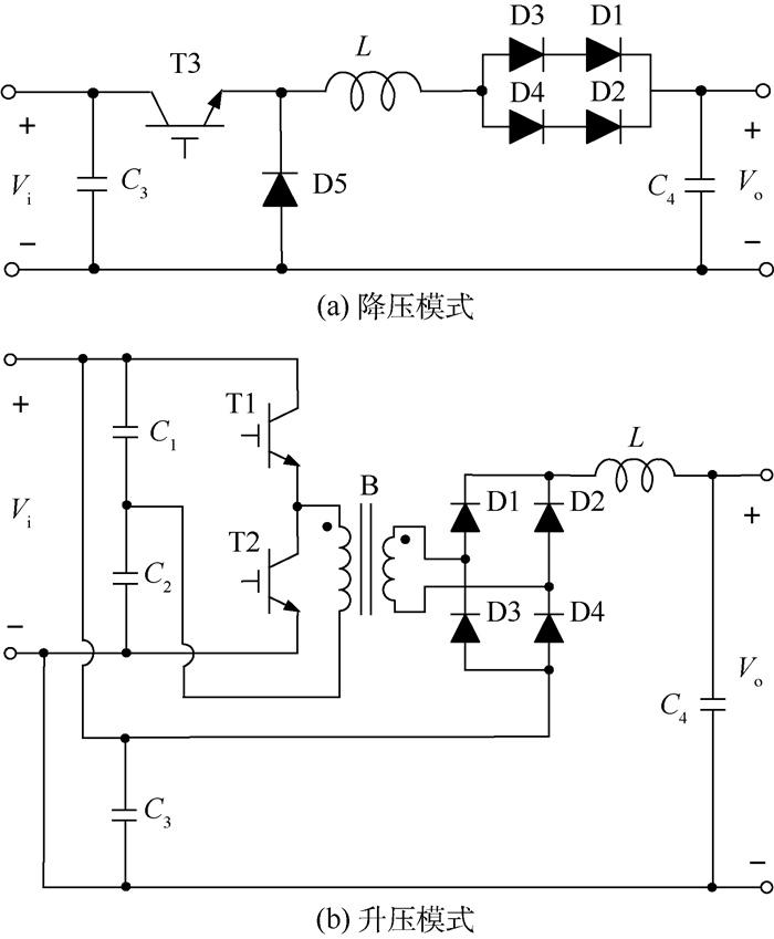
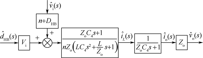
A novel high-power step-up/step-down converter and control methods
DU Qing, CUI Bo, XIA Ning, CAI Xiaodong, QI Bojin, CHENG Yan, ZHU Liying
2017, 43(3): 472-480. doi: 10.13700/j.bh.1001-5965.2016.0225
Abstract:

Two-switch cascade converter is the most appropriate solution for efficient high-power applications among the existing converter topologies. However, the cascade structure and the nonlinear dc gain of Boost circuit are more likely to cause severe oscillations if the criterion for the selection of the operation mode is chosen improperly during step-up/step-down transition. A novel high-power IPOSBHB converter was proposed. The circuit structure and basic relations were analyzed. And the open-loop small-signal model of Buck mode and Boost mode was established. The carrier wave parallel-shifting combinational control method was designed. The inconformity of the transfer functions, the discontinuity caused by duty cycle and the disturbance of input voltage were analyzed and the methods for compensation were also proposed. The carrier wave parallel-shifting combinational control strategy and the compensation methods proposed were easy to be carried out to achieve effective control at steady state and achieve smooth transition at step-up/step-down mode change, and also reduce the adverse effect caused by the disturbance of input voltage. A 15 kW prototype is used to validate the proposed theory.

Adjacent channel interference modeling and assessment on reduction of airborne VHF radio sensitivity
WU Nankai, SU Donglin, HE Hongtao, LIU Yan
2017, 43(3): 481-487. doi: 10.13700/j.bh.1001-5965.2016.0230
Abstract:

Aimed at solving the problem of big error between the measured data and the calculated results of traditional adjacent interference model, the model of signal-to-noise ratio and the model of nonlinear response at receiver radio frequency front end are combined. Considering the noise generated by frequency mixing between adjacent frequency interference signal and the local oscillator phase noise, the model of the reduction of very high frequency (VHF) radio sensitivity is proposed by giving a noise correction factor. The error of the approach is about 3 dB compared with the typical measured data. The comparison between the calculated results and test data shows that the approach can describe the sensitive characteristics of adjacent channel interference accurately. The assessment method of the adjacent channel interference between airborne radios is presented by giving the calculation flow with helicopter fleet application example, which verifies the applicability and effectiveness of the above methods and shows that the approach and assessment method have certain engineering application value.

Trajectory planning of a space manipulator with constant zero-disturbance to base attitude
HUANG Xinghong, JIA Yinghong, XU Shijie, LU Shan
2017, 43(3): 488-496. doi: 10.13700/j.bh.1001-5965.2016.0187
Abstract:

The end effector's position & attitude trajectory planning of a free-floating space robot (FFSR) with constant zero-disturbance to the base attitude was investigated. For a kinematically non-redundant three-degree-of-freedom FFSR, a state transformation between the position & attitude of the end effector and the joint angles was deduced, and then the system equations using the base attitude and joint angles as state variables was presented. According to the system equations, the feasibility of the constant zero-disturbance path planning of the end effector's position & attitude was proved via the controllability condition of a nonlinear system, and then a constant zero-disturbance path planning algorithm was developed by an optimal control strategy. Numerical examples validate the effectiveness of the proposed feasibility conclusion and the path planning algorithm.

Bearing-only target tracking based on ellipsoidal outer-bounding set-membership estimation
LIU Yushuang, ZHAO Yan, WU Falin
2017, 43(3): 497-505. doi: 10.13700/j.bh.1001-5965.2016.0196
Abstract:

For the problem of bearing-only maneuvering target tracking under the unknown-but-bounded noises, this paper proposes an ellipsoidal outer-bounding set-membership estimation (EOB-SME) algorithm. The EOB-SME algorithm has a prediction-correction structure in time update and observation update, which is similar to Kalman filter. For each update, there is a data-depending weighting factor. The observation weighting factor is computed by minimizing the upper bound on a Lyapunov function of the estimation error and the computation load is decreased. The linearization errors of nonlinear observation equation are bounded by an ellipsoid which is combined with the ellipsoid of observation noise to form a new ellipsoid of observation noise. The simulation results show that the proposed algorithm has higher tracking accuracy for bearing-only maneuvering target under the assumption of unknown-but-bounded noise.

Event-based cooperative control of multiple flight vehicles formation
MA Mingyu, DONG Chaoyang, WANG Qing, CHENG Haoyu
2017, 43(3): 506-515. doi: 10.13700/j.bh.1001-5965.2016.0222
Abstract:

This paper is concerned with the cooperative control problem of multiple flight vehicles, and an event-based control policy is investigated. The multiple flight vehicle system is modeled involving directed graph and relative position in the formation. By designing a general trigger function, the states at trigger time are employed to construct the consensus protocol for formation at non-trigger time. The three-dimensional formation can be achieved under non-continuous communication driven by events, and its stability is analyzed in this paper. The overall information is unnecessary in the proposed method. Instead, the information exchange is conducted only at trigger time. Then the controller of each flight vehicle is updated, which could be more applicable to practical situations. A flight formation example is given to illustrate the effectiveness of the proposed method.

A CDKF-CPHD multi-target tracking algorithm based on ML background parameter estimation
MA Tianli, WANG Xinmin, CAO Yuyan, ZHANG Yang
2017, 43(3): 516-523. doi: 10.13700/j.bh.1001-5965.2016.0189
Abstract:

Aimed at the problem of multiple maneuvering targets tracking in low signal-to-clutter ratio backgrounds, a central difference Kalman cardinalized probability hypothesis density filter based on maximum likelihood (ML) background parameter estimation (BE-CDKF-CPHD) is proposed. The ML method is used for estimating the parameters of heavy-tailed distribution, and calculating the detection probability and false alarm probability. The maximum-likelihood constant false alarm rate (ML-CFAR) is employed to process signals. In the CPHD filter, amplitude likelihood function is combined with the likelihood function of target position of the probability hypothesis density filter. The multiple maneuvering target tracking is fulfilled by estimating the mean and variance of posterior multi-target states with central difference Kalman filter. Simulation results show that the novel algorithm improves the estimate performance of target state and number.

Fault detection and fault tolerant control in finite frequency domain for networked control system
CHENG Haoyu, DONG Chaoyang, MA Aojia, WANG Qing
2017, 43(3): 524-532. doi: 10.13700/j.bh.1001-5965.2016.0177
Abstract:

The problem of fault detection and fault tolerant control in finite frequency domain for networked control system with random time delay is investigated in this article. Considering the fault in finite frequency domain, the fault detection filter with prescribed performance is proposed. In order to ensure the control performance of the system, an active fault tolerant controller based on residual feedback is proposed to compensate the fault signal. The sufficient conditions of fault detection filter and active fault tolerant controller satisfying given performance in finite frequency domain are derived. The parameters of the fault detection filter and the active fault tolerant controller are solved by linear matrix inequalities. Numerical simulation shows the superiority and effectiveness of fault detection filter and fault tolerant controller.

Design of neural network controller for a billiard robot
GAO Jiaying, HE Qiuyang, ZHAN Zhixin
2017, 43(3): 533-543. doi: 10.13700/j.bh.1001-5965.2016.0183
Abstract:

This paper focuses on the cue ball controlling problem for a billiard robot. A neural network (NN) controller is designed, and the trained robot is able to stroke the cue ball moving to the target point after colliding with objective ball and cushions. Since the problem is non-linear and non-smooth, the solution is divided into several steps. First, the stroking model and the coordinate definition are described. Second, the kinematic model for cue ball motion and the mirror model for cushion rebounds are established under the ideal smooth assumption. Then, the neural network method is used to modify the ideal models, and the pattern recognition method for trajectories is presented. In the verification test, the trained robot is able to master the cue ball controlling with each pattern. The statistic results tally with the model analysis. Compared with simply adopting neural network method, the method combined with theoretical kinematic analysis will effectively improve the network quality and reduce the training error.

Post-buckling performance of 1/3 composite cylindrical shell with cover
CHEN Zhigang, WU Yongkang, CHENG Xiaoquan, ZHANG Tao
2017, 43(3): 544-550. doi: 10.13700/j.bh.1001-5965.2016.0159
Abstract:

Composite cylindrical shells are already commonly used in structural engineering, and their buckling is of vital importance in the design of such structures. The linear eigenvalue problem can be used as an initial analysis method due to the huge discrepancies observed between test results and theoretical predictions, and one can choose the geometrically nonlinear analysis for further study. The one-third composite cylindrical shells with cover were chosen as research object loaded in compression, and an ABAQUS finite element model was built at first. A linear eigenvalue analysis based on Buckle algorithm and a geometrically nonlinear post-buckling analysis based on Riks algorithm are developed for this research. The strain and load numerical results were matched well with test results. The Riks analysis shows that the structure has the post-buckling carrying capacity and can also reach a stable nonlinear equilibrium path, grasping the critical buckling load accurately, and the buckling modes are more close to the test ones. Therefore, it is more reliable to take the result based on geometrically nonlinear Riks algorithm as design criteria. A general geometrically imperfection sensitivity analysis is performed. The study shows that the cover shell is sensitive to imperfection, and we should improve the quality of processing and reduce the initial geometric imperfection in order to enhance stable performance.

Cell handover algorithm based on prediction in HAPS communication system
HE Panfeng, CHENG Naiping, NI Shuyan
2017, 43(3): 551-558. doi: 10.13700/j.bh.1001-5965.2016.0627
Abstract:

In the environment of stratosphere, the quasi-stationary characteristics of high altitude platform station (HAPS) seriously affect handover performance of the communication system. In the scenes of platform disturbance and mobility of terminal, the handover algorithm based on fixed thresholds is easy to increase the number of unnecessary handover and shows poor handover performance. HAPS coverage model was established, and the handover detection period can be changed with speed of user terminals. Then the adaptive handover algorithm was proposed to trigger handover based on signal strength, which is predicted by differential least mean square method. The upper limit of the radio link failure rates was also derived. The results of simulation indicate that compared with traditional fixed-threshold methods, the proposed algorithm effectively reduces the unnecessary handover, and keeps radio link failure rate under 1%, which makes it adaptable to a variety of communication scenarios.

Design and analysis on uniformity of magnetic flux density in Lorentz force-type magnetic bearing
XU Guofeng, CAI Yuanwen, REN Yuan, FAN Yahong, SUN Jinji, ZHAO Hang
2017, 43(3): 559-566. doi: 10.13700/j.bh.1001-5965.2016.0194
Abstract:

With universal deflection, the high-speed rotor of new magnetically suspended control & sensitive gyroscope (MSCSG) can output high-accuracy and high-bandwidth deflection control torque, which can inhibit periodic vibration of the space-based platform. MSCSG is fully actively controlled in 5 degrees of freedom degrees of freedom (DOF) and its deflection control in 2 radial DOF is realized by Lorentz force-type magnetic bearing (LFMB). Based on basic structure of LFMB, the mathematical model of electromagnetic force and electromagnetic torque were set up and analysis shows that the uniformity of air gap flux density is the main factor that affects output torque accuracy and measuring accuracy of angle rate. The optimized design of LFMB with 1J50 thin slice added to the surface of inside and outside permanent magnet was introduced and the air gap flux density was analyzed to be highly uniform by finite element simulation. The output torque is more accurate and control accuracy is higher. The permanent magnet can support larger magnetic area with a trapezoid cross section to enlarge the air gap flux density and reduce power consumption. Besides, it can remain stable when the rotor is highly rotating. Some useful references can be provided by this paper for the design and analysis of magnetically suspended rotor gyroscope with deflection characteristic.

Modeling and simulation of airborne GNSS ocean reflection signal
QI Yongqiang, ZHANG Bo, YANG Dongkai, LI Bowen, PENG Bo
2017, 43(3): 567-572. doi: 10.13700/j.bh.1001-5965.2016.0242
Abstract:

Due to the large consumption and poor repeatability of global navigation satellite system-reflection (GNSS-R) airborne experiment, it is needed to develop GNSS-R signal simulator. But there is no corresponding signal model. In this paper, a modeling method for airborne GNSS ocean reflection signal, based on data fitting, is proposed. First, the complex GNSS sea surface reflection signal was simplified. Then, the time delay correlation power curve generated by the ZV model was used. The power attenuation model of the ocean reflection signal is established by the nonlinear iterative fitting and the least square fitting. With the method, the time delay, power and Doppler frequency parameters of the airborne GNSS ocean reflection signal could be obtained. Finally, the simulation verification of the multiple combined signals was conducted. The simulation results indicate that the correlation coefficient of the 14 signal correlation power curve and the theoretical curve of the ZV model is better than 0.99, which can be used to generate the GNSS ocean reflection signal effectively. The method simulates the different ocean reflected signals according to the sea surface information such as the sea surface wind field, wave height and wave height, which may lay the foundation for the development of GNSS-R signal simulator.

A multi-tone interference cancellation scheme based on iteration
WANG Xin, ZHANG Xiaolin, CAO Yanbo
2017, 43(3): 573-582. doi: 10.13700/j.bh.1001-5965.2016.0247
Abstract:

For multi-tone interference in orthogonal frequency division multiplexing (OFDM) system, one scheme is proposed, which first increases frequency domain resolution of multi-tone interference identification, and then performs parameter estimation, reconstruction and elimination on several single-tone interference one by one based on iterative computation. In multi-tone interference identification stage, ZoomFFT technology is used to improve the frequency domain resolution and simplify the computational complexity. However, down sampling sequence number after ZoomFFT does not meet the n power of 2. For single-tone interference parameters estimation, the classical maximum likelihood parameter estimation based on DFT (DFT-MLE) can be used. But when the number of sampling points is too large, DFT operation will bring great implementation complexity. Based on DFT-MLE, this paper presents an FFT based single-tone parameters estimation FFT-MLE. It not only reduces the computational complexity, but also provides better robustness on estimation performance compared with DFT-MLE. The simulation results show that this multi-tone interference cancellation scheme is effective.

A channel selection and power control method of UAV data link
ZHANG Wenqiu, DING Wenrui, LIU Chunhui
2017, 43(3): 583-591. doi: 10.13700/j.bh.1001-5965.2016.0166
Abstract:

In complex electromagnetic and natural environment, the reliability of unmanned aerial vehicle (UAV) data link is under serious threat. To solve the problem of channel selection and power control to ensure UAV communication quality, a new channel selection and power control method in combination with relevance vector regression (RVR) is proposed. This method builds mapping model among interference information, bit error rate (BER) and signal noise ratio (SNR) based on RVR. Through the model and real-time interference information, the minimum channel SNR meeting the BER requirements of UAV data link can be predicted, and then minimum transmitted power can be calculated. Channel quality is judged based on the minimum channel transmitted power. The method selects channel while determining transmitted power, and makes the process simpler, using the minimum channel power to realize anti-jamming. Simulation experiment shows that this method can select available channel and adjust power effectively, and restrain interference. The proposed method has low time and energy cost, and is practical.

Haze removal method for UAV reconnaissance images based on image enhancement
HUANG Yuqing, DING Wenrui, LI Hongguang
2017, 43(3): 592-601. doi: 10.13700/j.bh.1001-5965.2016.0169
Abstract:

On account of the unmanned aerial vehicle (UAV) reconnaissance images under the hazy weather conditions, considering the characteristics of UAV itself, this paper proposes a novel method for dehazing UAV reconnaissance images based on image enhancement. Through automatic white balance and contrast enhancement for images respectively, the final restored image can be obtained based on image fusion and auto levels. Then we choose UAV reconnaissance images for haze removal and evaluate the result of the experiment from the perspective of subjective and objective. The experimental results show that the image evaluation indexes of dehazing images are improved obviously. Compared with other typical haze removal methods, the comprehensive index of the image restored by the proposed method increases, which proves that the proposed method can obtain excellent dehazing effect.

Fluctuation analysis of instantaneous availability under minor repair
REN Sichao, YANG Yi, CHEN Yang, KANG Rui
2017, 43(3): 602-607. doi: 10.13700/j.bh.1001-5965.2016.0195
Abstract:

The renewal model of one-unit repairable system with three states (up, minor repair, repair) is put forward on the basis of the renewal model with three states (up, delay-repair, repair). The steady availability is improved in the new model. The renewal equation in the model is transformed into the ordinary differential equation to obtain the analytical expression of instantaneous availability. A novel set of fluctuation theory including the basic definition and decision lemma of fluctuation function is used to analyze the fluctuation of instantaneous availability, which gives conditions for fluctuation existence of instantaneous availability. Combined with the practical background, conditions are used to show the influence of different rates on fluctuation when fault rate is fixed, which provides the method of fluctuation suppression. The method is that mean to repair time is controlled to be less than a quarter of mean to failure time. Simulation results are in agreement with theoretical results.

Seal performance analysis of double-faced gas film in counter-rotating intershafts
LIU Xiaoyu, WANG Zhili, DING Lei, WANG Bowen, LIU Likun
2017, 43(3): 608-614. doi: 10.13700/j.bh.1001-5965.2016.0216
Abstract:

The performance of a double-faced gas film seal system used in counter-rotating intershafts was analyzed. The system's two-degree-of-freedom force balance equation was established. The thickness and force of the film were calculated with finite element method. The seal system's dynamic response to seal disturbance simulated by instantaneous disturbing force and exciting force was solved with the direct numerical simulation. The vibration signal was processed by fast Fourier transform (FFT). The results show that the hydrodynamic-hydrostatic hybrid structure maintains a higher stiffness in a wider thickness range and improves the seal system performance with a good stability. When disturbed by instantaneous force, the seal system's convergence time is impacted by the mass ratio of track and sealing ring. When the exciting force's frequency is not the natural frequency, the seal system is in good stability. Exciting force with resonance frequency strengthens the vibration, increases the leakage and even damages system stability. Thus, this situation should be avoided in the design.

Theoretical research of decision-making point in air combat based on hidden Markov model
FENG Chao, JING Xiaoning, LI Qiuni, YAO Peng
2017, 43(3): 615-626. doi: 10.13700/j.bh.1001-5965.2016.0220
Abstract:

From geometric air combat to energy air combat, till angle air combat theory, the process of air combat is analyzed more from the fighter performance point of view, the effect of the operational pilot in decision-making is neglected. This paper analyzes the variation characteristics of observation data in air combat, and an analysis method for close-range air combat process based on hidden Markov model is proposed. Viterbi algorithm is used to judge the pilot state sequence in air combat, and then the decision-making point is acquired in theory. Through theoretical analysis, the decision-making point in air combat is proposed to judge the pilot's flight quality. Through simulation, the feasibility of discussion of close-range air combat based on Markov model is verified, and when the pilot's decision-making point is in the tendency of surrounding, the pilot has a higher probability of winning.

Samples allocation method based on FMECA information for testability verification test
CHEN Ran, LIAN Guangyao, HUANG Kaoli, YAN Pengcheng, GENG Mengxue, WANG Kai
2017, 43(3): 627-635. doi: 10.13700/j.bh.1001-5965.2016.0163
Abstract:

Sample allocation method of stratified sampling based on failure rate that is widely utilized in testability verification test considers only one single factor, which may lead to inaccurate assessment. Sample allocation method based on multiple factors is difficult to be used in engineering due to its limited representativeness. In this paper, the relation between factors that may influence the sample allocation and information provided by failure mode effect and critically analysis (FMECA) is analyzed in detail, and a sample allocation method based on FMECA information is presented. First, element influence coefficient and influence factor vector are defined and assignment rule of each element is put forward so that influence factors can be selected. Then, samples are allocated after the determination of weight matrix through analytic hierarchy process which is based on technique for order preference by similarity to ideal solution (TOPSIS). Finally, case study is conducted, indicating that the sample allocation method based on FMECA factors has a comprehensive consideration and a flexible application, which is more valuable in engineering.

Analysis of trajectory deviation for spacecraft relative motion in close-range
SHI Hao, ZHAO Yushan, SHI Peng
2017, 43(3): 636-644. doi: 10.13700/j.bh.1001-5965.2016.0641
Abstract:

The trajectory deviation analysis of relative motion in closed-loop control system was conducted with the concept of relative reachable domain (RRD), which is a geometric description for the collection of all the possible relative positions. Given that the state error of spacecraft is subjected to arbitrary Gauss distribution, the RRD could be obtained by assembling the time variable error ellipsoids of position. A closed-loop control system for close-range relative motion based on the linearized dynamical model with measurement and control errors was considered in the problem. The covariance matrix of spacecraft state, which defined the error ellipsoid, was analyzed by covariance analysis describing function technique (CADET). An algorithm for solving the envelope of RRD with the state covariance matrix was proposed subsequently. Comparison between the RRDs, solved in both open-loop and closed-loop systems, and the simulation result of 1 000 Monte Carlo runs demonstrates the feasibility and validity of the proposed method.