2018 Vol. 44, No. 5

Display Method:
Volume 44 Issue52018
iconDownload (26883) 951 iconPreview
Process mining based on statistical α-algorithm
YU Jianbo, DONG Chenyang, LI Chuanfeng, CHENG Hui, SUN Xiwu
2018, 44(5): 895-906. doi: 10.13700/j.bh.1001-5965.2017.0320
Abstract:

Workflow technology is widely used in business process management. However, there are still many problems during the execution of business process because of the imperfect workflow model. Process mining is the most useful tool of workflow modeling, which can obtain objective and valuable information from event logs and build process model. Nevertheless, the existing process mining algorithms still have some problems, such as low accuracy, long operation time and overfitting, which will decreace the accuracy of the workflow model. This paper proposed a new process mining algorithm based on statistical α-algorithm, which can not only ensure the accuracy and suitable fitness, but also decrease the operation time. First, cognominal activity identification rules were proposed to be the pre-treated process of process mining, which could improve the accuracy of algorithm. Second, statistical α-algorithm was proposed as the core algorithm of process mining to eliminate the influence of noise in event logs. Moreover, a new algorithm was proposed to identify non-free-choice constructs, which improved the robustness and accuracy of the algorithm. The accuracy and efficiency of the algorithm are verified by simulation and real case.

Removing baseline drift in vibration signal of autopilot based on morphology
ZHANG Jingyuan, HE Yuzhu
2018, 44(5): 907-913. doi: 10.13700/j.bh.1001-5965.2017.0371
Abstract:

The baseline drift and heavy pollution for vibration test of missile autopilot are still problems. The requirement of denoising is difficult to be achieved by traditional time-frequency method. In this paper, to filter out the baseline drift noise, a new morphological filtering method based on the basic principle of generalized morphology is proposed. The proposed method is composed of three-level structure:the former two are based on the morphological principle, and the third level is designed for cancellation and smoothing. Thus, baseline drift can be effectively suppressed by cascading. In addition, the proposed method is more adaptive by introducing particle swarm optimization (PSO). In the final experiments, the real signals of autopilot and ECG signals are denoised by the proposed method and reference methods. The experimental results show that the proposed method is better than wavelet denoising and traditional morphological denoising in suppressing baseline drift.

Detection and identification method of electromagnetic interference elements in limited-space
LING Bo, LIN Yun, SUN Hongtao, SU Donglin
2018, 44(5): 914-922. doi: 10.13700/j.bh.1001-5965.2017.0347
Abstract:

It is an inevitable trend that more and more divided RF systems are integrated into one rack for the new generation airborne electronic equipment development. However, the "module-based" electromagne-tic compatibility requirements, evaluation methods and other new electromagnetic compatibility issues have been inevitably brought out by the RF integrated technology's change from "device-based" design to "mo-dule-based" design. According to the principals of electromagnetic interference (EMI) element, the EMI detection theory and testing techniques for emission features of RF module in limited-space of integrated racks are researched and discussed, as well as the simulating measures of RF function thread. A novel methodology is proposed for EMI detection and identification in limited-space from the far-field radiation features of integrated racks, near-field emission features of function module and the conducted current emission features of integrated racks' interfacing cables. Many experimental tests are carried out upon one real airborne RF integrated racks by the research team, including far-field radiation tests, near-field emission tests of function module as well as cable current emission tests of the RF integrated racks. This method finally realizes the electromagnetic compatibi-lity test of the function module under the integrated environment, and also is proved to be feasible and accurate.

An adaptive CRPF fault diagnosis method under strong noise condition
WANG Jinhua, CAO Jie, LI Wei, HUANG Ling
2018, 44(5): 923-930. doi: 10.13700/j.bh.1001-5965.2017.0353
Abstract:

Aimed at the problem of low precision in fault diagnosis of nonlinear non-Gaussian system due to serious noise interference under the actual working condition, this paper puts forward a new fault diagnosis method, which can adaptively update the state transition density variance of a cost reference particle filter (CRPF). By designing the correlation discriminant function between the measurement value and the prior state, the variance of the state transition density was adjusted adaptively according to the magnitudes of noise and error, and the adaptability of the algorithm to strong noise interference is dramatically enhanced. Furthermore, the method for designing adaptive threshold of residual was studied, and the sliding window was also introduced to calculate the mean of interval instead of the mean and variance of the adaptive threshold based on parameter confidence interval, which was expected to reduce the calculation time under the premise of ensuring the accuracy of fault diagnosis. Taking 160 MW fuel unit as an example, drum level sensor fault diagnoses under different strong noise conditions were analyzed. From the results, it is found that the accuracy of fault diagnosis in the complex noise environment is obviously improved and the computation time is greatly reduced.

Industrial robot system based on CPS approach
CHEN Youdong, CHANG Shilei, FENG Qiangguo
2018, 44(5): 931-938. doi: 10.13700/j.bh.1001-5965.2017.0374
Abstract:

Industrial robot system based on cyber-physical system (CPS) is a key and enabling technology for intelligent manufacturing. This paper presents an industrial robot system based on CPS approach, which is the fusion of physical world and information world. The system is divided into physical layer, network layer, control layer and application layer. Data from the physical layer are sent to the control layer via the communication layer to update the data in the information world. The application layer analyzes and optimizes these data to make decisions. In the control layer, the decisions are transformed into the device control data. The control data are sent to the physical layer to control the devices through the communication layer. A machining experiment is conducted to validate the feasibility of the method by using the ER3A-C60 industrial robot, MICRO-6013CM smart camera and in-house industrial control system.

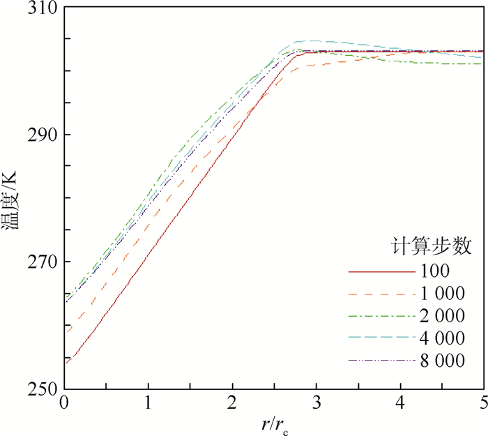
Numerical simulation of hybrid lubrication characteristics of slipper pair of aviation fuel piston pump
FU Jiangfeng, LI Huacong, ZENG Xiaqing, LIU Xianwei
2018, 44(5): 939-950. doi: 10.13700/j.bh.1001-5965.2017.0309
Abstract:

The aim of this paper was to solve the slipper pair lubrication problem of the aero fuel piston pump under the mixed support of dynamic and static pressure. Based on the mathematical model of kinematics and dynamics of slipper pair, the mathematical model of the hybrid lubrication of the slipper pair was established based on the dynamic pressure effect caused by the static pressure support and the irregular spatial curve of sliding shoe movement. Then the lubrication characteristics of slipper pair were simulated based on the finite volume method, and the variation law of the oil film thickness, the influence factors of the oil film pressure distribution and the anti-sliding performance of the sliding shoe were analyzed. The simulation results show that the variation trend of the oil film thickness obtained by the hybrid lubrication is consistent with the actual lubrication state, the thickness of the oil film, the maximum inclination angle of the slipper and the rotor speed have an important influence on the dynamic pressure effect, and the inlet pressure of the slipper pair mainly affects the static pressure of the oil film. The anti-overturning ability of the sliding shoe can be enhanced by increasing the working radius of the bottom surface of the sliding shoe or reducing the radius of the oil pool of the sliding shoe center, so as to counteract the overturning moment of the sliding shoe.

An improved approach for odd-arrangement structure with narrow transition band based on FRM
ZHANG Wenxu, ZHAO Wentong, CHEN Tao, CHEN Yajing
2018, 44(5): 951-958. doi: 10.13700/j.bh.1001-5965.2017.0365
Abstract:

In order to solve the problem of high computation complexity of narrow transition band filter bank, an odd-arrangement non-maximally decimated efficient structure with narrow transition band filter bank based on frequency response masking (FRM) is proposed. Firstly, when the prototype filter of this structure is designed, the FRM filter of the upper arm is obtained through the interpolated prototype filter. Secondly, the complementary filter of the lower arm is obtained by the delay signal subtracted from the interpolated prototype filter. Then the masking filter is used to shield the mirror caused by the interpolated filter. Finally, the desired FRM filter is obtained. The improved structure is simulated by MATLAB, and the simulation results verify the correctness of this improved structure. This efficient structure saves 80% of the multiplier resources compared with the polyphase filter bank architecture. Because the decimation module is located at the front of this improved structure, the limited condition of the sampling rate of the system is reduced and it can be directly used in the high-speed sampling system.

Numerical simulation of 3D hot-air anti-icing chamber based on Eulerian wall film model
LI Yan, GUO Tao, CHANG Hongliang
2018, 44(5): 959-966. doi: 10.13700/j.bh.1001-5965.2017.0362
Abstract:

A new computation method of hot-air anti-icing chamber performance based on Eulerian wall film (EWF) model was presented in this paper. User defined scalar (UDS) of FLUENT software was used to calculate water droplet impingement efficiency by solving droplet governing equation. Mass balance analysis of water collection rate and film evaporation rate was performed to get the mass flow rate of each micro unit, which was used as boundary condition in calculating 3D film thickness distribution driven by air, and then the dynamic model of film flow on anti-icing surface was set up. Based on the above work, conjugate heat transfer model for 3D anti-icing surface was built, and under-relaxation factor was used in solving the loose coupling of inner/outer flow field, water film flow and skin heat conduction. The method of this paper was used in the calculation of a nacelle anti-icing chamber performance, and the results show good compliance with the physical phenomenon. The method in this paper can be used in 3D hot-air anti-icing chamber performance calculation.

A validation metric for model with mixture of random and interval variables
ZHAO Lufeng, LYU Zhenzhou, KAN Lijuan
2018, 44(5): 967-974. doi: 10.13700/j.bh.1001-5965.2017.0345
Abstract:

The existing model validation methods under uncertainty based on theory of probability are only applicable to validate model with random variables, but inapplicable to validate model with the mixture of random and interval variables. To address this issue, the validation method for model with the mixture of random and interval variables is studied in this paper. First, the characteristics of the mathematical model with the mixture of random and interval variables are analyzed. Second, a new validation metric is proposed by using interval theory and probability method. This metric provides a comparison between the cumulative distribution functions (CDFs) of the upper and the lower bounds of the model responses and the empirical CDFs of the upper and the lower bounds of the experimental responses to show the disagreement between the quantitative predictions from a model and the physical observations. The mathematical properties of the new metric are discussed, and its estimation method and procedures are presented. Finally, the feasibility and effectiveness of the proposed validation metric are illustrated by a numerical test case and an engineering application with mixture of random and interval variables.

Assessment of gearbox fatigue reliability based on system PSN curve
MA Hongyi, XIE Liyang
2018, 44(5): 975-981. doi: 10.13700/j.bh.1001-5965.2017.0378
Abstract:

To improve the efficiency of Monte Carlo simulation applied to evaluating the common cause failure probability of complex mechanical system, the concept of system fatigue life PSN curve was set up first, and then a Monte Carlo method for system reliability assessment based on this concept was proposed. With a given constant load, based on the correspondence of probability percentiles between specimen fatigue lives associated with different cyclic stress levels, every single PSN curve of component can be extracted stochastically. According to the linear cumulative damage rule and the corresponding system reliability model, the fatigue life distribution of gear-series-system was acquired. System PSN curve can be obtained by fitting constant load and life distribution. The system can be treated as a component, and the life analysis process of component-system-component has been completed. By means of damage equivalence principle between random load and constant load, the problem of reliability assessment of a complicated series system under random load can be converted to the problem of reliability assessment of component under constant load.

Target tracking algorithm based on adaptive strong tracking CQKF
LIU Chang, YANG Suochang, WANG Liandong, ZHANG Kuanqiao
2018, 44(5): 982-990. doi: 10.13700/j.bh.1001-5965.2017.0312
Abstract:

As cubature quadrature Kalman filter (CQKF) is easily influenced by uncertainty of state-space model and need to know exactly noise statistics, a new type of adaptive CQKF algorithm with strong tracking behavior is proposed. Based on the theory of strong tracking filter, the new algorithm introduces fading factor to adapt to covariance matrix and reinforces residual sequence to be orthogonal, which effectively suppresses the filtering divergence caused by the model uncertainty. In the process of filtering, processing noise and measurement noise should be estimated online by the Sage-Husa noise statistics estimator, which will improve the filter precision under the circumstance of unknown time-varying noise. Simulations of target tracking demonstrate the efficiency and robustness of the algorithm.

Care robot indoor navigation method based on hybrid map
ZHANG Lizhi, CHEN Diansheng, LIU Weihui
2018, 44(5): 991-1000. doi: 10.13700/j.bh.1001-5965.2017.0325
Abstract:

When the care robot is navigating in the indoor 3D structured environment, it is faced with the disadvantage of the large computational cost for map building and the lack of semantic information in the map. This paper presents a hybrid map building method based on point and plane features, which combines the advantages of point and plane features in the map building. Furthermore, an indoor navigation system is built based on the proposed hybrid map. First, point and plane features are fast extracted, and then data association is achieved using the interpretation tree approach. The smoothing and mapping tool is utilized to construct the factor graph and jointly optimize robot poses and landmarks, and the hybrid map is refined and updated. Second, the indoor navigation system is built, which implements the 3D obstacle detection, path planning and motion control. Finally, the indoor navigation experiments were carried out in a corridor environment. With the 2D occupancy grid map constructed by laser as the reference, the performance of map building and robot localization accuracy were analyzed, which proves that the indoor navigation system based on hybrid map shows its advantages in indoor structured environments.

Air target threat evaluation based on RS-TOPSIS
YANG Yuanzhi, YU Lei, ZHOU Zhongliang, RUAN Chengwei
2018, 44(5): 1001-1007. doi: 10.13700/j.bh.1001-5965.2017.0342
Abstract:

Air target threat evaluation is the foundation for weapon allocation and resource management within the ground surface air defense system. Aimed at the problems of real-time and human subjectivity for threat evaluation, an air target threat evaluation model based on RS-TOPSIS is established according to combining rough set (RS) theory and technique for order preference by similarity to ideal solution (TOPSIS). RS theory which can avoid the influence of subjective factors and the requirement for prior information is used to determine the weight of target attribute, then close degree is analyzed with TOPSIS, and threat degree of air target is obtained. The model driven with data is easy to implement and has good real-time performance. The simulation results show that this method can effectively evaluate the threat degree and thus provides a new engineering decision-making method for real-time evaluation of air target threat degree.

Influence of two typical kinds of low-level wind shear on ballistic performance of rockets
CHEN Jianwei, WANG Liangming, LI Zijie
2018, 44(5): 1008-1017. doi: 10.13700/j.bh.1001-5965.2017.0358
Abstract:

According to the wind field features of low-level wind shear, the engineering models of microburst and low-level jet are established based on the principle of fluid mechanics. The wind field models are combined with the six-degree-of-freedom ballistics model of rockets based on exterior ballistics theory. As an example, a kind of empennage-rocket was studied on its ballistic performance of prior trajectory influenced by these two kinds of wind shear. The simulation results show that both of these two kinds of wind shear have impact on the flight time, range, side-slip, falling velocity and attack angle of the rocket. Compared to the microburst, the low-level jet has a higher effect on the ballistic performance of rocket. Improving the strength and scale of these two kinds of wind shear makes a greater impact on the ballistic performance of rocket, and meanwhile, the strength of wind field is the determining factor for wind shear to affect the ballistic performance of rocket.

Anti-periodic modulation jamming performance of pulse Doppler fuze
LIU Shaokun, YAN Xiaopeng, LI Ping, YU Honghai
2018, 44(5): 1018-1025. doi: 10.13700/j.bh.1001-5965.2017.0369
Abstract:

The jamming effect of periodic modulation signal on pulse Doppler (PD) fuze is studied based on the parameter of processing gain to quantitatively analyze and characterize the anti-jamming performance of PD fuze and obtain the factor that affects the anti-jamming performance of PD fuze. The processing gain of the procedure from echo reception to correlation detection under the interference of typical periodic modulation jamming style is derived. The quantitative relation between the anti-jamming performance of PD fuze and the characteristic parameter that affects the anti-jamming performance is obtained. It provides a theoretical basis for the improvement of interference performance of PD fuze and technical support for the interference performance assessment of PD fuze. Theoretical derivation, simulation and measurement results indicate that the anti-jamming performance of PD fuze to periodic amplitude modulation is worse than its anti-jamming performance to periodic frequency modulation, and the anti-periodic modulation jamming performance mainly depends on range gate pulse width, Doppler filter bandwidth and filter type.

TDOA localization of multiple disjoint sources based on a calibration emitter
QIN Zhaotao, WANG Jun, TAO Leiyan, WEI Shaoming
2018, 44(5): 1026-1036. doi: 10.13700/j.bh.1001-5965.2017.0370
Abstract:

The passive source localization accuracy can be greatly reduced due to the sensor position error. A localization algorithm using time difference of arrival (TDOA) for multiple disjoint sources was proposed, which improves the localization accuracy by means of a single calibration emitter. The sensor position error was first reduced by using the calibration emitter, and the corresponding error statistical knowledge was estimated. Then based on the updated sensor position, TDOA localization of multiple disjoint sources with high accuracy was realized by utilizing the algorithm of two-step weighted least squares (TS-WLS). The Cramer-Rao lower bound (CRLB) was theoretically derived to analyze the localization performance of the closed-form algorithm. And the theoretical derivation was validated by the simulations. The simulation results indicate that the localization accuracy of multiple disjoint sources is obviously improved by using calibration correction technique. Moreover, the solution performance is shown to reach the CRLB under small TDOA observation error and sensor position error. The developed estimator is computationally attractive because it does not require initial solution estimation and iterative computation. Furthermore, joint estimation between source positions and sensor positions is not needed, which reduces the calculation amount.

Matching design rules of linear-driven electro-hydrostatic actuator
WANG Zimeng, JIAO Zongxia, LI Xinglu
2018, 44(5): 1037-1047. doi: 10.13700/j.bh.1001-5965.2017.0304
Abstract:

Electro-hydrostatic actuator (EHA) is a highly integrated pump controlled transmission system, and it has been successfully applied to A380 and F35 to drive main flight control surface. However, the traditional EHA composed by rotary motor and axial piston pump has limited dynamic response. This paper introduces a novel linear-driven electro-hydrostatic actuator (LEHA) with fast dynamic response, and studies the parameter design rules of LEHA. The key feature of LEHA is the novel linear pump with collaborative rectification principle. Pistons and valve spools in collaborative rectification pump are directly driven by linear motor. The parameter design rules of LEHA are firstly considered from the static index matching rules, and the constraint conditions of the maximum no-load speed, the constraint condition of the maximum static output force and the constraint condition of the maximum pressure of the system are deduced. According to LEHA's mathematic model, the influence of each parameter on the bandwidth of the LEHA is analyzed, and the dynamic performance design rule of LEHA is obtained, which is the constraint condition of the LEHA bandwidth index to the resonance frequency of the linear motor. The power constraint condition of LEHA is analyzed finally, and the power envelope condition of LEHA for inertial load, elastic load and viscous damping load is given in the output force-velocity coordinates, from which the power matching design rule of the LEHA is obtained. In conclusion, the 6 matching design constraints of LEHA parameter design rule can provide a theoretical basis for the design process of LEHA.

Simulation of analog distortion of dual-frequency multiplexing signal generated by navigation satellite
YU Xiaolong, KOU Yanhong
2018, 44(5): 1048-1055. doi: 10.13700/j.bh.1001-5965.2017.0334
Abstract:

The non-ideal components of the signal generator of a navigation satellite payload can distort the transmitted signal. On the one hand, no applicable analytical model about the ranging performance loss caused by such signal distortions has been established by far. On the other hand, the existing simulation studies about the analog distortions of wide-band dual-frequency multiplexing signals are not quite comprehensive. Taking the correlation loss, S-curve bias, and carrier phase bias as evaluation index, this paper simulates and evaluates the effects of the payload analog components including the high power amplifier (HPA), pre-HPA filter, and output multiplexer (OMUX) on the ranging performance of 4 different dual-frequency multiplexing modulations including AltBOC, TD-AltBOC, ACEBOC and AltLOC. In the simulation, we employ a memory behavioral model of HPA instead of a memoryless model, taking the effects of different pre-HPA filter bandwidth and HPA operating points into account. In addition, the performance loss of the distorted signal relative to the ideal signal is evaluated for both the double sideband and the single sideband pilot tracking methods. The study provides a useful reference for not only the comparison and evaluation of different signal modulation schemes but also the optimization design of the payload signal generator.

Dynamic accuracy uncertainty analysis of harmonic reducer based on PCE
ZHANG Jinyang, ZHANG Jianguo, PENG Wensheng, LIU Yuqiang, WANG Long
2018, 44(5): 1056-1065. doi: 10.13700/j.bh.1001-5965.2017.0305
Abstract:

The dynamic accuracy of the harmonic reducer is related to the parts' tolerance and assembly clearance as well as the flexibility and friction of the harmonic reducer. Most of the published literatures consider only a single factor and do not take into account the influence of model parameter uncertainty. In this paper, the dynamic accuracy is researched considering static factors (machining and assembly) and dynamic characteristics (flexibility and friction). The nonlinear dynamic model is established, which contains static error and flexibility term. Polynomial chaos expansion (PCE) is used to handle the parameter sensitivity and uncertainty. By comparison, PCE is more efficient than Monte Carlo. Dynamic accuracy reliability is finally obtained through reliability analysis based on dynamic accuracy PCE.

First-principles study of Se doped GeTe phase-change material
FANG Zhiqian, MIAO Naihua, ZHOU Jian
2018, 44(5): 1066-1073. doi: 10.13700/j.bh.1001-5965.2017.0332
Abstract:

Doping Se can significantly improve the recrystallization temperature of GeTe phase-change material according to recent experiments, endowing GeTe with a higher working temperature and better data retention. However, the impact of Se on the structure and electrical properties of GeTe is not clear. In this paper, we investigated the effect of Se on the microstructure, bonding characters and electrical properties of crystalline GeTe using first-principles calculation. The results show that the doping Se atom prefers to replace Te in ideal GeTe, while for GeTe systems with intrinsic Ge vacancies, Se tends to replace the Te atoms which are the nearest neighbors of Ge vacancy. The attraction between Se atom and Ge vacancies hinders the movement of Ge vacancies, and thus increases the recrystallization temperature. Furthermore, a shrink of lattice volume and a small reduction of band gap are found in rhombohedral GeTe with Ge vacancies through doping Se, while in face-centered cubic GeTe with Ge vacancies, Se doping causes an expansion in lattice volume and an increase in band gap. Doping Se reduces the volume discrepancy between the two crystalline phases. The calculation results provide clues for explaining the unique phase transformation phenomena of Se doped phase-change materials.

A deep learning based interactive recognition method for telephone numbers
HAN Jingye, XU Fu, CHEN Zhibo, LIU Hui
2018, 44(5): 1074-1080. doi: 10.13700/j.bh.1001-5965.2017.0357
Abstract:

Some sectors such as logistics, insurance and intermediary agents need to make calls frequently. Manually callings lead to low efficiency, so that telephone number recognition has important practical values. The traditional methods for printed number recognition involve complicated templates designing, which cannot meet the requirements of practical applications. An interactive method based on deep learning is proposed to recognize telephone numbers. Through double-clicking the phone number in an image, this method automatically crops the target area which contains the number and performs preprocessing operations such as grayscale, binarization, target area localization, character segmentation and image padding. An improved LeNet-5 convolutional neural network (CNN) is utilized to make image recognition, which supports the recognition of printed numbers in a variety of fonts, glyphs and font sizes. The recognition speed is optimized through multiple means such as interactive recognition and memory pool. Experimental results show that the accuracy of recognition for a single character is 99.86%, the accuracy for a telephone number is 99.50%, and the average recognition time of a telephone number is 91 ms. Comparing with the traditional methods, the new method has relatively higher accuracy and faster speed in recognition, which can be widely used in many sectors.

Multi-phase residual life prediction of engines based on Wiener process
HUANG Liang, LIU Junqiang, GONG Yingjie
2018, 44(5): 1081-1087. doi: 10.13700/j.bh.1001-5965.2017.0383
Abstract:

Due to the fact that the research on the life prediction of the engine does not take into account both the nonlinearity and the multi-stage problems at the present stage, a method for forecasting the residual life of aeroengines in real time based on multi-phase nonlinear Wiener process is proposed. This method can effectively fuse the historical performance degradation monitoring data of the same type of aeroengines with the real-time monitoring data of the individual aeroengine. Firstly, the nonlinearity of performance degradation is considered, and the multi-stage Wiener process was used to establish the performance degradation model of engine. Secondly, according to the historical performance monitoring data of the aeroengines, the prior distribution of parameters is estimated by using maximum likelihood estimation and one-dimensional search method. Thirdly, according to the real-time performance degradation data of individual aeroengine and the prior distribution, the Bayesian method is used to update the model parameters. Finally, the real-time predicted values of the residual life of the individual aeroengine are obtained. By the test of the actual data, the results show that the proposed method is accurate.

A reliability modeling and analysis method for PMS considering common cause failure
WU Huan, JIAO Jian, ZHAO Tingdi
2018, 44(5): 1088-1094. doi: 10.13700/j.bh.1001-5965.2017.0386
Abstract:

Common cause failures (CCFs) in a system destroy the hypothesis that the failures are independent, which may significantly impact the reliability evaluation of the system, especially the phased-mission system (PMS). Aimed at the impact of probabilistic common cause failure (PCCF) on reliability of mission in PMS, this paper discussed the relationship between common cause events and extended the probabilistic model of common cause events using Bayesian theory to make the model fit for different statistical relations including mutually exclusive, s-independent and s-dependent. Moreover, a module-based modeling and analysis method using binary decision diagram (BDD) and Markov model was proposed. First, the fault tree of each phase was constructed. Then, considering CCF, BDD and Markov model were used to deal with the static and dynamic module in PMS respectively. Third, mission reliability was evaluated using total probability law. Finally, a case study of satellite for its orbit transfer was supplied to verify the effectiveness of the method. In addition, the result of this paper was compared with the existing case to analyze the influence of CCFs on mission reliability.

Dynamic modeling and loading experiment of multi-dimensional loading device
HOU Liguo, WANG Dan, AN Dawei, GUO Jiangzhen, CHEN Wuyi, FAN Rui
2018, 44(5): 1095-1101. doi: 10.13700/j.bh.1001-5965.2017.0349
Abstract:

A multi-dimensional loading device based on a 6-PUS parallel mechanism was designed to apply time-varying multi-dimensional loads to target. Firstly, according to the principle of vector superposition and Newton-Raphson method, the inverse and forward kinematics of loading device were analyzed. Secondly, based on the screw theory, the velocity and static force Jacobian matrix, which represent the kinematic and static mapping between the moving platform and actuations, were derived. Thirdly, according to the principle of virtual work, the dynamic model of loading device was established and validated by comparing the actuation forces derived from Adams and MATLAB simulation models. Finally, the multi-dimensional loading tests were designed and completed to verify the multi-dimensional loading ability of the device. The loading device provides a new loading method and theoretical basis for the loading tests of numerical control machine tools.

Uncertainty quantification analysis in hypersonic aerothermodynamics due to freestream
ZHANG Wei, WANG Xiaoyong, YU Jian, YAN Chao
2018, 44(5): 1102-1109. doi: 10.13700/j.bh.1001-5965.2017.0303
Abstract:

The CFD calculation is usually deterministic. However, errors and uncertainties always exist in the numerical simulation of complex engineering. Analysis and identification of source of uncertainty, and quantification of uncertainty play important roles in assessing the credibility of simulation results. Uncertainties are generally ubiquitous in highly complex aerospace systems. To obtain more reliable aerothermodynamics prediction, the uncertainty quantification and sensitivity analysis were carried out for the returning capsule hypersonic reentry flight. First, four uncertainty input variables (freestream velocity, freestream temperature, wall temperature and freestream density) were selected, whose variation ranges are ±120 m/s (±2%), ±10%, ±10% and ±10% respectively. And the samples were generated by Latin hypercube Design. Then, the thermochemical non-equilibrium numerical simulation method was used to calculate the aerodynamic heat. Finally, methods based on non-intrusive polynomial chaos(NIPC) and Sobol index were applied to uncertainty quantification and sensitivity analysis. The results show that the wall heat flux is not less than 15.9% under the given condition of uncertainty input variable uncertainty, and the peak value of the stagnation and shoulder are about 19.8% (0.087 MW/m2) and 17.3% (0.076 MW/m2) respectively. The uncertainty of heat flux is more sensitive to freestream density and velocity, and meanwhile freestream temperature and wall temperature variations almost have no impact on heat flux.

Exploration of tornado maintenance features
DI Haoyu, XU Jinglei, GAO Ge
2018, 44(5): 1110-1116. doi: 10.13700/j.bh.1001-5965.2017.0387
Abstract:

A numerical model of the tornado was established by using computational fluid dynamics (CFD) method. Based on the speed type of the tornado in the plane, which was fitted to be the function relation, the initial velocity field and the related boundary condition were set in the 3D CFD program. Different initial temperature fields were carried out on a series of numerical simulations of tornado maintenance and development. The Ranque-Hilsch effect of the whirlpool and the convergence heat transfer principle were used to analyze the changes of the internal flow field variables of the two different temperature types in the tornado. It reveals the possibility of how the tornado was produced and continued, that is, the hot and cold air flow mixing and heat transfer which generated a temperature field may be the direct cause for producing and continuing a tornado. And a method to make tornado weak or even disappear was proposed, that is, destroying the temperature field.