Volume 45 Issue 11
Nov.  2019
Turn off MathJax
Article Contents
XU Chang, LIU Zhiming. Experimental study and numerical simulation on CFRP flat-joggle-flat joints[J]. Journal of Beijing University of Aeronautics and Astronautics, 2019, 45(11): 2207-2216. doi: 10.13700/j.bh.1001-5965.2019.0062(in Chinese)
Citation: XU Chang, LIU Zhiming. Experimental study and numerical simulation on CFRP flat-joggle-flat joints[J]. Journal of Beijing University of Aeronautics and Astronautics, 2019, 45(11): 2207-2216. doi: 10.13700/j.bh.1001-5965.2019.0062(in Chinese)

Experimental study and numerical simulation on CFRP flat-joggle-flat joints

doi: 10.13700/j.bh.1001-5965.2019.0062
Funds:

National Key R & D Program of China 2016YFB1200505-011

More Information
  • Corresponding author: LIU Zhiming.E-mail:zhmliu1@bjtu.edu.cn
  • Received Date: 22 Feb 2019
  • Accepted Date: 19 Apr 2019
  • Publish Date: 20 Nov 2019
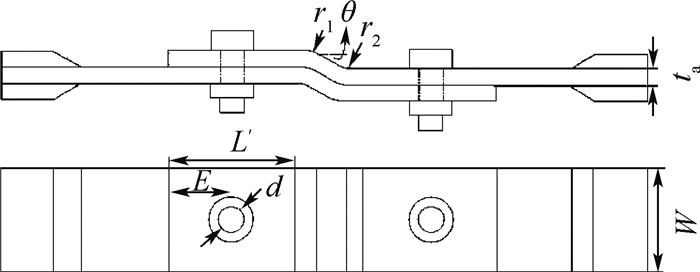
  • Both experimental tests and numerical simulation were implemented to investigate the strength and failure problem of carbon fiber reinforced plastics (CFRP) flat-joggle-flat (FJF) joints. Based on the commercial finite element analysis software ABAQUS, strength prediction models of the FJF joints were built. Compared with the test results, the failure modes and the carrying capacity of the joints were studied under the tensile load condition. Meanwhile, the effect of the lap length on the joint strength and failure modes was analyzed. The results show that the carrying capacity for each joint predicted by the model has the error value under 3.5%, which illustrates good accuracy with the test results. For different lap lengths, the strength of the FJF hybrid joint is higher than that of the bonded and bolted joint. The strength of each joint increases with the lap length, but tends to flatten when the lap length increases to a certain level. As the lap length is small, the failure of the FJF hybrid joint is manifested by the fracture of the adhesive layer along the lap zone and the bearing failure. For larger lap length, the failure modes are changed into the tensile fracture of the laminated plate near the hole and the fracture of the adhesive layer extending to the hole edge.

     

  • loading
  • [1]
    周伟旭.碳纤维增强树脂基复合材料在轨道交通车辆车体中的应用与思考[J].城市轨道交通研究, 2018(12):10-13.

    ZHOU W X.On the application of carbon fiber reinforced polymer to rail transit composite carbody[J].Urban Mass Transit, 2018(12):10-13(in Chinese).
    [2]
    彭大伟.中国中车在全球最大轨道交通展发布新一代碳纤维地铁[EB/OL].(2018-09-19)[2019-04-23].

    PENG D W.CRRC launched a new generation of carbon fiber subway at the world largest rail transit exhibition[EB/OL].(2018-09-19)[2019-04-23].in Chinese).
    [3]
    赵丽滨, 徐吉峰.先进复合材料连接结构分析方法[M].北京:北京亚洲成人在线一二三四五六区出版社, 2015:73-74.

    ZHAO L B, XU J F.Analytic method of joints for advanced composite materials[M].Beijing:Beihang University Press, 2015:73-74(in Chinese).
    [4]
    CHOWDHURY N M, WANG J, CHIU W K, et al.Static and fatigue testing bolted, bonded and hybrid step lap joints of thick carbon fibre/epoxy laminates used on aircraft structures[J].Composite Structures, 2016, 142:96-106. doi: 10.1016/j.compstruct.2016.01.078
    [5]
    FERNÁNDEZ-CANÑADAS L M, IVÁÑEZ I, SANCHEZ-SAEZ S.Influence of the cohesive law shape on the composite adhesively-bonded patch repair behaviour[J].Composites Part B:Engineering, 2016, 91:414-421. doi: 10.1016/j.compositesb.2016.01.056
    [6]
    HESHMATI M, HAGHANI R, AL-EMRANI M, et al.On the strength prediction of adhesively bonded FRP-steel joints using cohesive zone modelling[J].Theoretical and Applied Fracture Mechanics, 2018, 93:64-78. doi: 10.1016/j.tafmec.2017.06.022
    [7]
    MATTA S, RAMJI M.Prediction of mechanical behaviour of adhesively bonded CFRP scarf jointed specimen under tensile loading using localised DIC and CZM[J].International Journal of Adhesion and Adhesives, 2019, 89:88-108. doi: 10.1016/j.ijadhadh.2018.12.002
    [8]
    徐云研, 程小全, 张纪奎, 等.复合材料蜂窝夹层结构T型接头拉伸性能研究[J].工程力学, 2015, 32(7):243-248.

    XU Y Y, CHENG X Q, ZHANG J K, et al.Study on composite honeycomb sandwich structure formed T-joints under tensile load[J].Engineering Mechanics, 2015, 32(7):243-248(in Chinese).
    [9]
    SENTHIL K, AROCKIARAJAN A, PALANINATHAN R.Numerical study on the onset of initiation of debond growth in adhesively bonded composite joints[J].International Journal of Adhesion and Adhesives, 2018, 84:202-219. doi: 10.1016/j.ijadhadh.2018.03.009
    [10]
    JOSEPH A P K, DAVIDSON P, WAAS A M.Open hole and filled hole progressive damage and failure analysis of composite laminates with a countersunk hole[J].Composite Structures, 2018, 203:523-538. doi: 10.1016/j.compstruct.2018.06.120
    [11]
    YANG Y X, LIU X S, WANG Y Q, et al.A progressive damage model for predicting damage evolution of laminated composites subjected to three-point bending[J].Composites Science and Technology, 2017, 151:85-93. doi: 10.1016/j.compscitech.2017.08.009
    [12]
    ZHAO L B, YANG W, CAO T C, et al.A progressive failure analysis of all-C/SiC composite multi-bolt joints[J].Composite Structures, 2018, 202:1059-1068. doi: 10.1016/j.compstruct.2018.05.029
    [13]
    RICCIO A, DI COSTANZO C, DI GENNARO P, et al.Intra-laminar progressive failure analysis of composite laminates with a large notch damage[J].Engineering Failure Analysis, 2017, 73:97-112. doi: 10.1016/j.engfailanal.2016.12.012
    [14]
    MARANNANO G, ZUCCARELLO B.Numerical experimental analysis of hybrid double lap aluminum-CFRP joints[J].Composites Part B:Engineering, 2015, 71:28-39. doi: 10.1016/j.compositesb.2014.11.025
    [15]
    ARMENTANI E, LAISO M, CAPUTO F, et al.Numerical FEM evaluation for the structural behaviour of a hybrid (bonded/bolted) single-lap composite joint[J].Procedia Structural Integrity, 2018, 8:137-153. doi: 10.1016/j.prostr.2017.12.015
    [16]
    孟毛毛, 赵美英, 弥晓亮, 等.胶-螺混合连接结构强度分析及影响因素研究[J].航空工程进展, 2013, 4(2):186-192. doi: 10.3969/j.issn.1674-8190.2013.02.009

    MENG M M, ZHAO M Y, MI X L, et al.Analysis of the bonded-bolted hybrid composite joints' strength and influences[J].Advances in Aeronautical Science and Engineering, 2013, 4(2):186-192(in Chinese). doi: 10.3969/j.issn.1674-8190.2013.02.009
    [17]
    KISHORE A N, PRASAD N S.An experimental study of flat-joggle-flat bonded joints in composite laminates[J].International Journal of Adhesion and Adhesives, 2012, 35(7):55-58.
    [18]
    王毅, 冯宪章, 李磊, 等.复合材料层合板二次共固化补强胶层失效分析研究[J].机械强度, 2012, 34(6):862-867.

    WANG Y, FENG X Z, LI L, et al.Bonding adhesive damage study of the secondary co-cure reinforcement tensile experiment[J].Journal of Mechanical Strength, 2012, 34(6):862-867(in Chinese).
    [19]
    MCARTHY M A, MCCARTHY C T, LAWLOR V P, et al.Three-dimensional finite element analysis of single-bolt, single-lap composite bolted joints:Part Ⅰ-model development and validation[J].Composite Structures, 2005, 71(2):140-158. doi: 10.1016/j.compstruct.2004.09.024
    [20]
    ASHITH P K J, PAUL D, ANTHONY M W.Progressive damage and failure analysis of single lap shear and double lap shear bolted joints[J].Composites Part A, 2018, 113:264-274. doi: 10.1016/j.compositesa.2018.07.018
    [21]
    HU X F, HARIS A, RIDHA M, et al.Progressive failure of bolted single-lap joints of woven fibre-reinforced composites[J].Composite Structures, 2018, 189:443-454. doi: 10.1016/j.compstruct.2018.01.104
    [22]
    李占伟.复合材料层合板损伤失效模拟分析[D].哈尔滨: 哈尔滨工程大学, 2012: 20-21.

    LI Z W.Simulation analysis of composite laminate failure[D].Harbin: Harbin Engineering University, 2012: 20-21(in Chinese).
    [23]
    TSERPES K I, LABEAS G, PAPANIKOS P, et al.Strength prediction of bolted joints in graphite/epoxy composite laminate[J].Composite Part B:Engineering, 2002, 33:521-529. doi: 10.1016/S1359-8368(02)00033-1
    [24]
    李进亚.复合材料蜂窝夹芯板低速冲击损伤研究[D].南京: 南京亚洲成人在线一二三四五六区, 2012: 10-11. http://www.cnki.com.cn/Article/CJFDTotal-FUHE803.023.htm

    LI J Y.Studies on low-velocity impact damage of composite honeycomb sandwich panel[D].Nanjing: Nanjing University of Aeronautics and Astronautics, 2012: 10-11(in Chinese). http://www.cnki.com.cn/Article/CJFDTotal-FUHE803.023.htm
    [25]
    FIONN D, NIK P.Introduction to computational plasticity[M].Oxford:Oxford University Press, 2005:175-176.
    [26]
    王佩艳, 王富生, 朱振涛, 等.复合材料机械连接件的三维累积损伤研究[J].机械强度, 2010, 32(5):814-818.

    WANG P Y, WANG F S, ZHU Z T, et al.3D numerical calculation of damage accumulation for composite single bolted joint[J].Journal of Mechanical Strength, 2010, 32(5):814-818(in Chinese).
    [27]
    姜晓伟, 曾建江, 曾昭炜, 等.配合方式对复合材料单钉单剪螺栓连接接头刚度的影响及其机制[J].复合材料学报, 2016, 33(3):589-596.

    JIANG X W, ZENG J J, ZENG S W, et al.Influence and mechanism of fitting mode on stiffness of single-bolt, single-lap composite bolted joint[J].Acta Materiae Compositae Sinica, 2016, 33(3):589-596(in Chinese).
    [28]
    梁祖典, 燕瑛, 张涛涛, 等.复合材料单搭接胶接接头试验研究与数值模拟[J].北京亚洲成人在线一二三四五六区学报, 2014, 40(12):1786-1792. http://bhxb.cqjj8.com/CN/abstract/abstract13114.shtml

    LIANG Z D, YAN Y, ZHANG T T, et al.Experimental investigation and numerical simulation of composite laminate adhesively bonded single-lap joints[J].Journal of Beijing University of Aeronautics and Astronautics, 2014, 40(12):1786-1792(in Chinese). http://bhxb.cqjj8.com/CN/abstract/abstract13114.shtml
    [29]
    孙中雷, 张国凡.复合材料胶接接头强度设计研究[J].计算机仿真, 2017, 34(3):46-50. doi: 10.3969/j.issn.1006-9348.2017.03.011

    SUN Z L, ZHANG G F.Strength design of adhesively bonded composite double-lap joints[J].Computer Simulation, 2017, 34(3):46-50(in Chinese). doi: 10.3969/j.issn.1006-9348.2017.03.011
  • 加载中

Catalog

    通讯作者: 陈斌, bchen63@163.com
    • 1. 

      沈阳化工大学材料科学与工程学院 沈阳 110142

    1. 本站搜索
    2. 百度学术搜索
    3. 万方数据库搜索
    4. CNKI搜索

    Figures(14)  / Tables(3)

    Article Metrics

    Article views(951) PDF downloads(307) Cited by()
    Proportional views
    Related

    /

    DownLoad:  Full-Size Img  PowerPoint
    Return
    Return