Volume 44 Issue 11
Nov.  2018
Turn off MathJax
Article Contents
XIA Changfeng, CAI Yuanwen, REN Yuan, et al. Principle analysis and modeling of rotor imbalance vibration in magnetically suspended control and sensing gyroscope[J]. Journal of Beijing University of Aeronautics and Astronautics, 2018, 44(11): 2321-2328. doi: 10.13700/j.bh.1001-5965.2018.0044(in Chinese)
Citation: XIA Changfeng, CAI Yuanwen, REN Yuan, et al. Principle analysis and modeling of rotor imbalance vibration in magnetically suspended control and sensing gyroscope[J]. Journal of Beijing University of Aeronautics and Astronautics, 2018, 44(11): 2321-2328. doi: 10.13700/j.bh.1001-5965.2018.0044(in Chinese)

Principle analysis and modeling of rotor imbalance vibration in magnetically suspended control and sensing gyroscope

doi: 10.13700/j.bh.1001-5965.2018.0044
Funds:

National Natural Science Foundation of China 51475472

National Natural Science Foundation of China 61403396

National Natural Science Foundation of China 51605489

More Information
  • Corresponding author: REN Yuan, E-mail:renyuan_823@aliyun.com
  • Received Date: 18 Jan 2018
  • Accepted Date: 02 Mar 2018
  • Publish Date: 20 Nov 2018
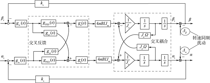
  • Magnetically suspended control and sensing gyroscope (MSCSG) is a kind of new-concept gyro, which takes Lorentz force magnetic bearing as torquer to drive the rotor to tilt in radial direction. As there is dynamic unbalance in the magnetically suspended rotor system because of the uneven mass distribution, the generation principle of imbalance vibration is analyzed and the analytic model of it is established. First, the working principle of MSCSG is introduced. Then, the geometric analytic relation between geometric and inertial axis of rotor is determined on condition that rotor is unbalanced; the mathematic model of unba-lance vibration torque is established and the observability of imbalance disturbance is demonstrated. The model of bearing-rotor control system containing vibration source is constructed and the vibration generation mechanism in closed-loop system is analyzed. The dynamic response characteristics of unbalance vibration with different rotate speeds are simulated and the simulation result indicates the correctness of the proposed model. Finally, the requirement for suppression of unbalance vibration is put forward according to its vibration characteristics, which lays the theoretical foundation for realizing MSCSG rotor imbalance vibration control.

     

  • loading
  • [1]
    夏长峰, 蔡远文, 任元, 等.磁悬浮控制敏感陀螺转子前馈解耦内模控制[J].北京亚洲成人在线一二三四五六区学报, 2018, 44(3):480-488.

    XIA C F, CAI Y W, REN Y, et al.Feedforward decoupling and internal model control for rotor of magnetically suspended control and sensing gyroscope[J].Journal of Beijing University of Aeronautics and Astronautics, 2018, 44(3):480-488(in Chinese).
    [2]
    夏长峰, 蔡远文, 任元, 等.MSCSG转子系统的扩展双频Bode图稳定性分析方法[J].宇航学报, 2018, 39(2):168-176.

    XIA C F, CAI Y W, REN Y, et al.Stability analysis method with extended double-frequency Bode diagram for rotor of MSCSG[J].Journal of Astronautics, 2018, 39(2):168-176(in Chinese).
    [3]
    ZHENG S Q, LI H T, HAN B C, et al.Power consumption reduction for magnetic bearing systems during torque output of control moment gyros[J].IEEE Transactions on Power Electronics, 2017, 32(7):5752-5759. doi: 10.1109/TPEL.2016.2608660
    [4]
    HAN B C, ZHENG S Q, LI H T, et al.Weight-reduction design based on integrated radial-axial magnetic bearing of a large scale MSCMG for space station application[J].IEEE Transactions on Industrial Electronics, 2016, 64(3):2205-2214.
    [5]
    LIU X K, ZHAO H, YAO Y, et al.Modeling and analysis of micro-spacecraft attitude sensing with gyrowheel[J].Sensors, 2016, 16(8):1321-1328. doi: 10.3390/s16081321
    [6]
    FANG J C, ZHENG S Q, HAN B C.Attitude sensing and dynamic decoupling based on active magnetic bearing of MSDGCMG[J].IEEE Transactions on Instrumentation and Measurement, 2012, 61(2):338-348. doi: 10.1109/TIM.2011.2164289
    [7]
    REN Y, CHEN X C, CAI Y W, et al.Attitude-rate measurement and control integration using magnetically suspended control and sensitive gyroscopes[J].IEEE Transactions on Industrial Electronics, 2018, 65(6):4921-4932. doi: 10.1109/TIE.2017.2772161
    [8]
    ZHENG S Q, HAN B C, FENG R, et al.Vibration suppression control for AMB-supported motor driveline system using synchronous rotating frame transformation[J].IEEE Transactions on Industrial Electronics, 2015, 62(9):5700-5708. doi: 10.1109/TIE.2015.2407857
    [9]
    CHEN Q, LIU G, ZHENG S Q.Suppression of imbalance vibration for AMBs controlled driveline system using double-loop structure[J].Journal of Sound & Vibration, 2015, 337(2):1-13.
    [10]
    ZHENG S Q, FENG R.Feedforward compensation control of rotor imbalance for high-speed magnetically suspended centrifugal compressors using a novel adaptive notch filter[J].Journal of Sound & Vibration, 2016, 366(3):1-14.
    [11]
    ZHOU J X, ZHENG S Q, HAN B C, et al.Effects of notch filters on imbalance rejection with heteropolar and homopolar magnetic bearings in a 30-kW 60000-rpm motor[J].IEEE Transactions on Industrial Electronics, 2017, 64(10):8033-8039. doi: 10.1109/TIE.2017.2694412
    [12]
    CHEN Q, LIU G, HAN B C.Unbalance vibration suppression for AMBs system using adaptive notch filter[J].Mechanical Systems and Signal Processing, 2017, 93(9):136-150.
    [13]
    WANG Y G, FANG J C, ZHENG S Q.A field balancing technique based on virtual trial-weights method for a magnetically levitated flexible rotor[J].Journal of Engineering for Gas Turbines & Power, 2014, 136(9):1-7.
    [14]
    TANG E Q, HAN B C, ZHANG Y.Optimum compensator design for the flexible rotor in magnetically suspended motor to pass the first bending critical speed[J].IEEE Transactions on Industrial Electronics, 2016, 63(1):343-354. doi: 10.1109/TIE.2015.2472534
    [15]
    FANG J C, XU X B, TANG J Q, et al.Adaptive complete suppression of imbalance vibration in AMB systems using gain phase modifier[J].Journal of Sound & Vibration, 2013, 332(24):6203-6215.
    [16]
    XU X B, FANG J C, LI H T, et al.Active suppression of imbalance vibration in the magnetically suspended control moment gyro[J].Journal of Vibration and Control, 2015, 21(5):990-998.
    [17]
    PENG C, FAN Y H, HUANG Z Y, et al.Frequency-varying synchronous micro-vibration suppression for a MSFW with application of small-gain theorem[J].Mechanical Systems and Signal Processing, 2016, 82(6):432-447.
    [18]
    CUI P L, WANG Q R, ZHANG G X, et al.Hybrid fractional repetitive control for magnetically suspended rotor systems[J].IEEE Transactions on Industrial Electronics, 2017, 65(4):3491-3495.
    [19]
    崔培玲, 盖玉欢, 李海涛.基于复合前馈补偿的混合磁悬浮CMG转子主动振动控制[J].振动与冲击, 2015, 34(22):162-166.

    CUI P L, GAI Y H, LI H T.Active vibration control of an active-passive hybrid magnetically suspended rotor based on composite feedforward compensation method[J].Journal of Vibration and Shock, 2015, 34(22):162-166(in Chinese).
    [20]
    刘超, 刘刚, 赵光再.主被动磁悬浮高速转子系统的自动平衡控制[J].光学精密工程, 2015, 23(3):714-722.

    LIU C, LIU G, ZHAO G Z.Autobalancing control of high-speed rotor suspended by active-passive hybrid magnetic bearings[J].Optics and Precision Engineering, 2015, 23(3):714-722(in Chinese).
    [21]
    YU Y J, YANG Z H, HAN B C, et al.Active vibration control of magnetically suspended wheel using active shaft deflection[J].IEEE Transactions on Industrial Electronics, 2017, 64(8):6528-6533. doi: 10.1109/TIE.2017.2682786
    [22]
    HE Y, SHI L, SHI Z G, et al.Unbalance compensation of a full scale test rig designed for HTR-10GT:A frequency-domain approach based on iterative learning control[J].Science and Technology and Nuclear Installations, 2017, 17(1):2-7.
    [23]
    房建成, 任元.磁悬浮控制力矩陀螺技术[M].北京:国防工业出版社, 2014:107-120.

    FANG J C, REN Y.Magnetically suspended control momentum gyroscope technology[M].Beijing:National Defense Industry Press, 2014:107-120(in Chinese).
  • 加载中

Catalog

    通讯作者: 陈斌, bchen63@163.com
    • 1. 

      沈阳化工大学材料科学与工程学院 沈阳 110142

    1. 本站搜索
    2. 百度学术搜索
    3. 万方数据库搜索
    4. CNKI搜索

    Figures(8)  / Tables(1)

    Article Metrics

    Article views(1246) PDF downloads(516) Cited by()
    Proportional views
    Related

    /

    DownLoad:  Full-Size Img  PowerPoint
    Return
    Return