留言板

尊敬的读者、作者、审稿人, 关于本刊的投稿、审稿、编辑和出版的任何问题, 您可以本页添加留言。我们将尽快给您答复。谢谢您的支持!

姓名
邮箱
手机号码
标题
留言内容
验证码

基于多尺度空间注意力引导的图像超分辨率重建网络

程德强 王培杰 董彦强 寇旗旗 江鹤

程德强,王培杰,董彦强,等. 基于多尺度空间注意力引导的图像超分辨率重建网络[J]. 北京亚洲成人在线一二三四五六区学报,2025,51(7):2185-2195 doi: 10.13700/j.bh.1001-5965.2023.0547
引用本文: 程德强,王培杰,董彦强,等. 基于多尺度空间注意力引导的图像超分辨率重建网络[J]. 北京亚洲成人在线一二三四五六区学报,2025,51(7):2185-2195 doi: 10.13700/j.bh.1001-5965.2023.0547
CHENG D Q,WANG P J,DONG Y Q,et al. Image super-resolution reconstruction network based on multi-scale spatial attention guidance[J]. Journal of Beijing University of Aeronautics and Astronautics,2025,51(7):2185-2195 (in Chinese) doi: 10.13700/j.bh.1001-5965.2023.0547
Citation: CHENG D Q,WANG P J,DONG Y Q,et al. Image super-resolution reconstruction network based on multi-scale spatial attention guidance[J]. Journal of Beijing University of Aeronautics and Astronautics,2025,51(7):2185-2195 (in Chinese) doi: 10.13700/j.bh.1001-5965.2023.0547

基于多尺度空间注意力引导的图像超分辨率重建网络

doi: 10.13700/j.bh.1001-5965.2023.0547
基金项目: 

国家自然科学基金(52204177,52304182); 中央高校基本科研业务费专项资金(2020QN49)

详细信息
    通讯作者:

    E-mail:jianghe@cumt.edu.cn

  • 中图分类号: TP391

Image super-resolution reconstruction network based on multi-scale spatial attention guidance

Funds: 

National Natural Science Foundation of China (52204177,52304182); The Fundamental Research Funds for the Central Universities (2020QN49)

More Information
  • 摘要:

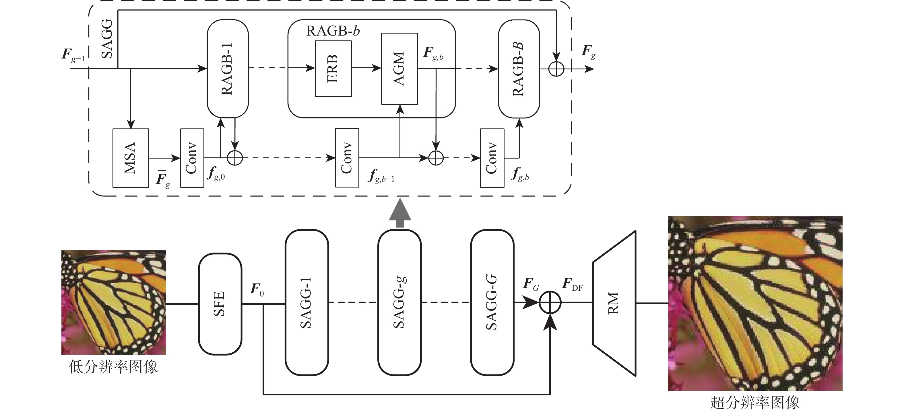
    针对基于注意力机制的图像超分辨率重建网络忽视了注意力特征的差异性,仅将注意力机制直接引入到网络模型中,对不同层次特征进行相同处理的问题,设计了一种多尺度空间注意力引导的图像超分辨率重建网络SAGN。提出了增强特征提取残差块(ERB),完善了局部信息的表征能力;集成了多尺度空间注意力(MSA)模块,获取了MSA特征信息;引入了注意力引导模块(AGM),对不同的特征分配个性化的权重,以实现有效的上下文全局特征融合和冗余信息抑制。实验结果表明:量化测试和主观效果上,相比于传统的注意力结构,SAGN在4个基准数据集上都展现出了优越性,其4倍重建结果的峰值信噪比(PSNR)较次优模型平均提高了0.05 dB,进一步证实了SAGN在恢复图像的几何结构和细节方面的优势。

     

  • 图 1  基于多尺度空间注意力引导的图像超分辨率重建网络

    Figure 1.  Image super-resolution reconstruction network based on multi-scale spatial attention guidance

    图 2  多尺度空间注意力模块

    Figure 2.  Multi-scale spatial attention module

    图 3  卷积残差块

    Figure 3.  Convolution residual block

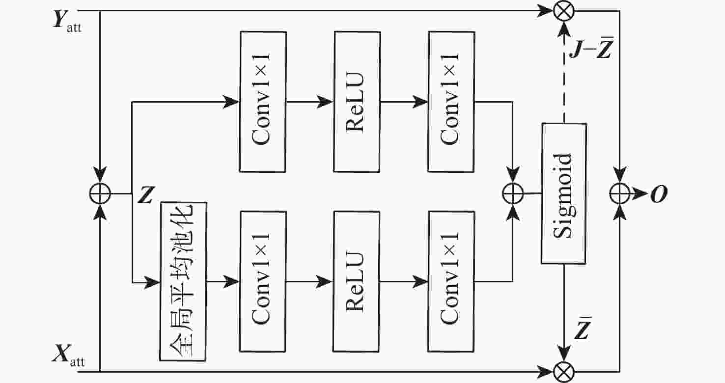
    图 4  注意力引导模块

    Figure 4.  Attention guidance module

    图 5  加入不同模块的特征图可视化

    Figure 5.  Feature visualization after adding different modules

    图 6  4种注意力引导方式

    Figure 6.  Four ways of attention guidance methods

    图 7  在200个Epoch、Set5数据集尺度因子为2下,不同超参数对网络性能的影响

    Figure 7.  Influence of different hyperparameters on network performance under 200 Epoch and scale factor of Set5 datasets is 2

    图 8  尺度因子为4时基准数据集图像的超分辨率重建结果视觉对比

    Figure 8.  Visual comparison of SR reconstruction results with scale factor of 4 for benchmark datasets

    表  1  多尺度空间注意力模块张量尺寸

    Table  1.   Tensor dimensions of multi-scale spatial attention module

    卷积层名称 张量输入尺寸 张量输出尺寸
    Conv1×1 $ (C,H,W) $ $ ({C \mathord{\left/ {\vphantom {C 2}} \right. } 2},H,W) $
    Conv
    k=7,s=2,p=0
    $ ({C \mathord{\left/ {\vphantom {C 2}} \right. } 2},H,W) $ $ \begin{gathered} (C / 4, H_1=(H-7) / 2+1, \\ W_1=(W-7) / 2+1 )\end{gathered} $
    Conv
    k=5,s=2,p=0
    $ ({C \mathord{\left/ {\vphantom {C 4}} \right. } 4},{H_1},{W_1}) $ $ \begin{gathered}({C / 8},{H_2} = ({{{H_1} - 5)} / 2} + 1,\\ {W_2} = ({{{W_1} - 5)} / 2} + 1) \end{gathered} $
    Conv
    k=3,s=1,p=1
    $ ({C \mathord{\left/ {\vphantom {C 8}} \right. } 8},{H_2},{W_2}) $ $ ({C \mathord{\left/ {\vphantom {C 8}} \right. } 8},{H_2},{W_2}) $
    DeConv
    k=5,s=2,p=0
    $ ({C \mathord{\left/ {\vphantom {C 8}} \right. } 8},{H_2},{W_2}) $ $ ({C \mathord{\left/ {\vphantom {C 4}} \right. } 4},{H_1},{W_1}) $
    DeConv
    k=7,s=2,p=0
    $ ({C \mathord{\left/ {\vphantom {C 4}} \right. } 4},{H_1},{W_1}) $ $ ({C \mathord{\left/ {\vphantom {C 2}} \right. } 2},H,W) $
    Conv1×1 $ ({C \mathord{\left/ {\vphantom {C 2}} \right. } 2},H,W) $ $ (C,H,W) $
    下载: 导出CSV

    表  2  尺度因子为4时加入不同模块后对模型性能的影响

    Table  2.   Effect of model performance after adding different modules when scale factor is 4

    模型 RB ERB ESA MSA AGM 参数量 浮点计算量 PSNR/dB
    Set5 Set14 B100 Urban100
    EDSR_RB 3.58×106 223.85 GFLOPs 32.21 28.64 27.59 26.12
    SAGN_ERB 4.17×106 252.52 GFLOPs 32.28 28.68 27.61 26.16
    SAGN_ESA 4.18×106 266.83 GFLOPs 32.30 28.67 27.61 26.18
    SAGN_MSA 4.32×106 284.58 GFLOPs 32.37 28.71 27.63 26.37
    SAGN_AGM 4.33×106 293.99 GFLOPs 32.35 28.70 27.61 26.26
    SAGN 4.48×106 326.05 GFLOPs 32.45 28.73 27.68 26.40
     注:性能最优作加粗处理。
    下载: 导出CSV

    表  3  4种注意力引导方式对模型性能的影响

    Table  3.   Effect of four ways of attention guidance methods on model performance

    引导方式 参数量 浮点计算量 PSNR/dB
    Set5 Set14 B100 Urban100
    引导方式1 4.23×106 278.98 GFLOPs 32.38 28.55 27.62 26.25
    引导方式2 4.48×106 325.04 GFLOPs 32.45 28.60 27.63 26.23
    引导方式3 4.48×106 326.04 GFLOPs 32.41 28.72 27.67 26.38
    引导方式4 4.48×106 326.04 GFLOPs 32.45 28.73 27.68 26.40
     注:指标最优作加粗处理。
    下载: 导出CSV

    表  4  尺度因子为2、3、4时基准数据集的客观评价指标对比

    Table  4.   Comparison of objective evaluation indexes with scale factors of 2, 3 and 4 for benchmark datasets

    尺度因子 模型 PSNR/dB SSIM
    Set5 Set14 B100 Urban100 Set5 Set14 B100 Urban100
    2 SRCNN[4] 36.66 32.45 31.36 29.50 0.9542 0.9067 0.8879 0.8946
    FSRCNN[5] 37.00 32.63 31.53 29.88 0.9558 0.9088 0.8920 0.9020
    VDSR[6] 37.53 33.03 31.90 30.76 0.9587 0.9124 0.8960 0.9140
    IMDN[10] 38.00 33.63 32.19 32.17 0.9605 0.9177 0.8996 0.9283
    MSRN[11] 38.08 33.74 32.23 32.22 0.9605 0.9170 0.9013 0.9326
    Cross-SRN[12] 38.03 33.62 32.19 32.28 0.9606 0.9180 0.8997 0.9290
    AAF-L[14] 38.09 33.78 32.23 32.46 0.9607 0.9192 0.9002 0.9313
    AAN[15] 38.06 33.75 32.22 32.43 0.9608 0.9194 0.9002 0.9311
    SwinIR-light[16] 38.14 33.86 32.31 32.76 0.9611 0.9206 0.9012 0.9340
    CARN[24] 37.76 33.52 32.09 31.92 0.9590 0.9166 0.8978 0.9256
    MRFN[25] 37.98 33.41 32.14 31.45 0.9611 0.9159 0.8997 0.9221
    LatticeNet[26] 38.15 33.78 32.25 32.43 0.9610 0.9193 0.9005 0.9302
    OISR-RK2[27] 38.12 33.80 32.26 32.48 0.9609 0.9193 0.9006 0.9317
    BSRN[28] 38.10 33.74 32.24 32.34 0.9610 0.9193 0.9006 0.9303
    NGSwin[29] 38.05 33.79 32.27 32.53 0.9610 0.9199 0.9008 0.9324
    VapSR[30] 38.08 33.77 32.27 32.45 0.9612 0.9195 0.9011 0.9316
    SAGN 38.18 33.87 32.31 32.76 0.9612 0.9210 0.9012 0.9341
    3 SRCNN[4] 32.75 29.28 28.41 26.24 0.9090 0.8209 0.7863 0.7989
    FSRCNN[5] 33.16 29.43 28.53 26.43 0.9140 0.8242 0.7910 0.8080
    VDSR[6] 33.66 29.77 28.82 27.14 0.9213 0.8314 0.7976 0.8279
    IMDN[10] 34.36 30.32 29.09 28.17 0.9270 0.8417 0.8046 0.8519
    MSRN[11] 34.38 30.34 29.08 28.08 0.9262 0.8395 0.8041 0.8554
    Cross-SRN[12] 34.43 30.33 29.09 28.23 0.9275 0.841 0.8050 0.8535
    AAF-L[14] 35.54 30.41 29.14 28.40 0.9283 0.8436 0.8062 0.8574
    AAN[15] 34.47 30.44 29.14 28.41 0.9279 0.8437 0.8059 0.8570
    SwinIR-light[16] 34.62 30.54 29.20 28.66 0.9289 0.8463 0.8082 0.8624
    CARN[24] 34.29 30.29 29.06 28.06 0.9255 0.8407 0.8034 0.8493
    MRFN[25] 34.21 30.03 28.99 27.53 0.9267 0.8363 0.8029 0.8589
    LatticeNet[26] 34.53 30.39 29.15 28.33 0.9281 0.8424 0.8059 0.8538
    OISR-RK2[27] 34.55 30.46 29.18 28.50 0.9282 0.8443 0.8075 0.8597
    BSRN[28] 34.46 30.48 29.18 28.39 0.9277 0.8449 0.8068 0.8567
    NGSwin[29] 34.52 30.53 29.19 28.52 0.9282 0.8456 0.8078 0.8603
    VapSR[30] 34.52 30.53 29.19 28.43 0.9284 0.8452 0.8077 0.8583
    SAGN 34.63 30.55 29.23 28.67 0.9290 0.8465 0.8082 0.8625
    4 SRCNN[4] 30.48 27.49 26.90 24.52 0.8628 0.7503 0.7101 0.7221
    FSRCNN[5] 30.71 27.59 26.98 24.62 0.8657 0.7535 0.7150 0.7280
    VDSR[6] 31.35 28.01 27.29 25.18 0.8838 0.7674 0.7251 0.7524
    IMDN[10] 32.21 28.58 27.56 26.04 0.8948 0.7811 0.7353 0.7838
    MSRN[11] 32.07 28.60 27.52 26.04 0.8903 0.7751 0.7273 0.7896
    Cross-SRN[12] 32.24 28.59 27.58 26.16 0.8954 0.7817 0.7364 0.7881
    AAF-L[14] 32.32 28.67 27.62 26.32 0.8964 0.7839 0.7379 0.7931
    AAN[15] 32.30 28.71 27.61 26.27 0.8966 0.7842 0.7374 0.7920
    SwinIR-light[16] 32.44 28.77 27.69 26.47 0.8976 0.7858 0.7406 0.7980
    CARN[24] 32.13 28.60 27.58 26.07 0.8937 0.7806 0.7349 0.7837
    MRFN[25] 31.90 28.31 27.43 25.46 0.8916 0.7746 0.7309 0.7654
    LatticeNet[26] 32.30 28.68 27.62 26.25 0.8962 0.7830 0.7367 0.7873
    OISR-RK2[27] 32.32 28.72 27.66 26.37 0.8965 0.7843 0.7390 0.7953
    BSRN[28] 32.35 28.73 27.65 26.27 0.8966 0.7848 0.7387 0.7908
    NGSwin[29] 32.33 28.78 27.66 26.45 0.8963 0.7859 0.7396 0.7963
    VapSR[30] 32.38 28.77 27.68 26.35 0.8978 0.7852 0.7398 0.7941
    SAGN 32.52 28.82 27.73 26.51 0.8980 0.7860 0.7399 0.7971
     注:最优方法作加粗处理。
    下载: 导出CSV

    表  5  尺度因子为2时 Set5数据集上不同方法复杂度对比

    Table  5.   Complexity comparison of different methods on Set5 dataset under scale factor is 2

    模型 参数量 PSNR/dB SSIM 运行时间/ms
    EDSR[7] 40.73×106 38.11 0.9602 885
    MSRN[11] 5.89×106 38.08 0.9605 685
    SwinIR[16] 11.5×106 38.35 0.9620 889
    SwinIR-light[16] 0.87×106 38.14 0.9611 355
    OISR-RK2[27] 4.97×106 38.12 0.9609 558
    BSRN[28] 0.32×106 38.10 0.9610 205
    DBPN[31] 5.95×106 38.09 0.9600 775
    NGSwin[29] 0.99×106 38.05 0.9610 298
    VapSR[30] 0.32×106 38.08 0.9612 223
    SAGN 4.15×106 38.18 0.9612 425
     注:指标最优和次优分别作加粗和下划线处理。
    下载: 导出CSV
  • [1] 陈嘉琪, 刘祥梅, 李宁, 等. 一种超分辨SAR图像水域分割算法及其应用[J]. 电子与信息学报, 2021, 43(3): 700-707. doi: 10.11999/JEIT200366

    CHEN J Q, LIU X M, LI N, et al. A high-precision water segmentation algorithm for SAR image and its application[J]. Journal of Electronics & Information Technology, 2021, 43(3): 700-707(in Chinese). doi: 10.11999/JEIT200366
    [2] XIAO Y, YUAN Q Q, JIANG K, et al. From degrade to upgrade: learning a self-supervised degradation guided adaptive network for blind remote sensing image super-resolution[J]. Information Fusion, 2023, 96: 297-311. doi: 10.1016/j.inffus.2023.03.021
    [3] GEORGESCU M I, IONESCU R T, MIRON A I, et al. Multimodal multi-head convolutional attention with various kernel sizes for medical image super-resolution[C]//Proceedings of the IEEE/CVF Winter Conference on Applications of Computer Vision. Piscataway: IEEE Press, 2023.
    [4] DONG C, LOY C C, HE K M, et al. Image super-resolution using deep convolutional networks[J]. IEEE Transactions on Pattern Analysis and Machine Intelligence, 2016, 38(2): 295-307. doi: 10.1109/TPAMI.2015.2439281
    [5] DONG C, LOY C C, TANG X O. Accelerating the super-resolution convolutional neural network[C]//Proceedings of the European Conference on Computer Vision. Berlin: Springer, 2016: 391-407.
    [6] KIM J, LEE J K, LEE K M. Accurate image super-resolution using very deep convolutional networks[C]//Proceedings of the IEEE Conference on Computer Vision and Pattern Recognition. Piscataway: IEEE Press, 2016: 1646-1654.
    [7] LIM B, SON S, KIM H, et al. Enhanced deep residual networks for single image super-resolution[C]//Proceedings of the IEEE Conference on Computer Vision and Pattern Recognition Workshops. Piscataway: IEEE Press, 2017: 1132-1140.
    [8] HE K M, ZHANG X Y, REN S Q, et al. Deep residual learning for image recognition[C]//Proceedings of the IEEE Conference on Computer Vision and Pattern Recognition. Piscataway: IEEE Press, 2016: 770-778.
    [9] 程德强, 郭昕, 陈亮亮, 等. 多通道递归残差网络的图像超分辨率重建[J]. 中国图象图形学报, 2021, 26(3): 605-618. doi: 10.11834/jig.200108

    CHENG D Q, GUO X, CHEN L L, et al. Image super-resolution reconstruction from multi-channel recursive residual network[J]. Journal of Image and Graphics, 2021, 26(3): 605-618(in Chinese). doi: 10.11834/jig.200108
    [10] HUI Z, GAO X B, YANG Y C, et al. Lightweight image super-resolution with information multi-distillation network[C]//Proceedings of the 27th ACM International Conference on Multimedia. New York: ACM, 2019: 2024-2032.
    [11] LI J C, FANG F M, MEI K F, et al. Multi-scale residual network for image super-resolution[C]//Proceedings of the European Conference on Computer Vision. Berlin: Springer, 2018: 527-542.
    [12] LIU Y Q, JIA Q, FAN X, et al. Cross-SRN: structure-preserving super-resolution network with cross convolution[J]. IEEE Transactions on Circuits and Systems for Video Technology, 2022, 32(8): 4927-4939. doi: 10.1109/TCSVT.2021.3138431
    [13] LIU J, ZHANG W J, TANG Y T, et al. Residual feature aggregation network for image super-resolution[C]//Proceedings of the IEEE/CVF Conference on Computer Vision and Pattern Recognition. Piscataway: IEEE Press, 2020: 2356-2365.
    [14] WANG X H, WANG Q, ZHAO Y Z, et al. Lightweight single image super-resolution network with attentive auxiliary feature learning[C]//Proceedings of the Asian Conference on Computer Vision. Berlin: Springer, 2021: 268-285.
    [15] CHEN H, GU J, ZHANG Z, et al. Attention in attention network for image super-resolution[C]//Proceedings of the Conference on Computer Vision and Pattern Recognition. Piscataway: IEEE Press, 2021.
    [16] LIANG J Y, CAO J Z, SUN G L, et al. SwinIR: image restoration using swin Transformer[C]//Proceedings of the IEEE/CVF International Conference on Computer Vision Workshops. Piscataway: IEEE Press, 2021: 1833-1844.
    [17] ZHAO H Y, KONG X T, HE J W, et al. Efficient image super-resolution using pixel attention[C]//Proceedings of the European Conference on Computer Vision. Berlin: Springer, 2020: 56-72.
    [18] SHI W Z, CABALLERO J, HUSZÁR F, et al. Real-time single image and video super-resolution using an efficient sub-pixel convolutional neural network[C]//Proceedings of the IEEE Conference on Computer Vision and Pattern Recognition. Piscataway: IEEE Press, 2016: 1874-1883.
    [19] BEVILACQUA M, ROUMY A, GUILLEMOT C, et al. Low-complexity single-image super- resolution based on nonnegative neighbor embedding[C]//Proceedings of the British Machine Vision Conference. Surrey: BMVA Press, 2012: 135.1-135.10.
    [20] ZEYDE R, ELAD M, PROTTER M. On single image scale-up using sparse-representations[C]//Proceedings of the International Conference on Curves and Surfaces. Berlin: Springer, 2012: 711-730.
    [21] MARTIN D, FOWLKES C, TAL D, et al. A database of human segmented natural images and its application to evaluating segmentation algorithms and measuring ecological statistics[C]//Proceedings of the 8th IEEE International Conference on Computer Vision. Piscataway: IEEE Press, 2001: 416-423.
    [22] HUANG J B, SINGH A, AHUJA N. Single image super-resolution from transformed self-exemplars[C]//Proceedings of the IEEE Conference on Computer Vision and Pattern Recognition. Piscataway: IEEE Press, 2015: 5197-5206.
    [23] WANG Z, BOVIK A C, SHEIKH H R, et al. Image quality assessment: from error visibility to structural similarity[J]. IEEE Transactions on Image Processing, 2004, 13(4): 600-612. doi: 10.1109/TIP.2003.819861
    [24] AHN N, KANG B, SOHN K A. Fast, accurate, and lightweight super-resolution with cascading residual network[C]//Proceedings of the European Conference on Computer Vision. Berlin: Springer, 2018: 256-272.
    [25] HE Z W, CAO Y P, DU L, et al. MRFN: multi-receptive-field network for fast and accurate single image super-resolution[J]. IEEE Transactions on Multimedia, 2020, 22(4): 1042-1054. doi: 10.1109/TMM.2019.2937688
    [26] LUO X T, XIE Y, ZHANG Y L, et al. LatticeNet: towards lightweight image super-resolution with lattice block[C]//Proceedings of the European Conference on Computer Vision. Berlin: Springer, 2020: 272-289.
    [27] HE X Y, MO Z T, WANG P S, et al. ODE-inspired network design for single image super-resolution[C]//Proceedings of the IEEE/CVF Conference on Computer Vision and Pattern Recognition. Piscataway: IEEE Press, 2019: 1732-1741.
    [28] LI Z Y, LIU Y Q, CHEN X Y, et al. Blueprint separable residual network for efficient image super-resolution[C]//Proceedings of the IEEE/CVF Conference on Computer Vision and Pattern Recognition Workshops. Piscataway: IEEE Press, 2022: 832-842.
    [29] CHOI H, LEE J, YANG J. N-gram in swin Transformers for efficient lightweight image super-resolution[C]//Proceedings of the IEEE/CVF Conference on Computer Vision and Pattern Recognition. Piscataway: IEEE Press, 2023: 2071-2081.
    [30] ZHOU L, CAI H M, GU J J, et al. Efficient image super-resolution using vast-receptive-field attention[C]//Proceedings of the European Conference on Computer Vision Workshops. Berlin: Springer, 2023: 256-272.
    [31] HARIS M, SHAKHNAROVICH G, UKITA N. Deep back-projection networks for super-resolution[C]//Proceedings of the IEEE/CVF Conference on Computer Vision and Pattern Recognition. Piscataway: IEEE Press, 2018: 1664-1673.
  • 加载中
图(8) / 表(5)
计量
  • 文章访问数:  573
  • HTML全文浏览量:  109
  • PDF下载量:  99
  • 被引次数: 0
出版历程
  • 收稿日期:  2023-08-28
  • 录用日期:  2023-10-29
  • 网络出版日期:  2023-11-15
  • 整期出版日期:  2025-07-14

目录

    /

    返回文章
    返回
    常见问答