-
摘要:
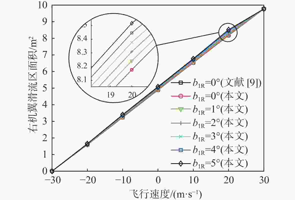
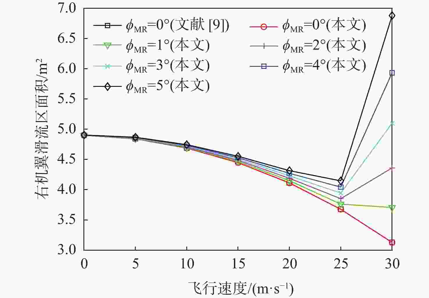
机翼滑流区面积计算是进行倾转旋翼飞行器旋翼与机翼气动干扰分析的关键,针对倾转旋翼飞行器机翼滑流区面积计算,基于CATIA二次开发和参数化设计技术,结合气动计算和三维几何图形运算,提出一种可视化计算方法,其能够在考虑机翼和旋翼参数影响的情况下,准确计算机翼滑流区面积,并且能够直观地确定机翼滑流区区域及机翼滑流区随各项参数的动态变化过程。通过基于XV-15倾转旋翼飞行器参数进行实例计算和分析,结果表明:机翼安装角、后掠角、上反角等机翼参数在纵向和侧向分析时对机翼滑流区面积影响较小;旋翼后倒角、侧倒角及旋翼主轴侧倾角等旋翼参数对机翼滑流区面积影响较大;在不考虑旋翼后倒角和侧倒角的情况下,采用所提方法对XV-15倾转旋翼飞行器机翼滑流区面积进行计算,计算精度最大可提升18.976%。
Abstract:The calculation of the wing slipstream zone area is the key to analyzing aerodynamic interference between rotor and wing on the tiltrotor aircraft. A visual calculation method was proposed for calculating the wing slipstream zone area on the tiltrotor aircraft through aerodynamic and three-dimensional geometric calculations based on CATIA secondary development and parametric design technology. By the proposed method, the wing slipstream zone area could be accurately calculated, and the wing slipstream zone and its dynamic change with various parameters could be directly determined by considering the effects of wing and rotor parameters. According to the results of case calculation and analysis as per the parameters of XV-15 tiltrotor aircraft, the wing parameters including incidence angle, sweep angle, and dihedral angle only have little influence on the wing slipstream zone in both longitudinal and lateral analysis. However, the rotor parameters including the back and side angles of the rotor and the angle of outboard tilt of mast axis have a large influence on the wing slipstream zone area. Therefore, the calculation accuracy can be increased by 18.976% at most through the proposed method of the wing slipstream zone area on the XV-15 tiltrotor aircraft without considering the back and side angles of the rotor.
-
表 1 XV-15倾转旋翼飞行器相关参数
Table 1. Relevant parameters of XV-15 tiltrotor aircraft
${L_{\text{W}}}$/m $\left( {{S_{{\text{LWP}}}},{B_{{\text{LWP}}}},{W_{{\text{LWP}}}}} \right)$/m ${i_{\text{W}}}$/(°) ${i_{\text{U}}}$/(°) ${i_{\text{S}}}$/(°) ${c_{\text{W}}}$/m $\left( {{S_{{\text{LSP}}}},{B_{{\text{LSP}}}},{W_{{\text{LSP}}}}} \right)$/m ${\phi _{{\text{MK}}}}$/(°) ${l_{\text{M}}}$/m $\varOmega $/(r·min−1) $R$/m 9.81 (7.396,2.604,2.435) 0 2 −6.5 1.6 (7.620,4.902,2.540) 1 1.423 565 3.81 表 2 纵向分析参数设置
Table 2. Parameters setting for longitudinal analysis
${i_{\text{n}}}$/(°) ${\alpha _{\text{F}}}$/(°) ${\beta _{\text{F}}}$/(°) 60 13.6 0 表 3 侧向分析参数设置
Table 3. Parameter setting for lateral analysis
${i_{\mathrm{n}}}$/(°) ${\alpha _{\mathrm{F}}}$/(°) ${\beta _{\mathrm{F}}}$/(°) 90 0 90 -
[1] 邵扬杰, 刘莉, 曹潇, 等. 倾转旋翼无人机发展现状及关键技术概述[J]. 战术导弹技术, 2022(1): 12-20.SHAO Y J, LIU L, CAO X, et al. Research status and key technologies of tilt-rotor UAVs[J]. Tactical Missile Technology, 2022(1): 12-20(in Chinese). [2] SHENG H L, ZHANG C, XIANG Y L. Mathematical modeling and stability analysis of tiltrotor aircraft[J]. Drones, 2022, 6(4): 92. doi: 10.3390/drones6040092 [3] ZHAO G Q, ZHAO Q J, LI P, et al. Parametric analyses for effects of RPM and diameter on tiltrotor aerodynamic performances in hovering and cruise mode[J]. International Journal of Aeronautical and Space Sciences, 2021, 22(3): 479-488. doi: 10.1007/s42405-020-00333-z [4] 吴伟伟, 马存旺, 张练, 等. 倾转旋翼机连续倾转过渡状态数值模拟[J]. 航空工程进展, 2021, 12(3): 55-64.WU W W, MA C W, ZHANG L, et al. Numerical simulation of continuous tilting transition of tiltrotor aircraft[J]. Advances in Aeronautical Science and Engineering, 2021, 12(3): 55-64(in Chinese). [5] 刘佳豪, 李高华, 王福新. 倾转过渡状态旋翼-机翼气动干扰特性计算分析[J]. 航空学报, 2022, 43(12): 126097.LIU J H, LI G H, WANG F X. Calculation analysis of rotor-wing aerodynamic interference characteristics in conversion mode[J]. Acta Aeronautica et Astronautica Sinica, 2022, 43(12): 126097(in Chinese). [6] 吴健健, 王琦, 李之瀚, 等. 倾转旋翼飞机过渡段定高飞行控制研究[J]. 计算机仿真, 2020, 37(4): 48-51. doi: 10.3969/j.issn.1006-9348.2020.04.010WU J J, WANG Q, LI Z H, et al. Study on flight control at constant height of a tilting wing aircraft in transition section[J]. Computer Simulation, 2020, 37(4): 48-51(in Chinese). doi: 10.3969/j.issn.1006-9348.2020.04.010 [7] WU Z L, LI C, CAO Y H. Numerical simulation of rotor-wing transient interaction for a tiltrotor in the transition mode[J]. Mathematics, 2019, 7(2): 116. doi: 10.3390/math7020116 [8] DROANDI G, ZANOTTI A, GIBERTINI G. Aerodynamic interaction between rotor and tilting wing in hovering flight condition[J]. Journal of the American Helicopter Society, 2015, 60(4): 1-20. [9] 陈皓, 董育伟. 定常吹气对倾转旋翼机向下载荷的影响[J]. 应用力学学报, 2021, 38(1): 93-98. doi: 10.11776/cjam.38.01.A052CHEN H, DONG Y W. Tiltrotor download reduction using steady blowing control[J]. Chinese Journal of Applied Mechanics, 2021, 38(1): 93-98 (in Chinese). doi: 10.11776/cjam.38.01.A052 [10] KJELLGREN P, SIVASUBRAMANIAN J, CERCHIE D, et al. Download alleviation for the XV-15: Computations and experiments of flows around the wing[C]//Proceedings of the Biennial International Powered Lift Conference and Exhibit. Reston: AIAA, 2002: 6007. [11] CARLSON E, ZHAO Y Y, CHEN R. Optimal tiltrotor runway operations in one engine inoperative[C]//Proceedings of the Guidance, Navigation, and Control Conference and Exhibit. Reston: AIAA, 1999: 3961. [12] HARENDRA P B, JOGLEKAR M J, GAFFEY T M, et al. V/STOL tilt rotor study. Volume 5: A mathematical model for real time flight simulation of the Bell model 301 tilt rotor research aircraft: NASA-CR-114614 [R]. Texas: NASA, 1973: A27-A32. [13] 曹芸芸, 陈仁良. 倾转旋翼飞行器旋翼对机翼向下载荷计算模型[J]. 航空动力学报, 2011, 26(2): 468-474.CAO Y Y, CHEN R L. Mathematical model for calculating wing download of tiltrotor aircraft[J]. Journal of Aerospace Power, 2011, 26(2): 468-474(in Chinese). [14] 吕韵, 周进, 童明波. 常规布局飞机概念外形参数化建模研究[J]. 机械设计与制造工程, 2019, 48(11): 7-10. doi: 10.3969/j.issn.2095-509X.2019.11.002LYU Y, ZHOU J, TONG M B. Research on the parametric design of concept aircraft shape[J]. Machine Design and Manufacturing Engineering, 2019, 48(11): 7-10(in Chinese). doi: 10.3969/j.issn.2095-509X.2019.11.002 [15] 冯毅, 唐伟, 任建勋, 等. 飞行器参数化几何建模方法研究[J]. 空气动力学学报, 2012, 30(4): 546-550. doi: 10.3969/j.issn.0258-1825.2012.04.020FENG Y, TANG W, REN J X, et al. Parametric geometry representation method for hypersonic vehicle configuration[J]. Acta Aerodynamica Sinica, 2012, 30(4): 546-550 (in Chinese). doi: 10.3969/j.issn.0258-1825.2012.04.020 [16] 曹芸芸. 倾转旋翼飞行器飞行动力学数学建模方法研究[D]. 南京: 南京亚洲成人在线一二三四五六区, 2012.CAO Y Y. Research on mathematical modeling method for tilt rotor aircraft flight dynamics[D]. Nanjing: Nanjing University of Aeronautics and Astronautics, 2012 (in Chinese). -


下载: