Contraband classification method for X-ray security images considering sample imbalance
-
摘要:
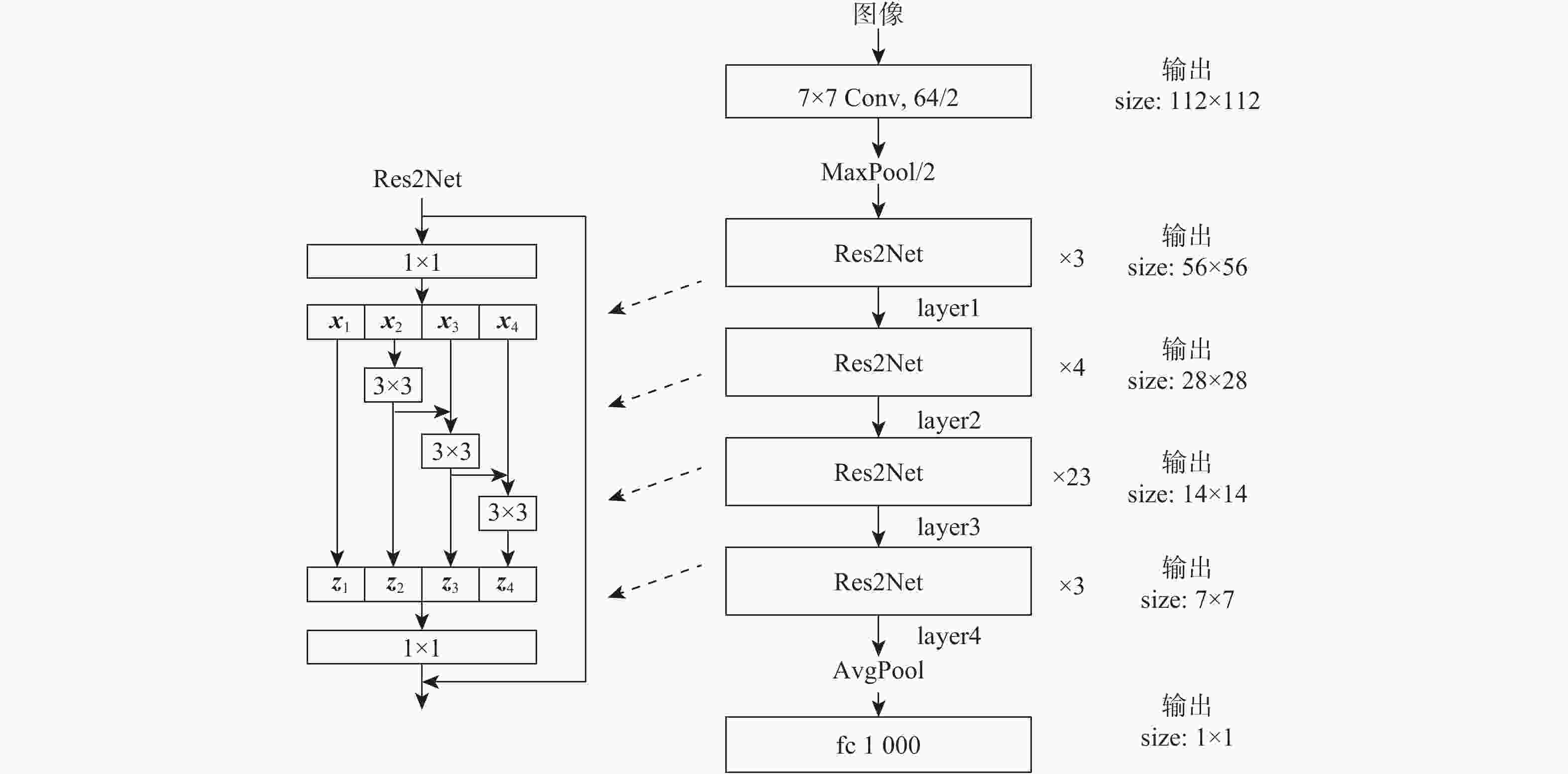
X光安检图像违禁品分类被广泛应用于协助维护航空和运输安全。针对X光安检图像中违禁品尺度不一、存在困难样本及旅客行李安检固有的正负样本不均衡等问题,提出一种端到端的考虑样本不平衡的X光安检图像违禁品分类方法。采用多尺度特征提取网络捕获尺度不一的多类型违禁品特征,通过特征融合模块提升模型对图像边缘和纹理特征的表达能力,基于代价敏感思想设计损失函数,解决数据集不平衡问题,并提高困难样本分类精准度。在公开数据集SIXray上构建的子集实验结果表明:所提方法相较于端到端分类模型,平均AP指标值提升了4.5%,特别是对剪刀等难分类样本,AP指标值都有显著的提升效果。
Abstract:X-ray security image contraband classification is widely used to assist in maintaining aviation and transportation security. This paper suggests an end-to-end X-ray security inspection image classification method that takes sample imbalance into account in order to address the issues of different scales of contraband in X-ray images, challenging samples, and unbalanced positive and negative samples inherent in passenger baggage security inspection. The feature fusion module is used to enhance the model’s ability to express picture edge and texture features while the multi-scale feature extraction network is used to capture the features of numerous sorts of illegal goods with various scales. Based on the cost-sensitive idea, the loss function is designed to solve the problem of dataset imbalance, and improve the classification accuracy of difficult samples.The experimental results of the subset constructed on the public dataset SIXray show that the proposed method improves the mean AP index by 4.5% compared with the current optimal end-to-end classification model, especially for hard-to-classify samples such as scissors, the AP index has a significant improvement effect.
-
表 1 不同模型分类性能对比实验结果
Table 1. Comparative experiment results of classification performance of different models
% 方法 AP指标值 平均AP指标值 刀 枪 扳手 钳子 剪刀 ResNet101 84.2 87.7 69.3 85.3 60.4 77.4 Inception-V3 83.8 90.1 68.1 84.5 58.7 77.0 RFBNet 72.9 90.5 64.9 77.3 68.6 74.8 ACMNet 80.2 91.5 83.6 85.9 80.3 84.3 Cascade R-CNN 80.4 87.4 82.4 86.4 86.3 84.6 ResNet101+CHR 87.2 85.5 71.2 88.3 64.7 79.4 本文 90.5 86.5 80.5 97.3 89.4 88.8 表 2 消融实验结果
Table 2. Ablation experiment results
骨干
网络特征融合
模块多尺度残差
学习模块FCB Loss 平均AP
指标值/%√ 77.4 √ √ 79.4 √ √ √ 83.3 √ √ √ √ 88.8 -
[1] HEITZ G, CHECHIK G. Object separation in X-ray image sets[C]//Proceedings of the IEEE Conference on Computer Vision and Pattern Recognition. Piscataway: IEEE Press, 2010: 2093-2100. [2] MERY D. Automated detection in complex objects using a tracking algorithm in multiple X-ray views[C]//Proceedings of the IEEE Conference on Computer Vision and Pattern Recognition. Piscataway: IEEE Press, 2011: 12173892. [3] HASSAN T, WERGHI N. Trainable structure tensors for autonomous baggage threat detection under extreme occlusion[C]//Proceedings of the Asian Conference on Computer Vision. Berlin: Springer, 2020: 257-273. [4] SZEGEDY C, LIU W, JIA Y, et al. Going deeper with convolutions[C]//Proceedings of the IEEE Conference on Computer Vision and Pattern Recognition. Piscataway: IEEE Press, 2015: 1-9. [5] AKÇAY S, KUNDEGORSK I M E, DEVEREUX M, et al. Transfer learning using convolutional neural networks for object classification within X-ray baggage security imagery[C]//Proceedings of the IEEE International Conference on Image Processing. Piscataway: IEEE Press, 2016: 1057-1061. [6] REDMON J, DIVVALA S, GIRSHICK R, et al. You only look once: Unified, real-time object detection[C]//Proceedings of the IEEE Conference on Computer Vision and Pattern Recognition. Piscataway: IEEE Press, 2016: 779-788. [7] 张友康, 苏志刚, 张海刚, 等. X光安检图像多尺度违禁品检测[J]. 信号处理, 2020, 36(7): 1096-1106. doi: 10.16798/j.issn.1003-0530.2020.07.008ZHANG Y K, SU Z G, ZHANG H G, et al. X-ray security images multiscale contraband detection[J]. Signal Processing, 2020, 36(7): 1096-1106(in Chinese). doi: 10.16798/j.issn.1003-0530.2020.07.008 [8] LIU W, ANGUELOV D, ERHAN D, et al. SSD: Single shot multibox detector[C]//Proceedings of the European Conference on Computer Vision. Berlin: Springer, 2016: 21-37. [9] MIAO C, XIE L, WAN F, et al. SIXray: A large-scale security in spection X-ray benchmark for prohibited item discovery in overlapping images[C]//Proceedings of the IEEE/CVF Conference on Computer Vision and Pattern Recognition. Piscataway: IEEE Press, 2019: 2114-2123. [10] HE K, ZHANG X, REN S, et al. Deep residual learning for image recognition[C]//Proceedings of the IEEE Conference on Computer Vision and Pattern Recognition. Piscataway: IEEE Press, 2016: 770-778. [11] WEBB T W, BHOWMIK N, GAUS Y F A, et al. Operationalizing convolutional neural network architectures for prohibited object detection in X-ray imagery[C]//Proceedings of the IEEE International Conference on Machine Learning and Applications. Piscataway: IEEE Press, 2021: 610-615. [12] CAI Z, VASCONCELOS N. Cascade R-CNN: High quality object detection and instance segmentation[J]. IEEE Transactions on Pattern Analysis and Machine Intelligence, 2021, 43(5): 1483-1498. [13] LIN T Y, GOYAL P, GIRSHICK R, et al. Focal loss for dense object detection[C]//Proceedings of the IEEE International Conference on Computer Vision. Piscataway: IEEE Press, 2017: 2999-3007. [14] 闫明松, 周志华. 代价敏感分类算法的实验比较[J]. 模式识别与人工智能, 2005, 18(5): 8.YAN M S, ZHOU Z H. An empirical comparative study of cost-sensitive classification algorithms[J]. Pattern Recognition and Artificial Intelligence, 2005, 18(5): 8(in Chinese). [15] GAO S, CHENG M M, ZHAO K, et al. Res2Net: A new multi-scale backbone architecture[J]. IEEE Transactions on Pattern Analysis and Machine Intelligence, 2021, 43(2): 652-662. doi: 10.1109/TPAMI.2019.2938758 [16] CUI Y, JIA M, LIN T Y, et al. Class-balanced loss based on effective number of samples[C]//Proceedings of the IEEE/CVF Conference on Computer Vision and Pattern Recognition. Piscataway: IEEE Press, 2019: 19262778. [17] EVERINGHAM M, ESLAMI S, VAN GOOL L, et al. The PASCAL visual object classes challenge: A retrospective[J]. International Journal of Computer Vision, 2015, 111(1): 98-136. doi: 10.1007/s11263-014-0733-5 [18] SZEGEDY C, VANHOUCKE V, IOFFE S, et al. Rethinking the inception architecture for computer vision[C]//Proceedings of the IEEE Conference on Computer Vision and Pattern Recognition. Piscataway: IEEE Press, 2016: 2818-2826. [19] LIU S, HUANG D, WANG Y H. Receptive field block net for accurate and fast object detection[C]∥Proceedings of the European Conference on Computer Vision. Berlin: Springer, 2018: 404-419. -


下载: