留言板

尊敬的读者、作者、审稿人, 关于本刊的投稿、审稿、编辑和出版的任何问题, 您可以本页添加留言。我们将尽快给您答复。谢谢您的支持!

姓名
邮箱
手机号码
标题
留言内容
验证码

2018年  第44卷  第9期

显示方式:
2018年, 第44卷, 第9期
icon下载 (29638) 955 icon预览
论文
基于振动特性的机场刚性道面传荷性能
张献民, 刘小兰, 张子文
2018, 44(9): 1787-1796. doi: 10.13700/j.bh.1001-5965.2017.0687
摘要:

接缝的传荷性能需定期检测以指导机场刚性道面的维护和使用,针对现有检测方法(如落锤式弯沉仪)难以进行偏远山区和交通运输困难地区的机场测试问题,提出了普通加载车辆跳车试验法,探究传力杆自身参数和道面结构参数对传荷性能和道面振动特性(基频、幅值、相位差)的影响规律,找出主要影响因素为传力杆弹性模量和土基模量;建立多因素下传荷性能和道面振动特性的定量关系,并通过室外试验验证该公式的准确性和方法的可行性。

基于时变增益ESO的多航天器SO(3)姿态协同控制
马鸣宇, 董朝阳, 王青, 周敏
2018, 44(9): 1797-1807. doi: 10.13700/j.bh.1001-5965.2017.0719
摘要:

针对多航天器姿态协同控制问题,基于特殊正交群(SO(3))研究了存在干扰情形下的控制设计方法。结合有向通信拓扑建立了多航天器SO(3)模型,在此模型的基础上提出了一种时变增益扩张状态观测器(ESO)对系统的总干扰进行估计,削弱了常值增益ESO的峰化现象。利用相邻航天器的信息给出了旋转矩阵形式的协同指令,进一步基于SO(3)方法设计了协同控制器。同时采用ESO的输出在所设计的控制器中对系统的干扰进行补偿,从理论上给出了ESO的收敛性以及闭环系统的稳定性证明,保证多航天器系统能够实现稳定协同。仿真结果验证了本文方法的有效性和快速性。

海洋环境下三电极的电偶腐蚀仿真
陈跃良, 王安东, 卞贵学, 张勇
2018, 44(9): 1808-1817. doi: 10.13700/j.bh.1001-5965.2017.0670
摘要:

为研究三电极的电偶腐蚀行为,测量了CF8611/AC531复合材料(CFRP)、7B04-T74铝合金(7B04)和镀锌30CrMnSiA钢(GSB)的极化曲线;开展了搭接件在模拟海洋环境下的全浸试验;设计了圆形三电极,推导了稳态腐蚀场和参数化扫描方程,建立了三电极和搭接件的电偶腐蚀模型。结果表明:稳态腐蚀场中的电势分布符合Laplace方程;电位最高的CFRP为阴极,最低的GSB为阳极,中间的7B04阴/阳极角色会随某一电极面积变化而转变,给出了转变的临界面积比,各电极表面电偶电流服从指数分布,相关系数近于1,拟合精度高;在搭接件中,搭接区电位和电流密度最高,并向两端对称递减,7B04和GSB均为阳极,电流密度分别提高约210倍和328倍,电偶腐蚀效应显著;搭接区7B04板全面腐蚀,厚度损失约1.011%;仿真所得点蚀敏感区宽度范围为3.9~7.6mm,实测所得宽度范围为4.667~8.872mm,二者范围、形状及变化规律吻合较好,表明模型有效、可靠。

基于多分类AdaBoost的航空发动机故障诊断
曹惠玲, 高升, 薛鹏
2018, 44(9): 1818-1825. doi: 10.13700/j.bh.1001-5965.2017.0774
摘要:

对航空发动机运行数据进行数据挖掘的方法,是发动机故障诊断研究领域的重要研究内容。由于各种算法自身的局限性,通过某种单一算法很难大幅度提升故障分类的准确性。运用组合分类的AdaBoost算法,综合多个分类模型进行诊断,是提升故障识别精度的一种较好的方法。通过AdaBoost算法及其改进算法的结合,建立一种多分类的AdaBoost算法,以支持向量机(SVM)为基础分类器,进行综合诊断模型的建立。通过单位向量法、比值系数法和相关系数法将指印图中统计的故障标识数据进行处理,得到不受故障程度影响的训练数据,再进行建模。实验表明,AdaBoost相关结合算法能够显著提升分类器性能。根据实际故障案例,验证了所建立的诊断模型能够较好地用于发动机的故障诊断。

大气层外拦截弹建模与攻防效能分析
谢经纬, 陈万春
2018, 44(9): 1826-1838. doi: 10.13700/j.bh.1001-5965.2018.0095
摘要:

基于跨大气层反导拦截的各阶段流程,首先完成了某型拦截弹的动力学建模,然后利用预测拦截点(PIP)导引以及射表插值的思想,设计了针对大气层外中远程弹道类目标的中段拦截制导方法。在此基础上,研究了不同情形下拦截弹针对弹道导弹的部署区域,发射区段与拦截区段,以及固定拦截阵地的保护范围,验证了大气层外拦截导引方法的有效性。考虑到弹道导弹可能采取的突防措施,包括机动变轨、电子干扰以及红外诱饵掩护等手段,通过设计大样本仿真试验,分析进攻弹所采取的不同措施带来的突防效能。对于能够拦截常规弹道的拦截弹部署点,进攻弹可以通过机动变轨和释放诱饵等策略分阶段起到干扰作用,将突防概率提高到70%以上。

基于风险预测的飞行安全操纵空间构建方法
李哲, 徐浩军, 薛源, 裴彬彬
2018, 44(9): 1839-1849. doi: 10.13700/j.bh.1001-5965.2017.0686
摘要:

提高驾驶员在复杂气象环境和系统故障等条件下的情景感知能力是保障飞行安全的有力措施。基于人-机-环动力学仿真,综合计算操纵指令下预测时间段内多个飞行安全参数风险变化趋势,通过飞行安全参数风险度的叠加,得到该飞行情形下的飞行安全谱和飞行风险概率。通过并行仿真计算整个操纵空间内的飞行风险拓扑云图,构建飞行安全操纵空间,引导驾驶员正确操纵。分析了结冰环境下和舵面卡阻故障模式下的飞行安全操纵空间、事故机理和主要敏感参数。仿真结果表明,外部环境突变或突发系统故障可导致飞行安全操纵空间缩减甚至畸变。飞行安全操纵空间的提出可为驾驶员在复杂条件下的安全操纵提供直观全面的参考,提高驾驶员的情景感知能力,也可为事故演化提供可视化的分析方法。

一种单压电叠堆驱动的回转冲击超声波钻
王印超, 全齐全, 于红英, 柏德恩, 邓宗全
2018, 44(9): 1850-1859. doi: 10.13700/j.bh.1001-5965.2017.0699
摘要:

为提高冲击式超声波钻的排屑效率,基于压电驱动原理提出了一种单压电叠堆驱动的回转冲击超声波钻(RPUD)。RPUD仅利用单一压电叠堆两侧的振动实现了钻具的回转冲击运动,将一侧振动转变为回转运动,另一侧振动转变为冲击运动,且回转运动和冲击运动可单独调节。为实现超声波钻回转运动和冲击运动的同步谐振,借助有限元方法,对超声波钻换能器进行模态分析和瞬态分析。基于优选的结构设计参数,研制了RPUD样机并开展了钻进实验研究。实验结果验证了RPUD的钻进功能,并利用响应面方法分析了钻压力等各钻进参数对钻进效率的影响。

纳米复合相变材料熔化过程数值模拟
赵亮, 邢玉明, 吕倩, 罗叶刚, 刘鑫
2018, 44(9): 1860-1868. doi: 10.13700/j.bh.1001-5965.2017.0712
摘要:

相变储能技术在航空航天等领域具有广泛的应用前景,但是相变材料导热性能差制约了其工程化应用。高导热的纳米材料能够有效提高相变材料的导热性能。为了对其相变现象进行更精细的模拟分析,基于Maxwell-Garnett等效介质理论(EMT)建立3种具有代表性结构的纳米复合相变材料详细物性参数,将流体体积(VOF)模型与焓-多孔介质模型相耦合,在考虑相变材料体积膨胀的情况下,数值模拟了纯石蜡、添加不同体积组分金刚石纳米粒子(ND)、单壁碳纳米管(SWCNT)和石墨烯纳米片(GnP)的纳米复合相变材料在定温边界条件下的固液相变过程。结果表明:相变材料熔化过程中对流效应主要分布在临近固液相界面、临近加热壁面及临近气液两相交界面这3个区域;3种纳米粒子中GnP的导热强化效果最佳,相比纯石蜡,添加体积分数为3%的GnP纳米复合相变材料固相导热系数提高了486%,相变材料的熔化时间缩短了69%;升高壁面温度能够有效缩短复合相变材料的熔化时间。

基于BoF模型的多特征融合纹理图像分类
汪宇玲, 黎明, 李军华, 张聪炫, 陈昊
2018, 44(9): 1869-1877. doi: 10.13700/j.bh.1001-5965.2017.0720
摘要:

针对特征词袋(BoF)模型缺乏空间和几何信息,对纹理图像内容表达不明显等问题,提出一种基于BoF模型的多特征融合纹理分类算法。将灰度梯度共生矩阵(GGCM)和尺度不变特征转换(SIFT)融合特征作为纹理图像的区域特征描述,通过动态权重鉴别能量分析进行最优参数特征选择,并用BoF量化纹理特征,使用支持向量机对图像进行训练和预测,得出分类结果。实验结果表明,本文算法对有旋转扭曲的纹理、边缘模糊纹理、有光照变化的纹理及杂乱纹理等均能取得较好的分类效果,相对于传统BoF模型及凹凸划分(CCP)方法等算法在UIUC纹理库上的分类正确率均有不同程度的提高,平均分类正确率分别提高12.8%和7.9%,说明本文算法针对纹理图像分类具有较高的精度和较好的鲁棒性。

环面蜗轮滚刀螺旋槽前刀面设计及修正方法
杨杰, 李海涛, 芮成杰, 董学朱
2018, 44(9): 1878-1887. doi: 10.13700/j.bh.1001-5965.2017.0727
摘要:

为提高环面蜗轮滚刀的切削性能及滚齿效率,将滚刀的容屑槽设计成螺旋槽,减小刀齿两侧前角的绝对值,均衡两侧刃的切削条件。根据齿轮啮合理论和环面蜗杆成形原理,以滚刀基本蜗杆分度环面螺旋线的导程角和前刀面曲线的导程角互余为依据,提出一种由圆柱产形面变传动比展成环面蜗轮滚刀螺旋槽前刀面的方法;计算得到滚刀分度环面处的前角近似为0°,而刀齿左侧的前角从齿顶到齿根由正值变为负值,右侧前角从齿顶到齿根由负值变为正值,并且正前角和负前角的绝对值较大。进一步对滚刀前刀面进行修正,将修正后的滚刀模型导入VERICUT软件中,测量其前角,验证设计方法的正确性。结果表明,该方法能够解决滚刀两侧前角绝对值较大的问题,各刀齿左右两侧的前角控制在-0.6°~0.5°之间。

能量最优与燃料最优Lambert交会问题
徐利民, 张涛, 陶佳伟
2018, 44(9): 1888-1893. doi: 10.13700/j.bh.1001-5965.2017.0731
摘要:

Lambert双脉冲交会问题是航天工程中轨道转移和在轨交会等领域的重要问题,而能量最优和燃料最优Lambert交会问题是针对典型应用背景和工程需求衍生的一类Lambert优化问题。针对能量最优与燃料最优Lambert双脉冲交会问题提出一种基于矢量形式的解析计算方法,给出能量最优和燃料最优Lambert交会问题的矢量形式解析解,同时对2种最优交会问题求解的性质与特点进行了分析对比。仿真结果验证了计算的正确性及燃料最优轨道相比能量最优轨道燃料消耗较少的事实。

基于混沌吸引子的飞轮故障检测
李磊, 高永明, 吴止锾
2018, 44(9): 1894-1902. doi: 10.13700/j.bh.1001-5965.2018.0037
摘要:

针对飞轮早期故障难以检测、精确数学模型难以建立的问题,提出一种基于混沌吸引子特征的故障检测方法。该方法利用辅助曲面函数与系统参量构造离散动力系统,通过迭代产生近似混沌吸引子,正常数据与故障数据所产生的混沌吸引子形态不同,以此为特征进行故障检测。仿真结果表明,该方法构造的离散动力系统能够稳定地产生混沌吸引子;产生的混沌吸引子与初始迭代点无关;同种故障在不同工况下的特征相同;混沌吸引子特征对微小幅度的故障敏感。

基于创新力-适应度的O2O电商知识网络构建
高长元, 闫健, 由扬
2018, 44(9): 1903-1908. doi: 10.13700/j.bh.1001-5965.2017.0672
摘要:

为提升O2O电商企业对知识创新领域的准确判断,增加企业的创新竞争力,提出了一种基于创新力-适应度的O2O电商知识网络构建方法。在对O2O电商企业知识节点创新力影响因素分析并赋权重的基础上,利用适应度算法确定知识节点创新力-适应度,构建了符合O2O电商企业特点的创新力-适应度知识网络模型。通过五级分值评分方法和UCINET等可视化软件对苏宁云商的创新力-适应度知识网络进行了构建,实验表明创新力能力强的知识节点则具有连接效率高、表示形状相对大的特征。为苏宁云商创新力-适应度知识网络提供了应对策略。

基于空间隔离的低轨卫星系统频谱共享方法
张泓湜, 蒋伯峰
2018, 44(9): 1909-1917. doi: 10.13700/j.bh.1001-5965.2017.0732
摘要:

随着业务需求的全球性增长,传统低频波段有限的频谱资源已不能满足低轨(LEO)卫星的业务承载要求,采用Ka频段的LEO星座系统设计成为了主流。然而,采用Ka频段的LEO星座系统不可避免地会对同频段已经存在的静止轨道(GEO)卫星系统产生干扰。首先,通过基于空间隔离的干扰规避方法,采用对LEO与GEO的频谱共用系统设置隔离角来进行上下行场景的干扰消除,使该LEO系统能满足国际电信联盟(ITU)对同频段内通信干扰的约束条件;然后,通过引入GEO带的概念,分析并研究了干扰规避区域的确定方法和其对LEO星座密度的影响。最后,通过仿真得出了干扰隔离角、GEO带与LEO星座密度的关系,得到了在采用隔离角的方式进行干扰避让时满足LEO星座系统业务不中断所需要的最小卫星数量,对LEO星座设计具有一定的指导意义。

水下机械手不确定遥操作自适应双边控制
张建军, 刘卫东, 高立娥, 李乐, 李泽宇
2018, 44(9): 1918-1925. doi: 10.13700/j.bh.1001-5965.2017.0753
摘要:

针对水下机械手遥操作过程中数学模型及外部干扰引起不确定问题提出了自适应双边控制策略。对主机械手模型参数与外部干扰引起的不确定,设计了基于名义模型的参考自适应阻抗控制律,根据主手力与从手力误差来调节期望模型的参考位置,利用自适应控制律补偿模型不确定性。针对从机械手的不确定性采用径向基函数(RBF)神经网络进行自适应补偿,通过设计滑模变结构控制器与鲁棒自适应控制器消除逼近误差,满足了从机械手对主机械手位置跟踪。设计了李雅普诺夫函数证明跟踪性能与全局稳定性,保证力-位置跟踪的渐进收敛性能。结果表明:整体控制在模型不确定及外部干扰条件下具有很好的力-位置跟踪能力,整体系统具有稳定性和可靠性,并且具有鲁棒性及自适应控制能力。

基于全局飞行流量协同优化方法
吴文浩, 张学军, 顾博, 朱晓辉
2018, 44(9): 1926-1932. doi: 10.13700/j.bh.1001-5965.2018.0006
摘要:

随着飞行活动需求的持续快速增长和空域资源使用矛盾的日益凸显,全局飞行流量协同优化已成为减少飞行延误、降低飞行危险、确保空域运行安全的一个重要手段。空中交通管理作为发展的重点领域,迫切需要对军民航飞行流量实施统一、高效、兼顾各自特点的协同优化。在实际研究中,全局飞行流量协同优化问题具有大规模、多目标、难分解等特点,是一类复杂的工程优化问题。本文贯彻发展思想,设计了一种基于军民航异质化飞行活动管制要求、考虑差异化调配方法与代价、兼顾军民航管制员各自工作特点、有效解决扇区网络运行安全性和经济性问题的全局飞行流量多目标协同优化模型——CMI模型;为解决种群在进化过程中“不平衡不充分”的问题,提出了一种动态自适应多目标遗传算法(DA-MOGA),并针对性设计了基于聚集距离和种群多样性的交叉变异概率动态调整机制。利用中国扇区网络实际数据,对本文提出的模型和算法进行了验证,算法结果优于2种经典的多目标进化算法。

一种多钉铆接连接件的疲劳寿命分析方法
张天宇, 何宇廷, 陈涛, 杜旭, 谭翔飞, 刘凯
2018, 44(9): 1933-1940. doi: 10.13700/j.bh.1001-5965.2017.0689
摘要:

针对目前对多钉铆接连接件进行疲劳寿命分析时的可行性不高、计算量较大等问题,提出一种更加有效可靠的预测多钉铆接连接件的疲劳寿命的方法。对多钉铆接连接件进行疲劳寿命分析时,先对压铆铆接过程进行了显示动力学分析,获得铆接后的钉、孔变形形式和干涉量,并编写了APDL子程序用于各种形式试件的铆接过程分析。用紧固件的载荷-位移曲线进行细节应力分析。基于三维弹塑性有限元法建立铆接连接件的载荷-位移计算方法,并通过与试验结果对比,说明用本文方法获取载荷-位移曲线的可靠性。在ANSYS中建立钉单元,并实现参数化建模进行钉载计算。使用应力严重系数法估算连接件疲劳寿命。开展典型航空铆接连接件疲劳试验,计算结果与试验结果一致性较好,说明计算方法的可行性。

基于样本类别确定度的半监督分类
高飞, 朱福利
2018, 44(9): 1941-1951. doi: 10.13700/j.bh.1001-5965.2017.0708
摘要:

在对遥感图像进行分类时,全监督算法往往需要足够的标记样本进行训练,然而标记的过程是耗时和昂贵的,相反收集大量的无标记样本是很容易的。为了在学习过程中能够有效利用未标记样本的信息,本文提出了基于样本类别确定度(CCS)的半监督分类算法。首先,利用多分类支持向量机(SVM)得到未标记样本属于各类别的确定度,有效地衡量了未标记样本类别可靠性;其次,对样本类别确定度进行预处理,提升利用未标记样本的安全性;最后,基于样本类别确定度设计了半监督线性判别分析(LDA)降维算法并对其进行核化,使得样本在降维后的子空间更具有可分性,并根据降维后的数据特点,采用最近邻分类器对新样本进行分类。利用真实的合成孔径雷达(SAR)图像进行测试,验证了在标记样本较少的情况下,本文算法在性能上优于全监督和其他半监督算法,并能够快速收敛。

基于双特征的丘陵山区耕地低空遥感图像配准算法
宋飞, 杨扬, 杨昆, 张愫, 毕东升
2018, 44(9): 1952-1963. doi: 10.13700/j.bh.1001-5965.2017.0674
摘要:

针对丘陵山区耕地小型无人机航拍图像(低空遥感图像)中的尺度变化、几何畸变、图像重叠等问题,提出了基于双特征的丘陵山区耕地低空遥感图像配准算法。该算法鉴于丘陵山区耕地背景环境复杂、光照因素等影响,采用尺度不变特征SURF算法提取了遥感图像的特征点,并构建了能够稳健描述航拍图像几何特征的双特征描述子;在此基础上,以高斯混合模型(GMM)为核心,结合2个单一特征差异描述子(基于欧氏距离的全局特征和基于和向量的局部特征)构造的双特征描述子,得到了能够同时通过2种特征进行对应关系评估的双特征有限混合模型(DFMM),并通过再生核希尔伯特空间(RKHS),基于高斯径向基函数(GRBF)对待配准图像进行了全局与局部结构双约束的空间变换更新。为了验证本文算法的可行性及其性能,采用小型无人机航拍的丘陵山区坡耕地多视角遥感图像开展了实验,将本文算法与SIFT、SURF、CPD、AGMReg、GLMDTPS及PRGLS进行了比较。实验结果表明,本文算法不仅在不同坡度的坡耕地航拍图像多视角配准过程中,均具有较好的鲁棒性,也适用于部分复杂地形小型无人机航拍的多视角遥感图像配准。

基于增益调度的航空发动机分散鲁棒控制
潘慕绚, 曹良进, 黄金泉
2018, 44(9): 1964-1973. doi: 10.13700/j.bh.1001-5965.2017.0659
摘要:

针对航空发动机全包线大范围非线性变化动态特性下的跟踪控制问题,设计分散鲁棒跟踪控制器。引入动态响应指数收敛参数,使得控制器在保证系统稳定的同时跟踪误差收敛速率可调。在飞行包线内选择一系列设计点,以油门杆角度(PLA)表征发动机功率水平,每隔5°选取一个PLA作为一个设计功率水平,针对从一个设计功率水平过渡到另一个设计功率水平的设计阶跃过程,采用递进法设计分散鲁棒跟踪控制器。采用线性插值的方法调度非设计阶跃过程分散鲁棒跟踪控制器参数。针对某型涡扇发动机部件级模型进行仿真,仿真结果验证了控制方法的有效性。

基于截断误差的改进脉冲星导航观测方程
许强, 王宏力, 何贻洋, 由四海, 冯磊
2018, 44(9): 1974-1981. doi: 10.13700/j.bh.1001-5965.2017.0807
摘要:

针对X射线脉冲星导航中,传统的扩展卡尔曼滤波(EKF)算法因为线性化需要从而忽略观测模型高阶项导致较大截断误差的问题,提出一种适用于脉冲星导航的改进线性观测方程。首先,详细分析了观测方程简化过程中会造成截断误差的周年视差效应及引力延迟效应的物理意义,介绍了2个高阶项的数学模型,并对2项进行了详细的数值分析。其次,利用泰勒展开等方式,将2个高阶项进行线性化处理,建立一种改进的线性观测方程。最后,利用地球卫星轨道数据,将2个线性观测方程分别应用到脉冲星导航的EKF解算中验证改进线性观测方程的有效性。结果表明,在考虑高阶项影响的条件下,改进的线性观测方程均能保证250 m和2 m/s以内的位置和速度估计误差而且对高阶项变化表现出一定的鲁棒性,但传统的简化线性观测方程却会导致发散。

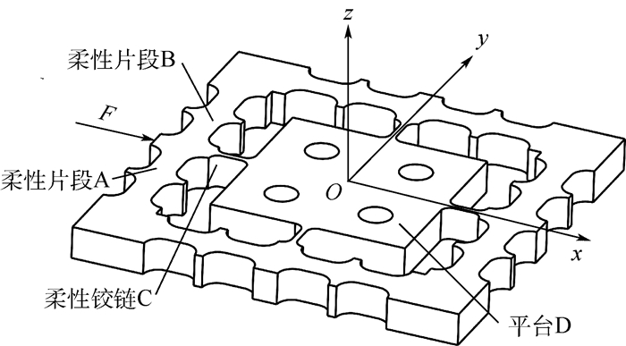
基于柔性铰链的二自由度微动平台分析及优化
周睿, 周辉, 桂和利, 董虎, 曹毅
2018, 44(9): 1982-1990. doi: 10.13700/j.bh.1001-5965.2017.0706
摘要:

为改进微动平台的动态特性,提出了一种解耦的基于柔性铰链的二自由度微动平台。首先,综合考虑倒圆角直梁型柔性铰链与微动平台的结构特点,设计了一种新型的二自由度微动平台; 其次,推导了该微动平台的等效刚度计算模型,并通过理论计算与有限元仿真分析对比,验证了理论模型的正确性; 同时探讨了各结构参数对微动平台等效刚度的影响,并进行了灵敏度对比和分析; 再次,以提高二自由度微动平台的等效刚度为目标,建立了其优化设计模型,并采用自适应粒子群优化算法对该微动平台的主要结构参数进行了优化。最后,理论计算了该微动平台的固有频率,并通过有限元仿真分析验证了其正确性。上述分析证明了该机构的可行性及有效性。

基于构形平面的冗余机械臂轨迹规划方法
王安琪, 魏延辉, 韩寒, 徐丽学
2018, 44(9): 1991-1997. doi: 10.13700/j.bh.1001-5965.2017.0746
摘要:

针对冗余机械臂在空间轨迹规划过程中构形多样但不唯一的问题,提出了一种快速求解冗余机械臂在空间轨迹规划过程中的最优构形的方法。受机械臂关节约束和空间障碍的限制,冗余机械臂的轨迹规划是一个复杂的过程。而为了保证机械臂运动的平稳性,冗余机械臂工作构形由多个机械臂关节轴线依次连接形成的构形平面组成。从构形平面入手,利用空间几何的方法,对冗余机器人进行空间轨迹规划,通过空间矢量引导、避障路径的比较,快速找到空间优化的路径,实现多目标轨迹规划方法。该方法用于一个7自由度冗余机械臂,结果表明该技术能够快速直观解决路径规划问题,不依赖具体的机械臂工作构形,适用于更多自由度的冗余机械臂。

基于改进相关向量机的锂电池寿命预测方法
王春雷, 赵琦, 秦孝丽, 冯文全
2018, 44(9): 1998-2003. doi: 10.13700/j.bh.1001-5965.2018.0181
摘要:

锂电池具有轻便安全、循环寿命长和安全性能好等优点,作为一个被广泛应用的储能电源,锂电池健康管理和寿命预测是国内外研究的热点。建立锂电池寿命预测方法和模型,基于实验历史数据,建立电池衰减模型从而对整个电池的工作状态进行评估,及时对设备进行维护和替换,以确保电池工作的稳定。对相关向量机(RVM)的核函数进行了组合改进,优化了RVM的性能,减小了锂电池寿命预测的偏差度,提高了预测精度。

基于HCKS-EM的战斗机蛇形机动目标跟踪算法
卢春光, 周中良, 刘宏强, 寇添, 杨远志
2018, 44(9): 2004-2012. doi: 10.13700/j.bh.1001-5965.2018.0047
摘要:

针对有色量测噪声背景下战斗机蛇形机动模式转弯角速度辨识问题,考虑到目标状态与转弯角速度之间相互耦合的特性,基于期望最大化(EM)算法框架,提出了一种带有色量测噪声的联合估计与辨识算法。通过采用量测差分法实现了有色噪声白化,从而将有色量测噪声背景下的转弯角速度辨识问题转换成具有一步状态延迟的转弯角速度辨识问题。基于EM算法实现了战斗机蛇形机动目标状态与转弯角速度的联合估计与辨识:在E-step,通过利用有色量测噪声背景下的高阶容积卡尔曼平滑(HCKS)算法,获得了目标状态的后验估计;在M-step,通过极大化条件似然函数,进而获得转弯角速度的解析解。通过仿真验证了本文算法的目标状态估计与角速度辨识的精度均优越于传统的扩维法以及交互多模型法。而且又从窗口长度以及最大迭代次数2个方面评估分析了算法的性能,仿真结果表明,窗口长度以及最大迭代次数越大,精度越高。

基于本征正交分解的平流层风场建模与预测
李魁, 邓小龙, 杨希祥, 侯中喜, 周新
2018, 44(9): 2013-2020. doi: 10.13700/j.bh.1001-5965.2017.0685
摘要:

平流层风场环境对临近空间低动态飞行器设计和轨迹控制具有重要影响。针对平流层风场建模,提出一种基于本征正交分解(POD)的风场数据降阶方法,在此基础上,提出一种可以对平流层风场进行预测的Fourier模型。以长沙地区2005—2009年风场为例,采用提出的POD方法与Fourier预测模型对风场进行建模与预测,并对Fourier预测精度进行分析。研究结果表明,采用POD方法可以对东西方向风场进行高效率高精度降阶建模;通过Fourier预测模型可以对东西方向风场进行准确预测,预测精度与实际风场随时间变化的规律性有关,风场数据越紧凑,周期性越明显,预测精度越高。

常见问答